Скачать Инструкция по изготовлению кривых методом холодного гнутья из прямошовных труб диаметром 720 - 1020 ммДата актуализации: 01.01.2021 |
| Статус: | действует |
| Название рус.: | Инструкция по изготовлению кривых методом холодного гнутья из прямошовных труб диаметром 720 - 1020 мм |
| Дата добавления в базу: | 01.09.2013 |
| Дата актуализации: | 01.01.2021 |
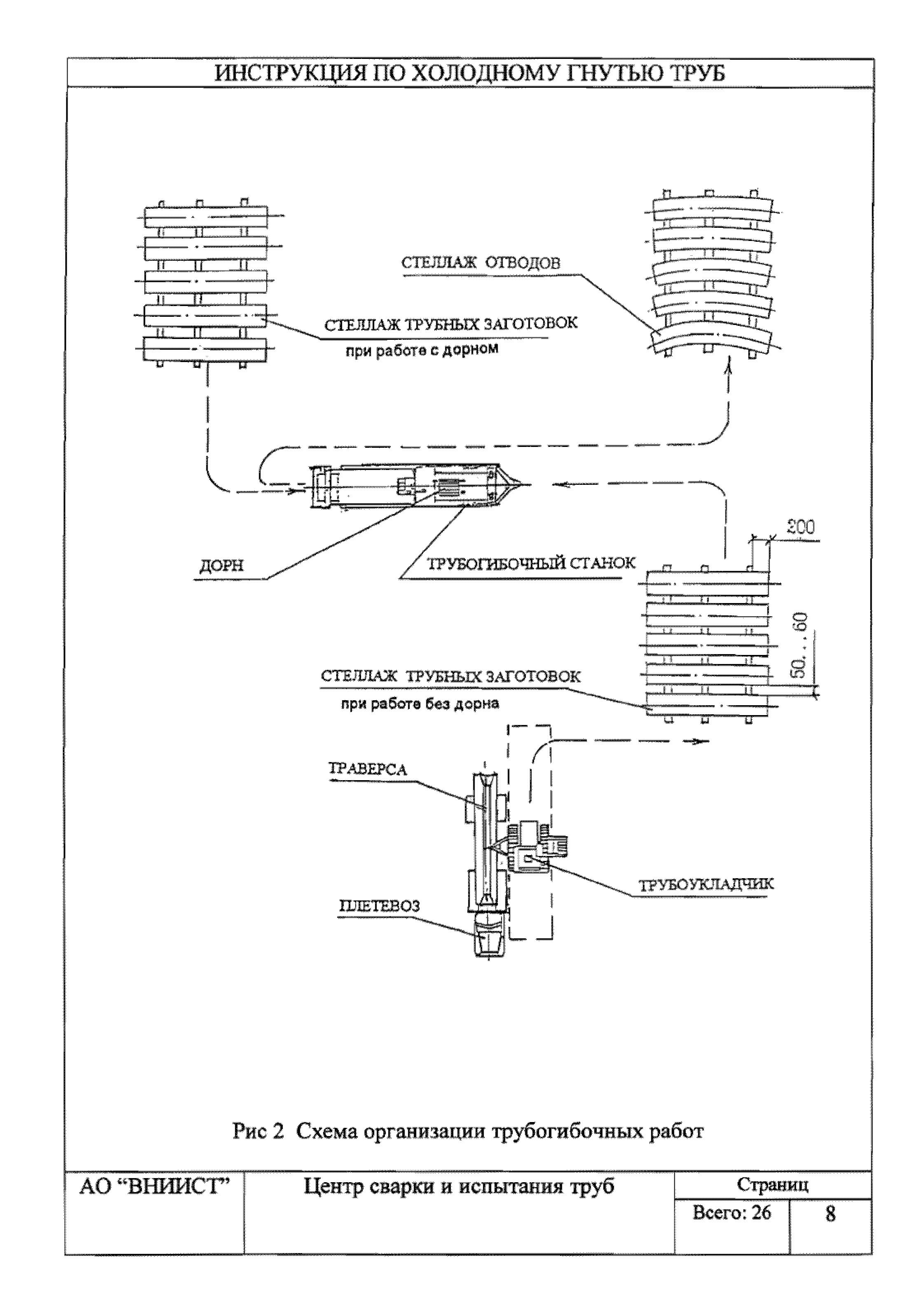
| Область применения: | Инструкция распространяется на изготовление кривых холодной гибки из прямошовных труб диаметрами 720 - 1020 мм из сталей классов прочности до К 60 (Х 70) на трубогибочных станках ГТ, предназначенных для горизонтальных и вертикальных поворотов линейной части стальных магистральных трубопроводов и ответвлений от них. |
| Оглавление: | 1. Общие положения 2. Требования к трубам для изготовления гнутых отводов 3. Организация трубогибочных работ 4. Состав и устройство трубогибочного станка 5. Подготовка к работе и порядок производства трубогибочных работ 6. Гнутье изолированных труб 7. Требования к качеству, контроль, приемка, маркировка и порядок оформления документации на отводы холодного гнутья 8. Машины, механизмы, приспособления и инвентарь для производства трубогибочных работ 9. Техника безопасности при производстве трубогибочных работ Список литературы Приложение 1. Образец ведомости результатов освидетельствования труб и отводов |
| Разработан: | АО ВНИИСТ |
| Утверждён: | 24.10.2002 АО ВНИИСТ (VNIIST AO ) |
| Принят: | 24.10.2002 ЗАО Газкомплект |
| Нормативные ссылки: |
|

























