Скачать Серия ИИ-03-04 Альбом 90. Блоки наружных и внутренних стен и гипсобетонные перегородкиДата актуализации: 01.01.2021
|
| Обозначение: | Серия ИИ-03-04 |
| Обозначение англ: | Series ИИ-03-04 |
| Статус: | действует |
| Название рус.: | Альбом 90. Блоки наружных и внутренних стен и гипсобетонные перегородки |
| Дата добавления в базу: | 01.09.2013 |
| Дата актуализации: | 01.01.2021 |
| Дата введения: | 19.04.1966 |
| Область применения: | Чертежи изделий предназначены для обязательного применения при проектировании и строительстве жилых зданий и для производства этих изделий предприятиями строительной промышленности |
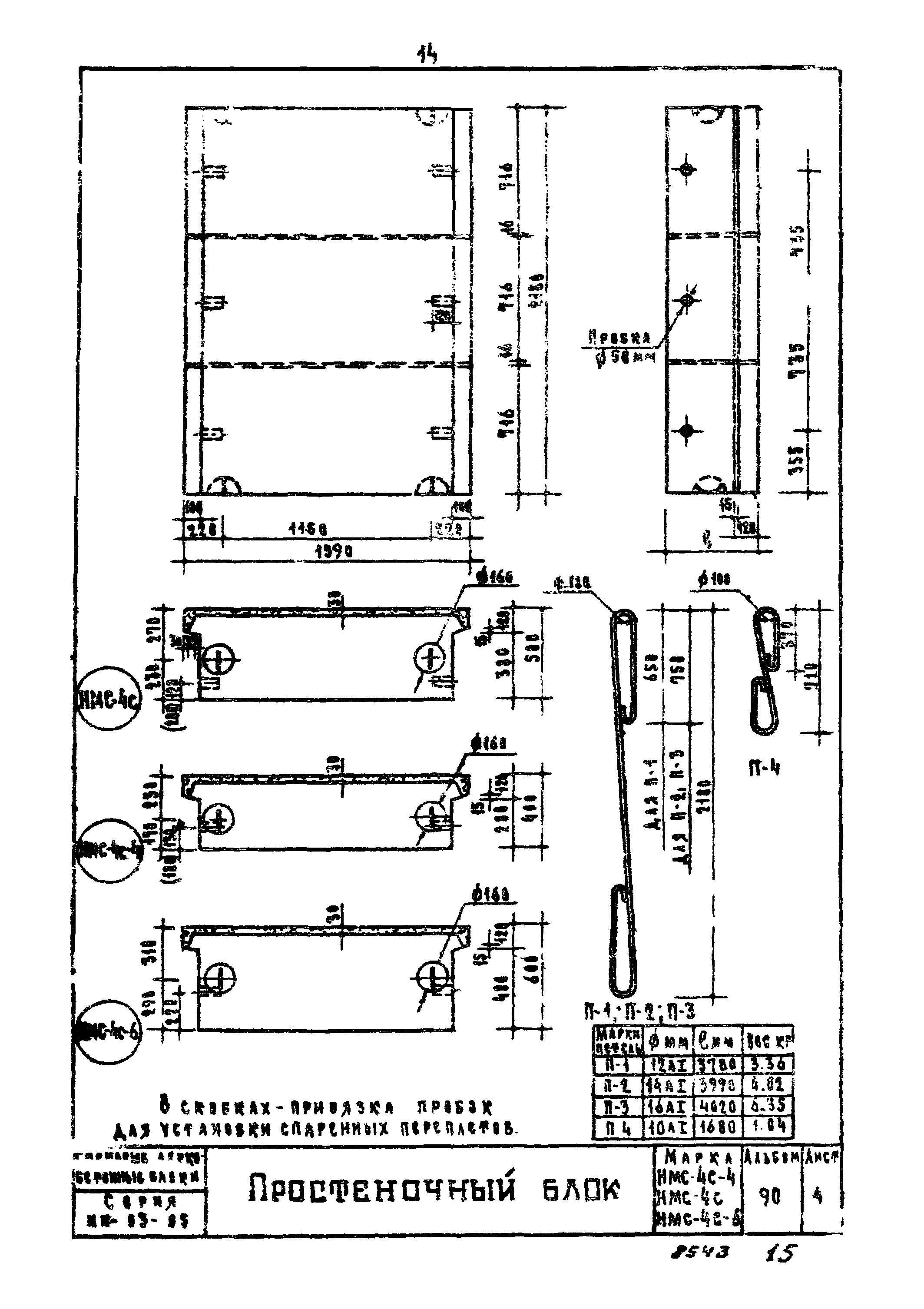
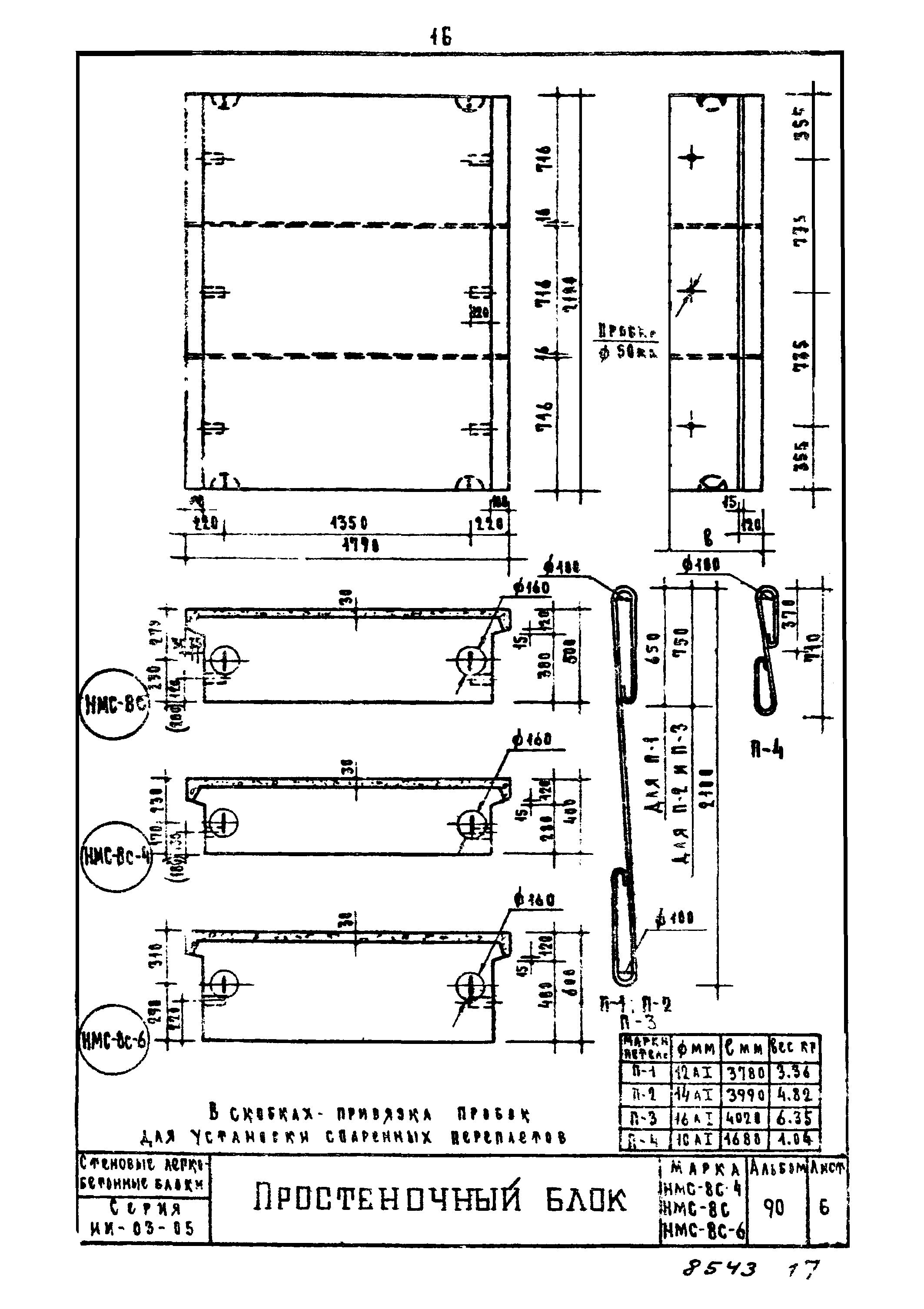
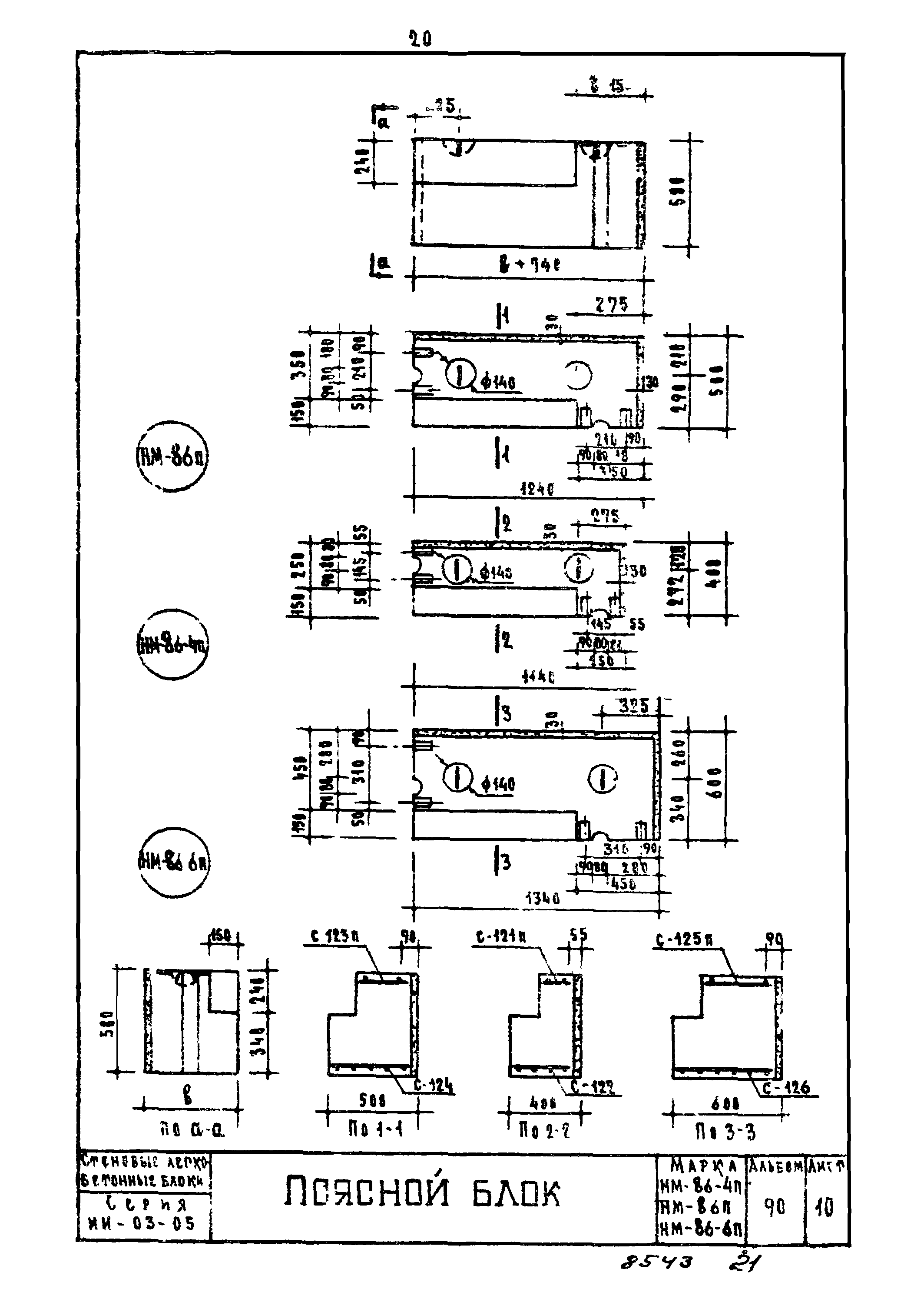
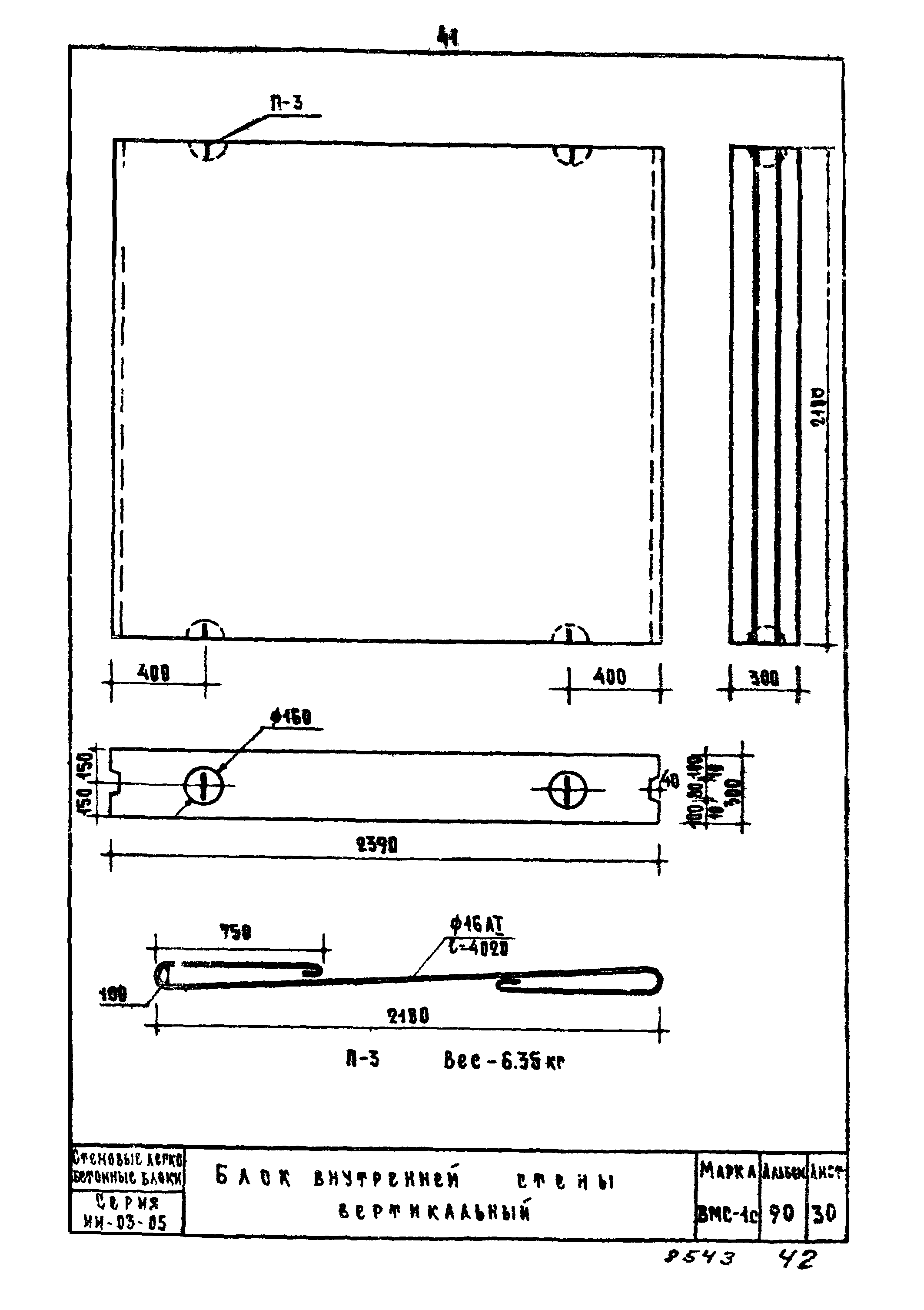
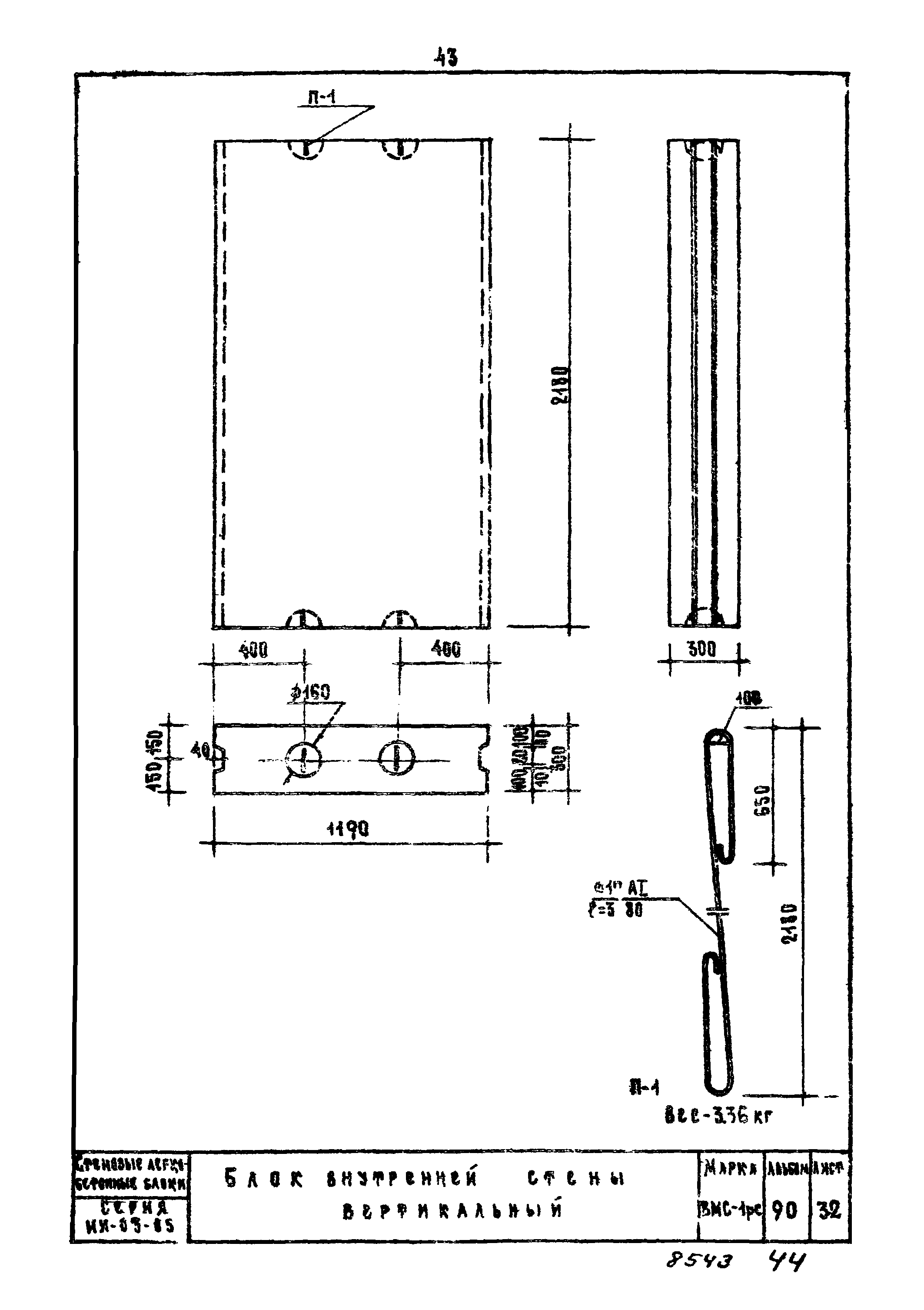
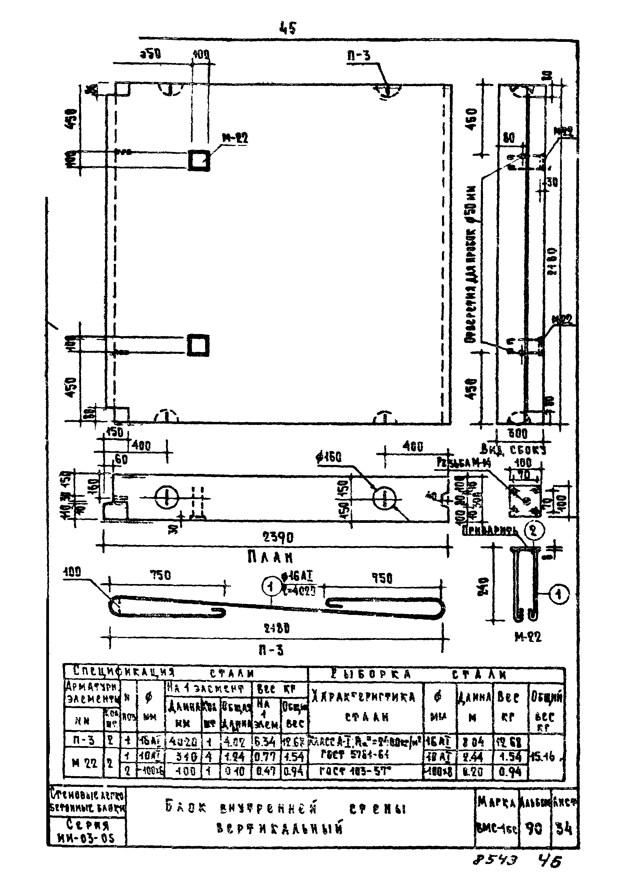
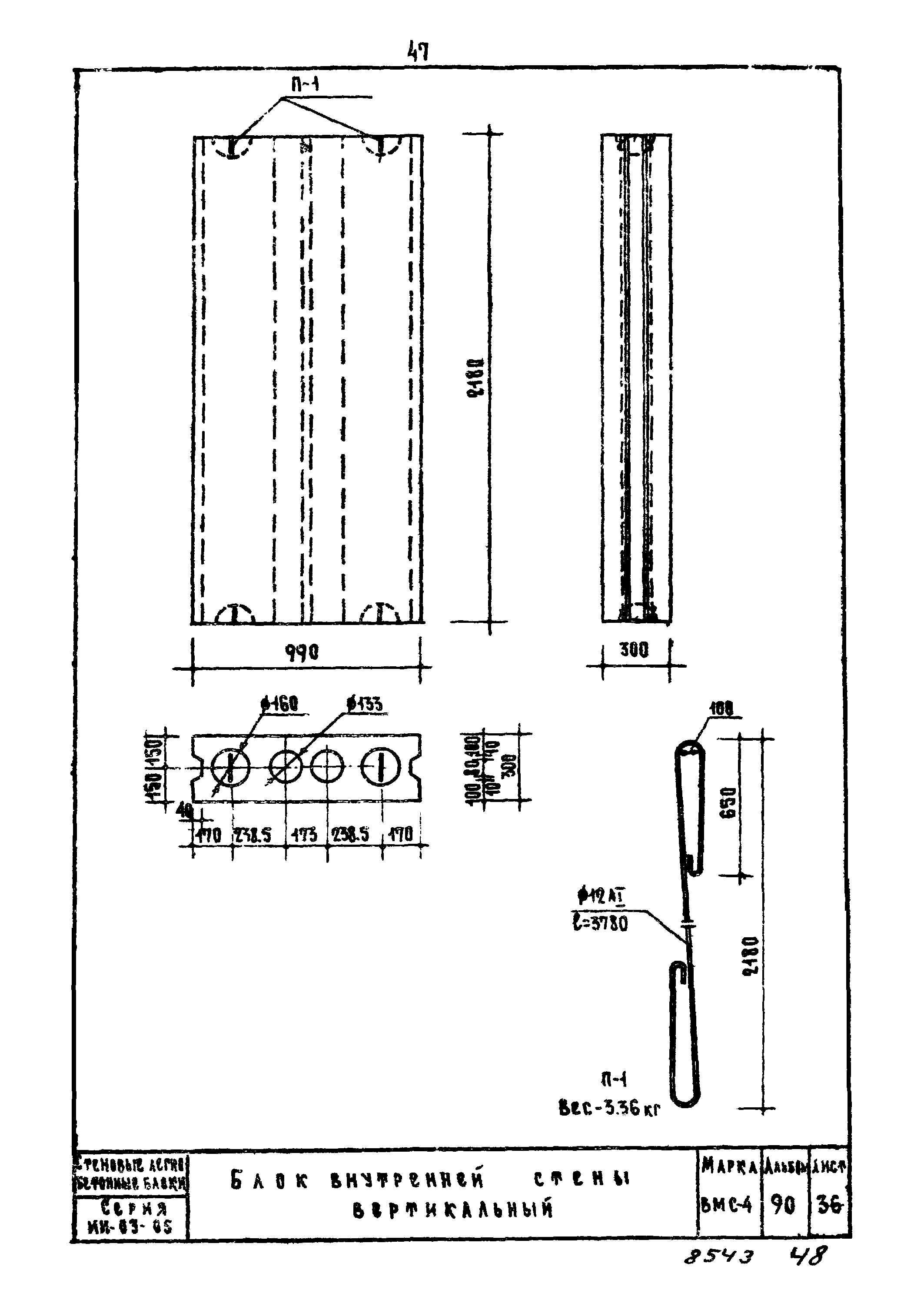
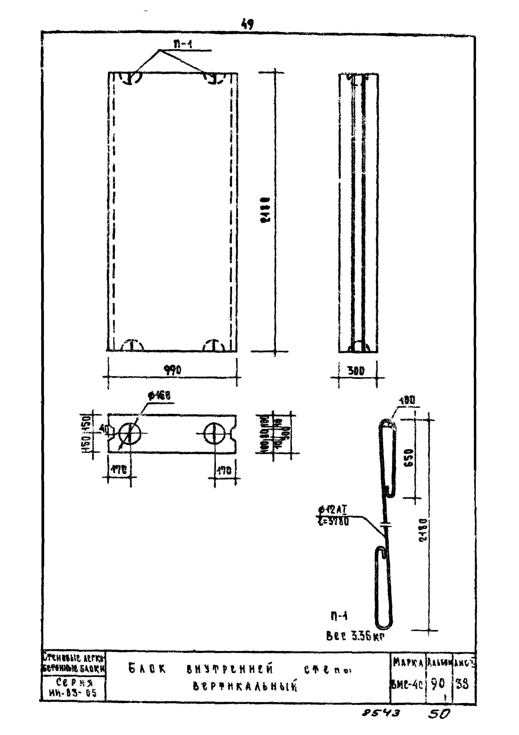
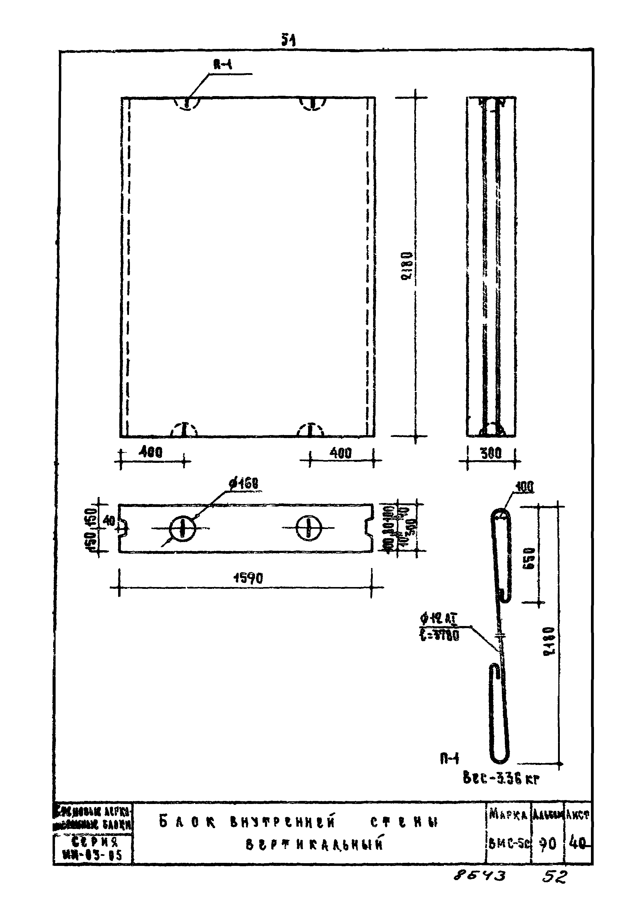
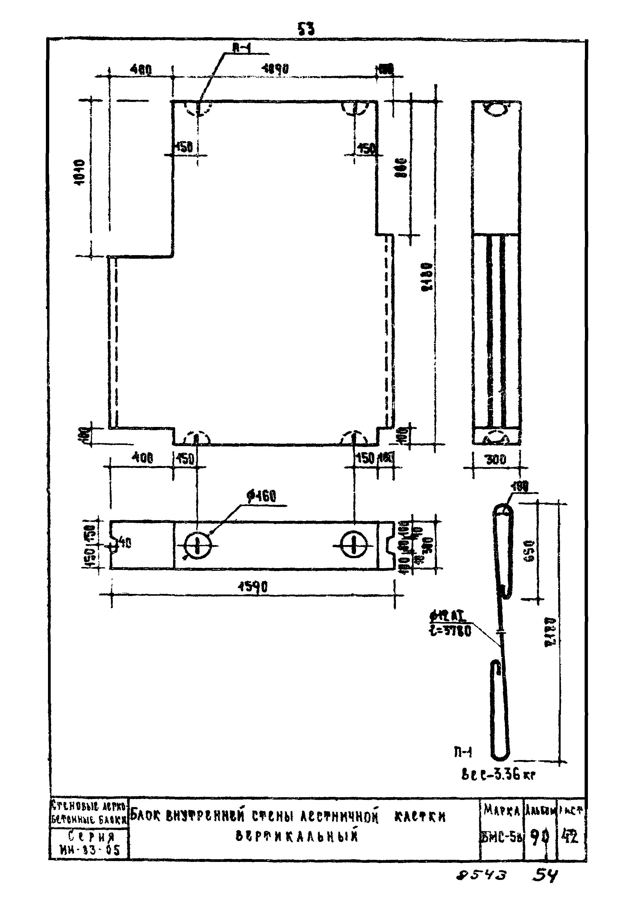
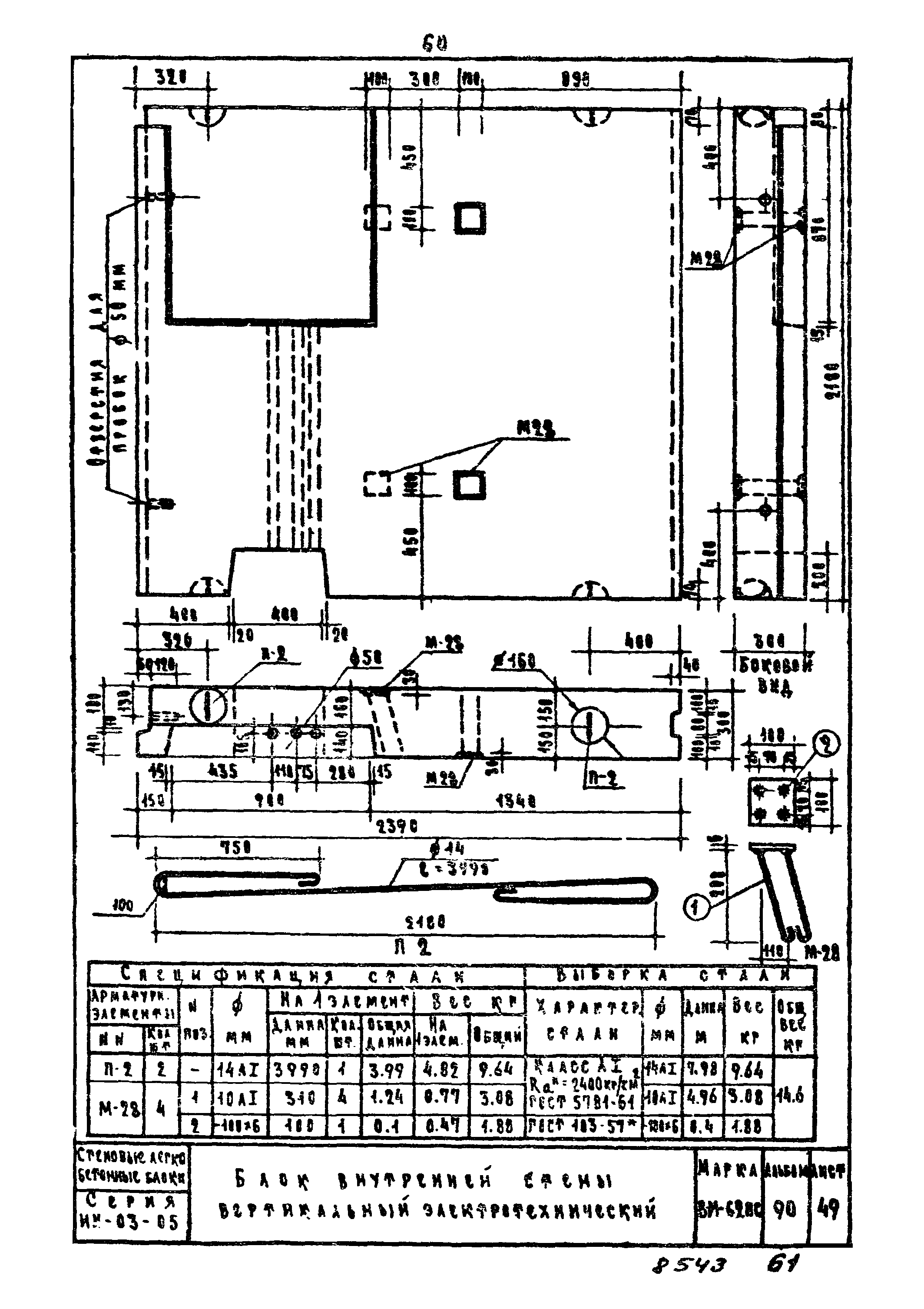
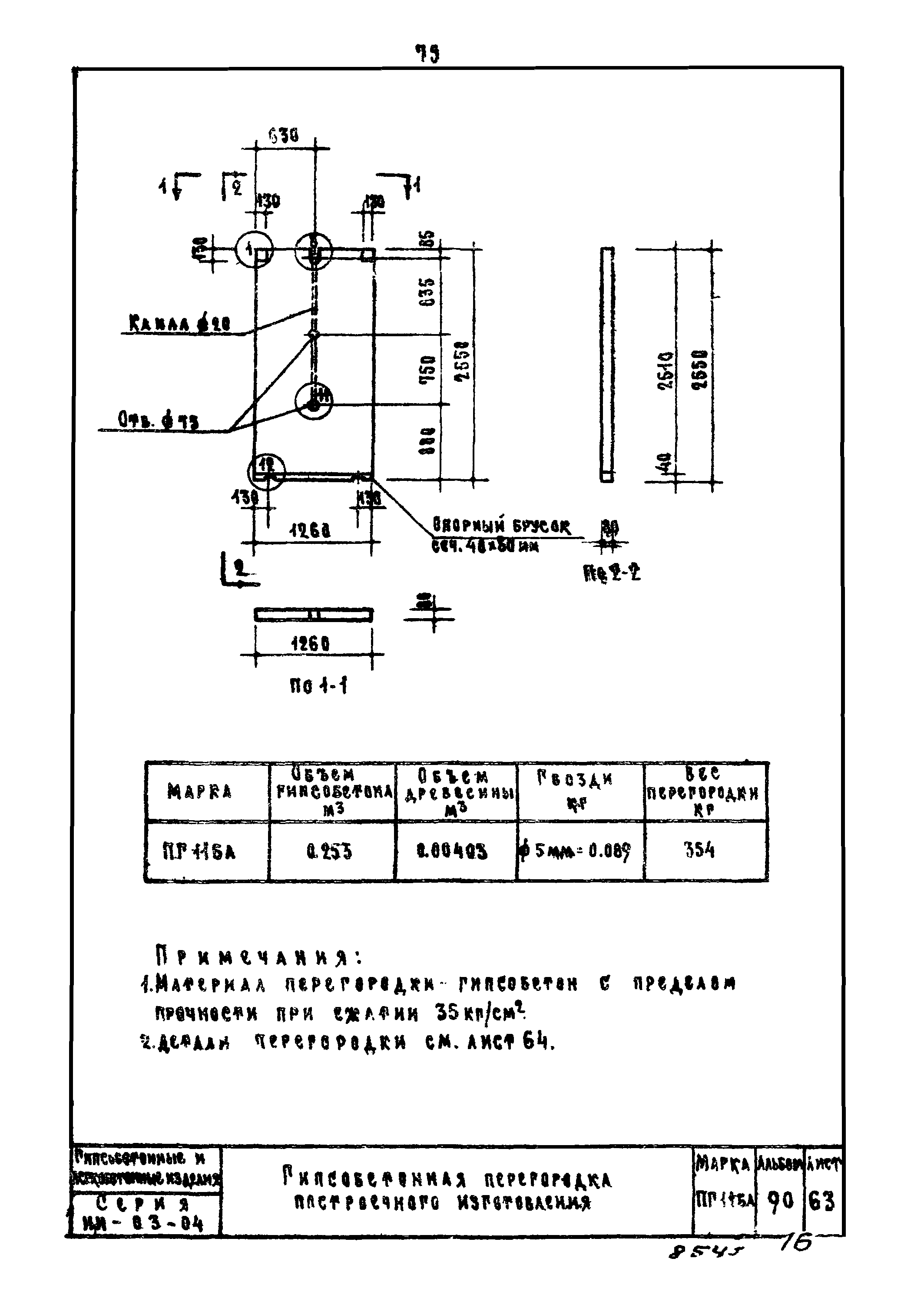
| Оглавление: | Содержание Пояснительная записка Блоки наружных стен Простеночные блоки Поясные блоки Цокольные балки Парапетные блоки Блоки внутренних стен Вертикальные блоки Вертикальный блок лестничной клетки Вертикальный блок для лифта Вентиляционный блок Электротехнический блок Горизонтальный блок Горизонтальный блок лестничной клетки Горизонтальный блок (перемычка) Сантехнический блок Гипсобетонные перегородки Гипсобетонная перегородка заводского изготовления Гипсобетонная перегородка построечного изготовления Деревянный реечный каркас. Детали перегородок |
| Разработан: | ЦНИИЭП жилища |
| Утверждён: | 19.04.1966 Государственный комитет по гражданскому строительству и архитектуре при Госстрое СССР (57) |
| Нормативные ссылки: |
|













































































