Скачать Р 18-76/НИИЖБ Рекомендации по определению неплоскостности и неперпендикулярности граней контрольных образцов бетонаДата актуализации: 01.01.2021
|
| Обозначение: | Р 18-76/НИИЖБ |
| Обозначение англ: | R 18-76/НИИЖБ |
| Статус: | не действует |
| Название рус.: | Рекомендации по определению неплоскостности и неперпендикулярности граней контрольных образцов бетона |
| Дата добавления в базу: | 01.09.2013 |
| Дата актуализации: | 01.01.2021 |
| Область применения: | Документ содержит основные положения по определению неплоскостности и неперпендикулярности граней контрольных образцов бетона по которым определяется его прочность. |
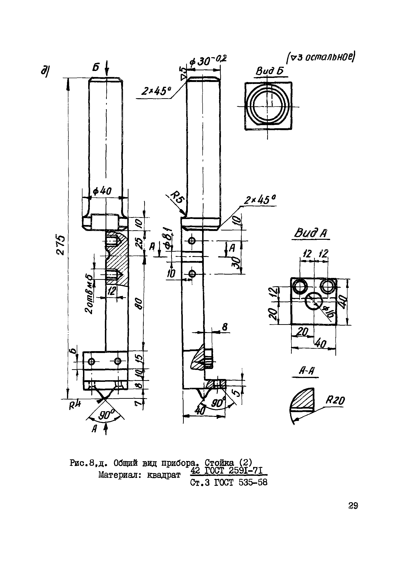
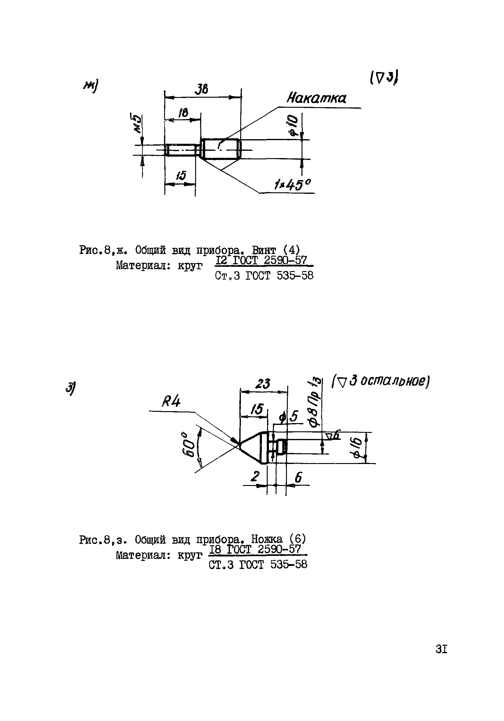
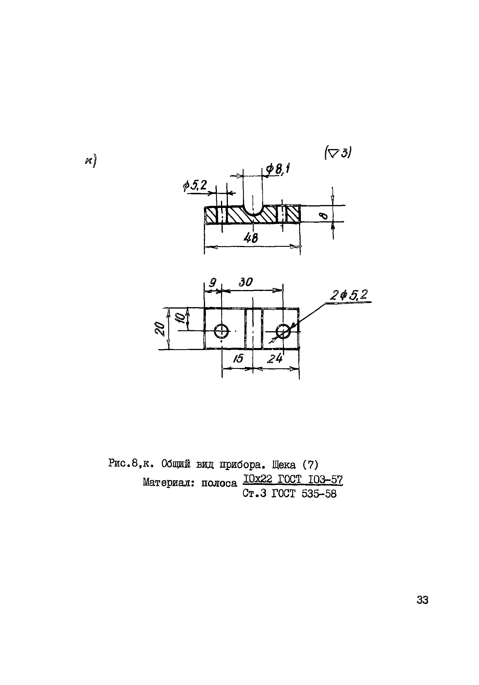
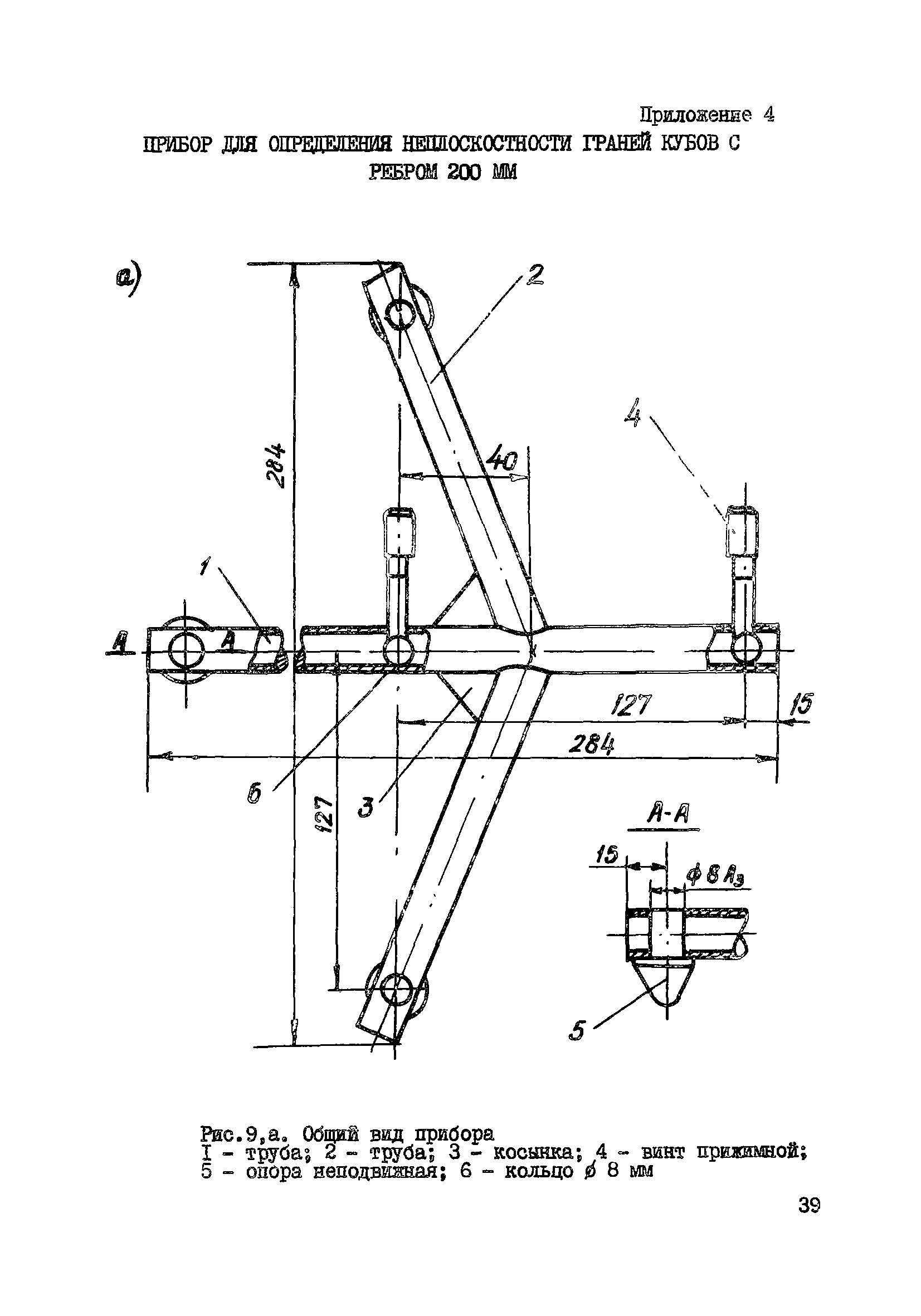
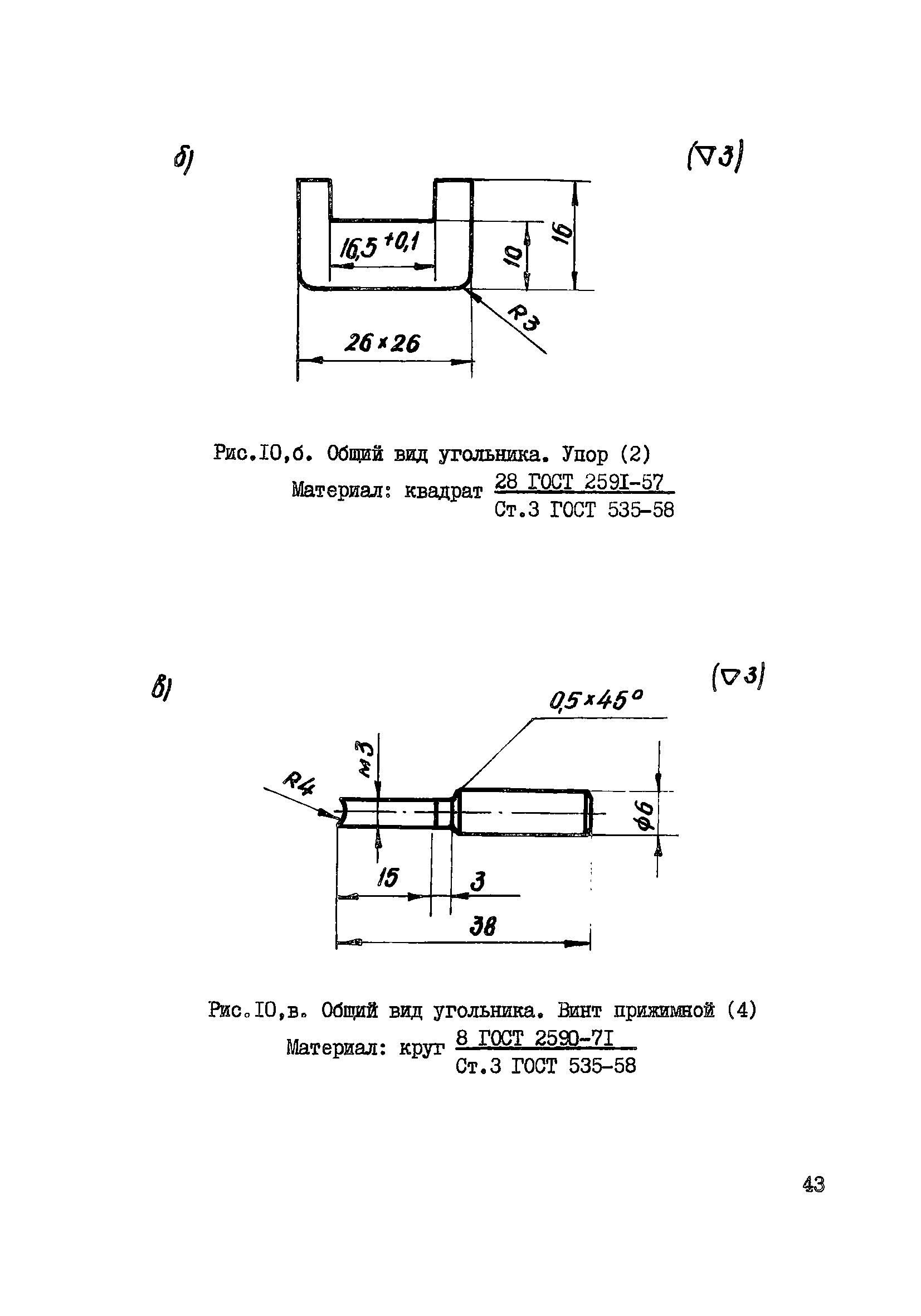
| Оглавление: | Предисловие 1. Общие положения 2. Определение неплоскостности и неперпендикулярности граней кубов с ребрами 100 и 150 мм 3. Определение неплоскостности и неперпендикулярности граней кубов с ребрами 200 и 300 мм 4. Определение неплоскостности и неперпендикулярности граней цилиндров и призм Приложение 1.Примеры обработки результатов измерений кубов с ребрами 100 и 150 мм Приложение 2. Примеры обработки результатов измерений кубов с ребром 200 мм Приложение 3. Прибор для определения неплоскостности и неперпендикулярности граней кубов с ребрами 100 и 150 мм Приложение 4. Прибор для определения неплоскостности граней кубов с ребром 200 мм Приложение 5. Угольник для определения неперпендикулярности граней кубов с ребрами 200 и 300 мм |
| Разработан: | НИИЖБ Госстроя СССР |
| Утверждён: | 10.10.1977 НИИЖБ Госстроя СССР (NIIZhB, USSR Gosstroy ) |
| Нормативные ссылки: |
|













































