Скачать Типовой проект 902-2-471.89 Альбом 8. Нестандартизированное оборудование. Регулятор выпуска осадка с электроприводомДата актуализации: 01.01.2021
|
| Обозначение: | Типовой проект 902-2-471.89 |
| Обозначение англ: | 902-2-471.89 |
| Статус: | не определен законодательством |
| Название рус.: | Альбом 8. Нестандартизированное оборудование. Регулятор выпуска осадка с электроприводом |
| Дата добавления в базу: | 01.09.2013 |
| Дата актуализации: | 01.01.2021 |
| Дата введения: | 12.05.1989 |
| Дата окончания срока действия: | 30.06.2003 |
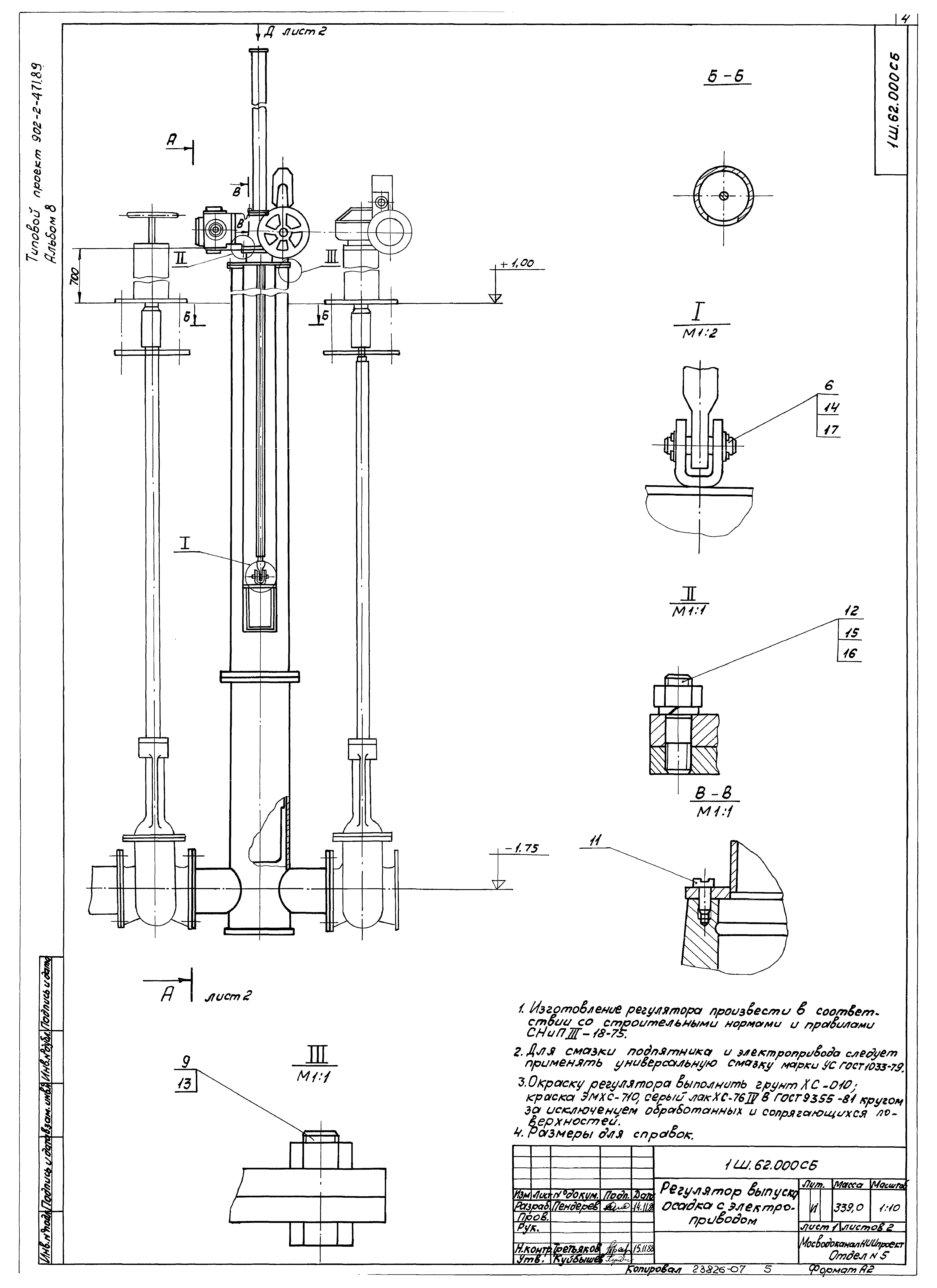
| Оглавление: | Титульный лист Содержание альбома 1Ш.62.000СБ Регулятор выпуска осадка с электроприводом 1Ш.62.000ВП Ведомость покупных изделий 1Ш.62.000 Регулятор выпуска осадка с электроприводом. Спецификация 1Ш.62.000СБ Регулятор выпуска осадка с электроприводом 1Ш.62.100СБ Колпак 1Ш.62.100 Колпак. Спецификация 1Ш.62.101 Фланец 1Ш.62.200СБ Подпятник 1Ш.62.200 Подпятник. Спецификация 1Ш.62.210СБ Основание 1Ш.62.210 Основание. Спецификация 1Ш.62.211 Плита 1Ш.62.220 Корпус. Спецификация 1Ш.62.221 Бобышка 1Ш.62.220СБ Корпус 1Ш.62.222 Обечайка 1Ш.62.223 Фланец 1Ш.62.224 Фланец 1Ш.62.201 Втулка кулачковая 1Ш.62.202 Кольцо 1Ш.62.203 Гайка 1Ш.62.300СБ Направляющая 1Ш.62.300 Направляющая. Спецификация 1Ш.62.301 Фланец 1Ш.62.302 Патрубок 1Ш.62.400 Корпус. Спецификация 1Ш.62.400СБ Корпус 1Ш.62.401 Патрубок 1Ш.62.500 Водослив подвижной. Спецификация 1Ш.62.501 Стенка боковая 1Ш.62.500СБ Водослив подвижной 1Ш.62.502 Обечайка 1Ш.62.002 Штанга винтовая 1Ш.62.503 Ушко 1Ш.62.504 Пластина 1Ш.62.505 Порог 1Ш.62.001 Ось |
| Разработан: | МосводоканалНИИпроект |
| Утверждён: | 28.04.1989 Мосгорисполком (Mosgorispolkom 890р) |


















