Скачать Рекомендации по технологии приварки втавр под флюсом стержней и оцинкованного профилированного настила к стальным конструкциямДата актуализации: 01.01.2021 |
| Статус: | действует |
| Название рус.: | Рекомендации по технологии приварки втавр под флюсом стержней и оцинкованного профилированного настила к стальным конструкциям |
| Дата добавления в базу: | 01.09.2013 |
| Дата актуализации: | 01.01.2021 |
| Область применения: | Документ содержит основные положения по технологии монтажной электродуговой сварки под флюсом тавровых соединений арматурных стержней и стальных конструкций, на поверхности которых уложен оцинкованный стальной профилированный настил. Рекомендации предназначены для проектировщиков, инженерно-технических работников строительных организаций, мастеров, рабочих—сварщиков, а также служб контроля качества. |
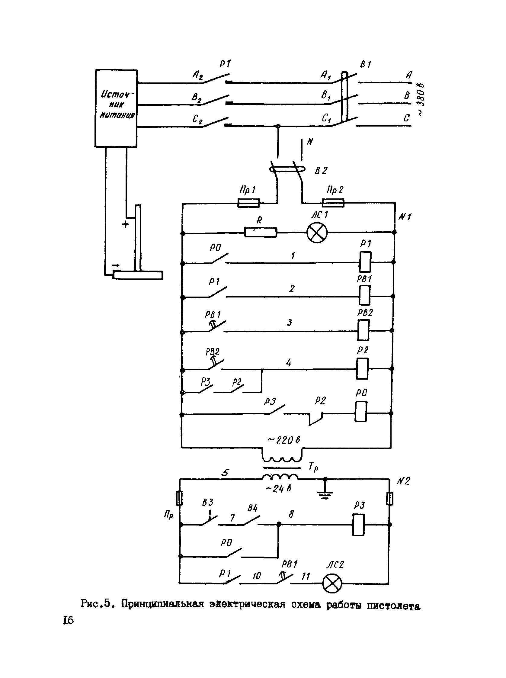
| Оглавление: | Предисловие 1 Общие положения и область применения 2 Конструктивные элементы соединений и материалы 3 Технология сварки 4 Оборудование для сварки 5 Подготовка к сварки 6 Режим сварки 7 Контроль качества сварных сседикений Приложение. Пистолет для сварки под флюсом тавровых соединений стержней и оцинкованного профилированного настила к стальным конструкциям в монтажных условиях |
| Разработан: | НИИЖБ Госстроя СССР |
| Утверждён: | 20.06.1983 НИИЖБ Госстроя СССР (NIIZhB, USSR Gosstroy ) |
| Нормативные ссылки: |
|


















