Скачать Рекомендации по проектированию пространственных вентилируемых фундаментов на вечномерзлых грунтах

Дата актуализации: 01.01.2021

Рекомендации по проектированию пространственных вентилируемых фундаментов на вечномерзлых грунтах

Статус:действует
Название рус.:Рекомендации по проектированию пространственных вентилируемых фундаментов на вечномерзлых грунтах
Дата добавления в базу:01.09.2013
Дата актуализации:01.01.2021
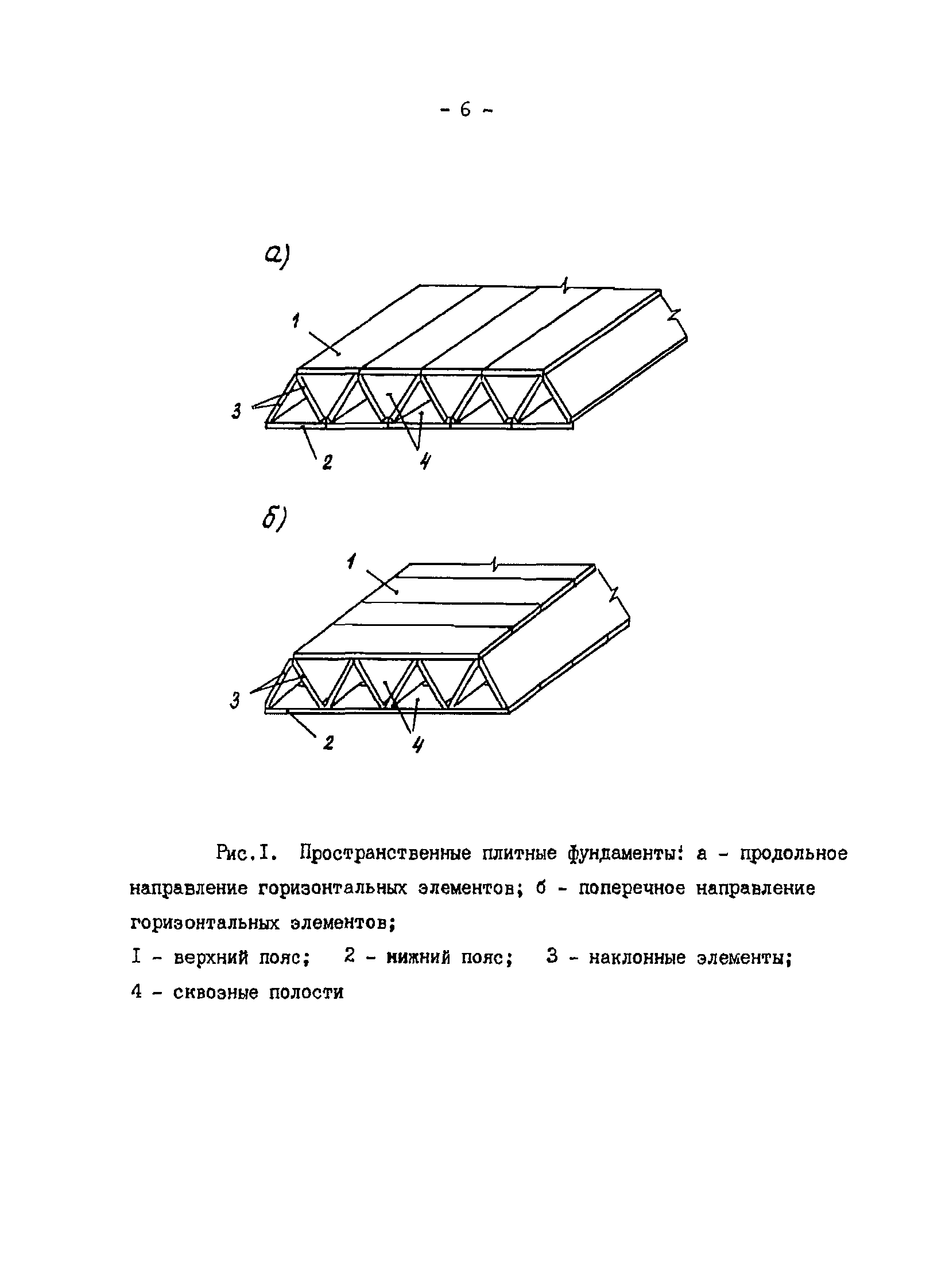
Область применения:Рекомендации содержат основные конструктивные решения пространственных вентилируемых фундаментов, возводимых в районах распространения вечномерзлых грунтов, принципы конструирования и расчеты оснований, требования к строительству и эксплуатации.
Оглавление:1. Общие положения
2. Конструкции фундаментов
3. Особенности проектирования оснований
4. Основные положения по расчету фундаментов
5. Эксплуатация вентилируемых пространственных фундаментов
Разработан: НИИОСП им. Н.М. Герсеванова Госстроя СССР
Красноярский ПромстройНИИпроект Минтяжстроя СССР
СибНИПИгазстрой
Утверждён: НИИОСП им. Н.М. Герсеванова Госстроя СССР (Gersevanov NIIOSP, USSR Gosstroy )
Нормативные ссылки: