Скачать Рекомендации по учету органических веществ в глинистых грунтах при проектировании основанийДата актуализации: 01.01.2021 |
| Статус: | не действует |
| Название рус.: | Рекомендации по учету органических веществ в глинистых грунтах при проектировании оснований |
| Дата добавления в базу: | 01.09.2013 |
| Дата актуализации: | 01.01.2021 |
| Область применения: | В Рекомендациях выделены генетические типы грунтов с органическими примесями предельно малой и малой степени литификации. Указаны методические особенности при исследовании свойств гумусированных и заторфованных грунтов, а также особенности проектирования и строительства на таких грунтах. Рекомендации могут быть использованы грунтовыми лабораториями и проектно-изыскательскими отделами при исследовании гумусированных и заторфованных грунтов как оснований сооружений |
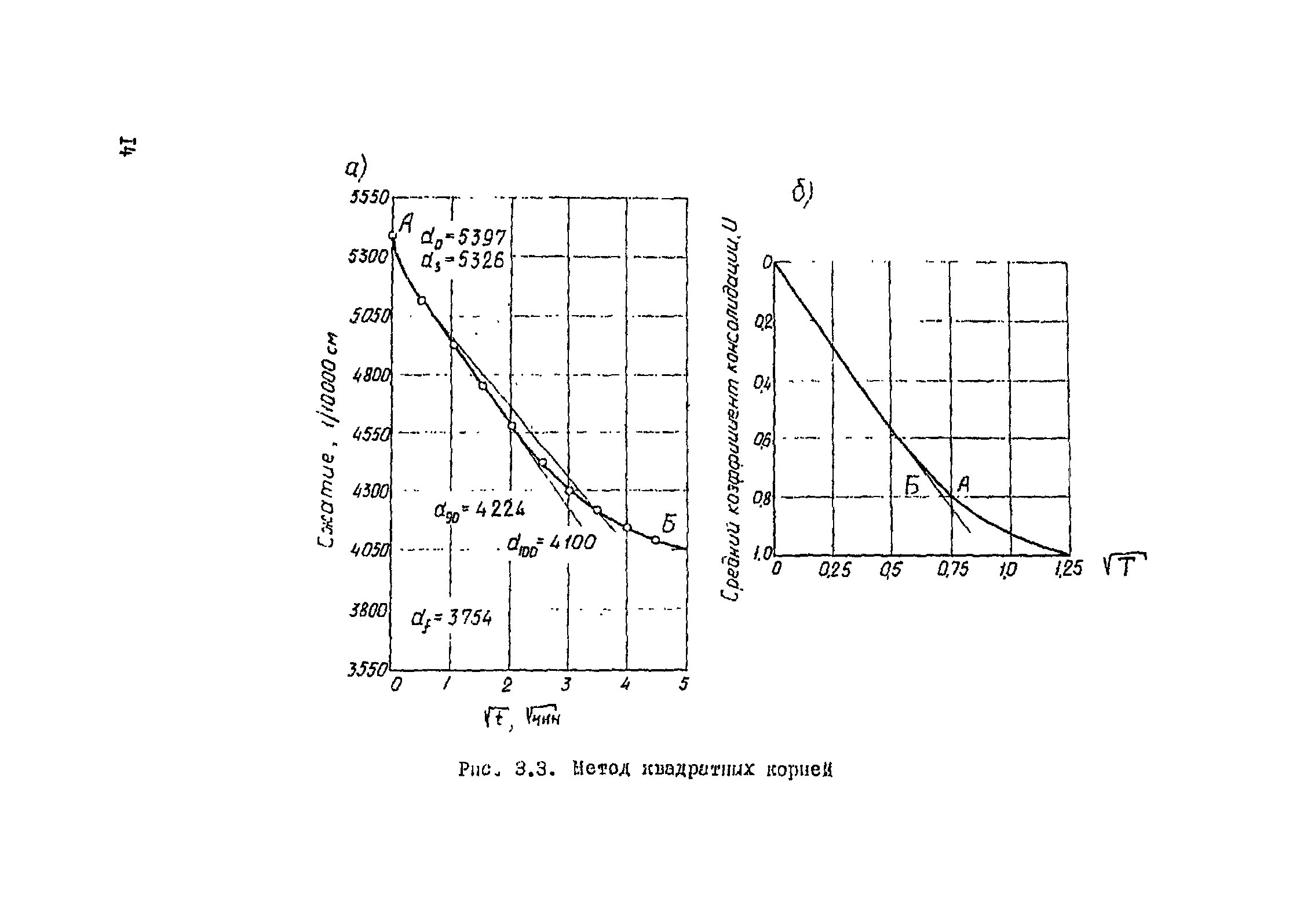
| Оглавление: | 1. Общие положения 2. Номенклатура грунтов 3. Методы исследования глинистых гумусированных и заторфованных грунтов 4. Свойства глинистых гумусированных и заторфованных грунтов и рекомендации по учету органических примесей при проектировании и строительстве Список литературы |
| Разработан: | НИИОСП им. Н.М. Герсеванова Госстроя СССР |
| Утверждён: | НИИОСП им. Н.М. Герсеванова Госстроя СССР (Gersevanov NIIOSP, USSR Gosstroy ) |
| Нормативные ссылки: |
|
































