Скачать СН 489-76 Временная инструкция по проектированию и монтажу патронной пневматической почтыДата актуализации: 01.01.2021
|
| Обозначение: | СН 489-76 |
| Обозначение англ: | SN 489-76 |
| Статус: | действует |
| Название рус.: | Временная инструкция по проектированию и монтажу патронной пневматической почты |
| Дата добавления в базу: | 01.09.2013 |
| Дата актуализации: | 01.01.2021 |
| Дата введения: | 01.01.1978 |
| Область применения: | Требования, предусмотренные Временной инструкцией, должны выполняться при проектировании и монтаже патронной пневматической почты (пневмопочты) для транспортирования по трубопроводам круглого сечения документации, фотопленок и других небьющихся предметов во вновь строящихся, реконструируемых и существующих производственных и вспомогательных зданиях и помещениях предприятий, а также в общественных зданиях. |
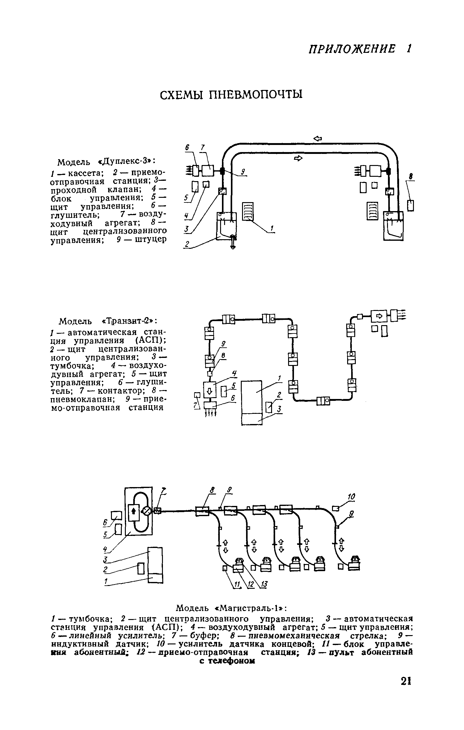
| Оглавление: | 1. Общие указания 2. Проектирование пневмопочты Конструктивные решения Размещение узлов и агрегатов Пневматический расчет трассы трубопроводов Сети связи, управления и электропитания Материалы, узлы и агрегаты 3. Монтаж пневмопочты Подготовительные работы Монтажные работы Испытание, контроль качества и приемка работ Приложение 1. Схемы пневмопочты Приложение 2. Параметры пневмопочты. Техническая характеристика пневмопочты Приложение 3. Пример проверочного пневматического расчета трубопровода Приложение 4. Значения коэффициентов местных сопротивлений для моделей пневмопочты Приложение 5. Пример проверочного расчета потерь напряжения в сетях электропитания Приложение 6. Максимальные значения силы тока при работе абонентных комплектов, А Приложение 7. Максимальная потребляемая мощность, Вт, узлами и агрегатами Приложение 8. Марки кабелей и проводов, применяемых при сооружении пневмопочты, и способы их прокладки |
| Разработан: | ЦПКБМА (Центральное проектно-конструкторское бюро механизации и автоматизации) |
| Утверждён: | 14.12.1976 Госстрой СССР (Государственный комитет Совета Министров СССР по делам строительства) (USSR Gosstroy 210) |
| Издан: | Стройиздат (1977 г. ) |
| Нормативные ссылки: |
|
































