Скачать ГОСТ 8.601-2010 Государственная система обеспечения единства измерений. Давление насыщенных паров нефти и нефтепродуктов. Методика измерений

Дата актуализации: 01.01.2021

ГОСТ 8.601-2010

Государственная система обеспечения единства измерений. Давление насыщенных паров нефти и нефтепродуктов. Методика измерений

Обозначение: ГОСТ 8.601-2010
Обозначение англ: GOST 8.601-2010
Статус:введен впервые
Название рус.:Государственная система обеспечения единства измерений. Давление насыщенных паров нефти и нефтепродуктов. Методика измерений
Название англ.:State system for ensuring the uniformity of measurements. Saturated vapours pressure of petroleum and petroleum products. Measurement procedure
Дата добавления в базу:01.10.2014
Дата актуализации:01.01.2021
Дата введения:01.01.2013
Область применения:Стандарт устанавливает методику выполнения измерений давления насыщенных паров (ДНП) нефти и нефтепродуктов (далее - продукты) в диапазоне от 10 до 160 кПа и интервале температур от 10 °С до 60 °С, при соотношении объемов паровой и жидкой фаз 4:1.
Оглавление:1 Область применения
2 Нормативные ссылки
3 Требования к погрешности измерений
4 Средства измерений, вспомогательные устройства и реактивы
5 Метод измерений
6 Требования безопасности и охраны окружающей среды
7 Требования к квалификации исполнителей
8 Условия измерений
9 Отбор проб
10 Подготовка к измерениям
11 Измерения
12 Обработка результатов измерений
13 Контроль точности результатов измерений
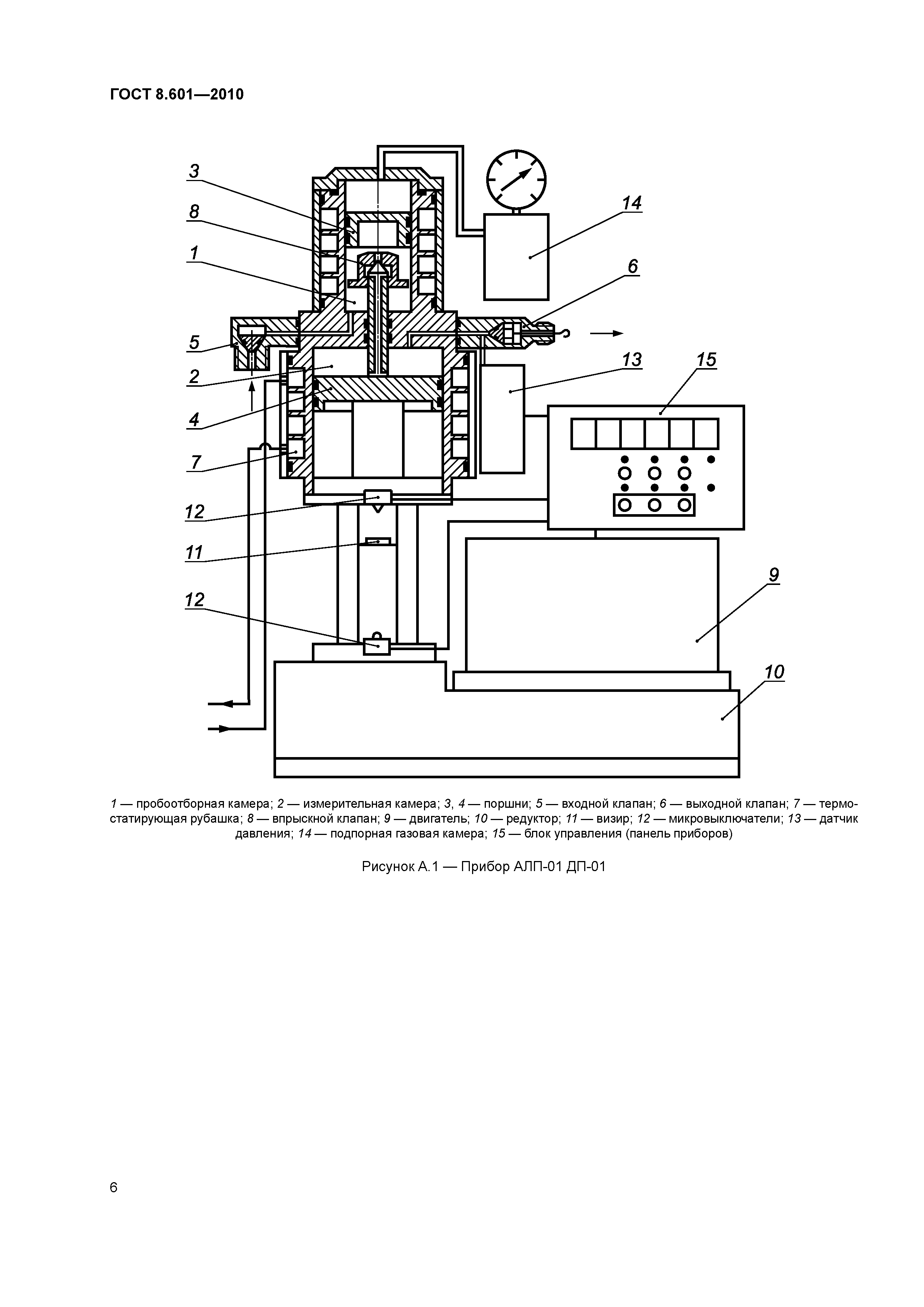
Приложение А (справочное) Описание прибора АЛП-01 ДП-01
Приложение Б (обязательное) Описание индивидуального пробоотборника ИП-3М
Приложение В (справочное) Расчет эквивалентного давления паров по Рейду
Библиография
Разработан: ФГУП ВНИИР
Утверждён:25.11.2010 Межгосударственный Совет по стандартизации, метрологии и сертификации (Inter-Governmental Council on Standardization, Metrology, and Certification 38)
13.12.2011 Федеральное агентство по техническому регулированию и метрологии (1056-ст)
Издан: Стандартинформ (2014 г. )
Стандартинформ (2019 г. )
Нормативные ссылки:
ГОСТ 8.601-2010ГОСТ 8.601-2010ГОСТ 8.601-2010ГОСТ 8.601-2010ГОСТ 8.601-2010ГОСТ 8.601-2010ГОСТ 8.601-2010ГОСТ 8.601-2010ГОСТ 8.601-2010ГОСТ 8.601-2010ГОСТ 8.601-2010ГОСТ 8.601-2010ГОСТ 8.601-2010ГОСТ 8.601-2010ГОСТ 8.601-2010