Скачать Рекомендации по расчету суффозионных деформаций оснований зданий и сооружений, возводимых на загипсованных грунтахДата актуализации: 01.01.2021
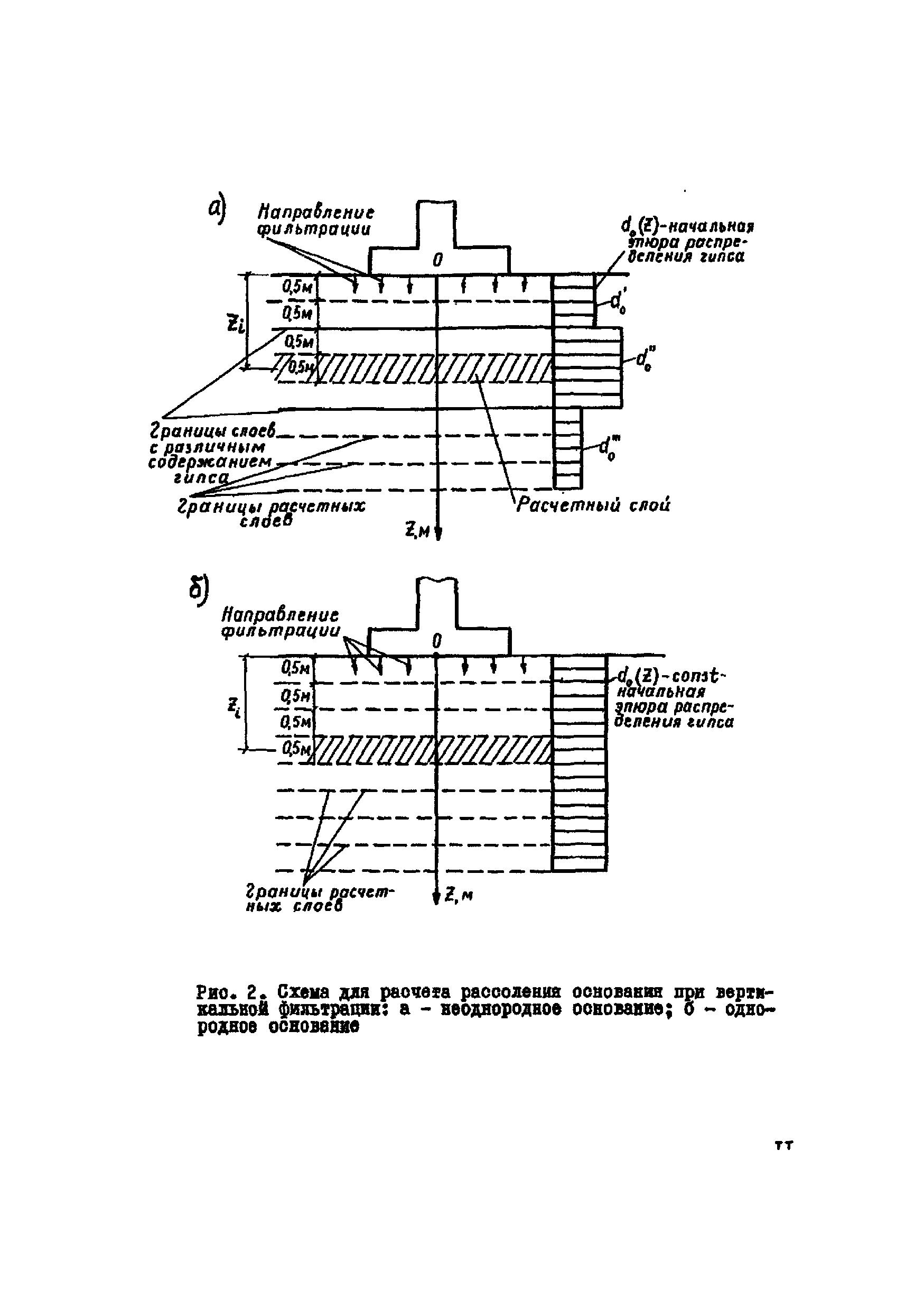
Рекомендации по расчету суффозионных деформаций оснований зданий и сооружений, возводимых на загипсованных грунтах| Статус: | действует | | Название рус.: | Рекомендации по расчету суффозионных деформаций оснований зданий и сооружений, возводимых на загипсованных грунтах | | Дата добавления в базу: | 01.09.2013 | | Дата актуализации: | 01.01.2021 | | Область применения: | Рекомендации распространяются на проектирование оснований, сложенных суглинками, супесями и песками, находящимися в естественных условиях в воздушно-сухом (необводненном) состоянии и содержащими гипс в любом количестве, а также примеси легкорастворимых солей в количестве не более 5 % | | Оглавление: | 1. Общие положения 2. Проведение расчета Приложение 1. Определение относительной суффозионной осадки и начального давления суффозионной осадки Приложение 2. Определение коэффициента растворения Приложение 3. Примеры расчета суффозионной осадки | | Разработан: | НИИОСП им. Н.М. Герсеванова Госстроя СССР
| | Утверждён: | НИИОСП им. Н.М. Герсеванова Госстроя СССР (Gersevanov NIIOSP, USSR Gosstroy )
| | Нормативные ссылки: | |
                         
|