Скачать ГОСТ Р ИСО 12164-4-2011 Крепление инструментов с полым коническим хвостовиком (HSK) типа Т. Присоединительные размерыДата актуализации: 01.01.2021
|
| Обозначение: | ГОСТ Р ИСО 12164-4-2011 |
| Обозначение англ: | GOST R ISO 12164-4-2011 |
| Статус: | введен впервые |
| Название рус.: | Крепление инструментов с полым коническим хвостовиком (HSK) типа Т. Присоединительные размеры |
| Название англ.: | Tool receiver for type T hollow taper shanks (HSK). Connecting dimensions |
| Дата добавления в базу: | 01.09.2013 |
| Дата актуализации: | 01.01.2021 |
| Дата введения: | 01.01.2013 |
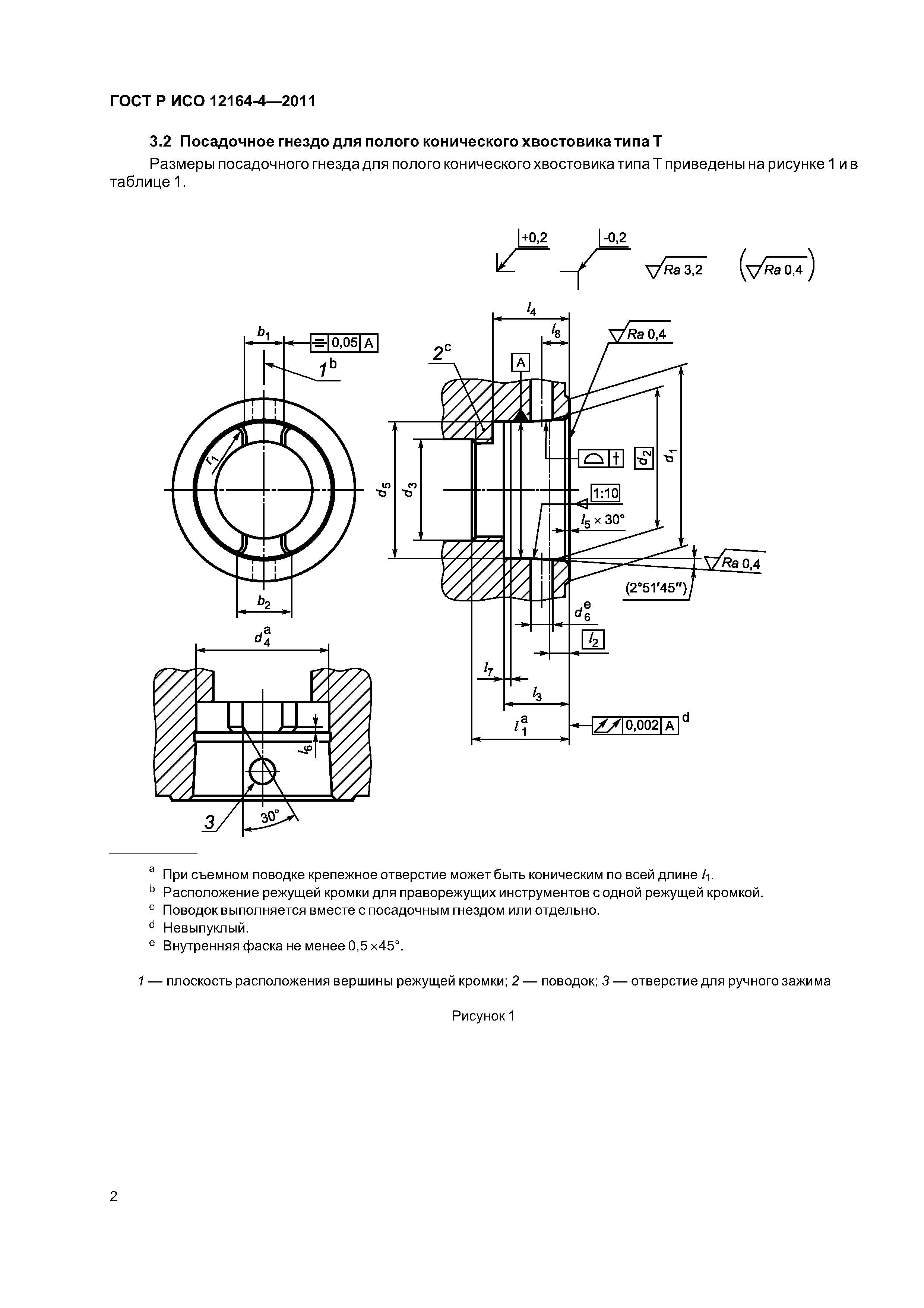
| Область применения: | Стандарт распространяется на присоединительные размеры посадочного гнезда для крепления полых конических хвостовиков (HSK) с прилеганием по плоскости к торцу шпинделя токарных и обрабатывающих (фрезерно-расточных) центров. Стандарт устанавливает присоединительные размеры посадочного гнезда хвостовиков типа Т по ГОСТ Р ИСО 12164-2011 для автоматической смены инструмента через паз на фланце и для ручной смены инструмента через отверстие в конической части хвостовика. Крутящий момент передается посредством торцовой шпонки на конце хвостовика, а также - силой трения. |
| Оглавление: | 1 Область применения 2 Нормативные ссылки 3 Размеры 4 Отверстие для ручной смены инструмента 5 Обозначение Приложение А (справочное) Рекомендации для применения Приложение ДА (справочное) Сведения о соответствии ссылочных международных стандартов ссылочным национальным стандартам Российской Федерации и действующим в этом качестве межгосударственным стандартам |
| Разработан: | ОАО ВНИИИНСТРУМЕНТ |
| Утверждён: | 02.06.2011 Федеральное агентство по техническому регулированию и метрологии (508-ст) |
| Издан: | Стандартинформ (2012 г. ) |
| Нормативные ссылки: |
|










