Скачать Типовой проект 902-1-164.90 Альбом 7. Нестандартизированное оборудованиеДата актуализации: 01.01.2021
|
| Обозначение: | Типовой проект 902-1-164.90 |
| Обозначение англ: | 902-1-164.90 |
| Статус: | не определен законодательством |
| Название рус.: | Альбом 7. Нестандартизированное оборудование |
| Дата добавления в базу: | 01.09.2013 |
| Дата актуализации: | 01.01.2021 |
| Дата введения: | 15.05.1990 |
| Дата окончания срока действия: | 30.06.2003 |
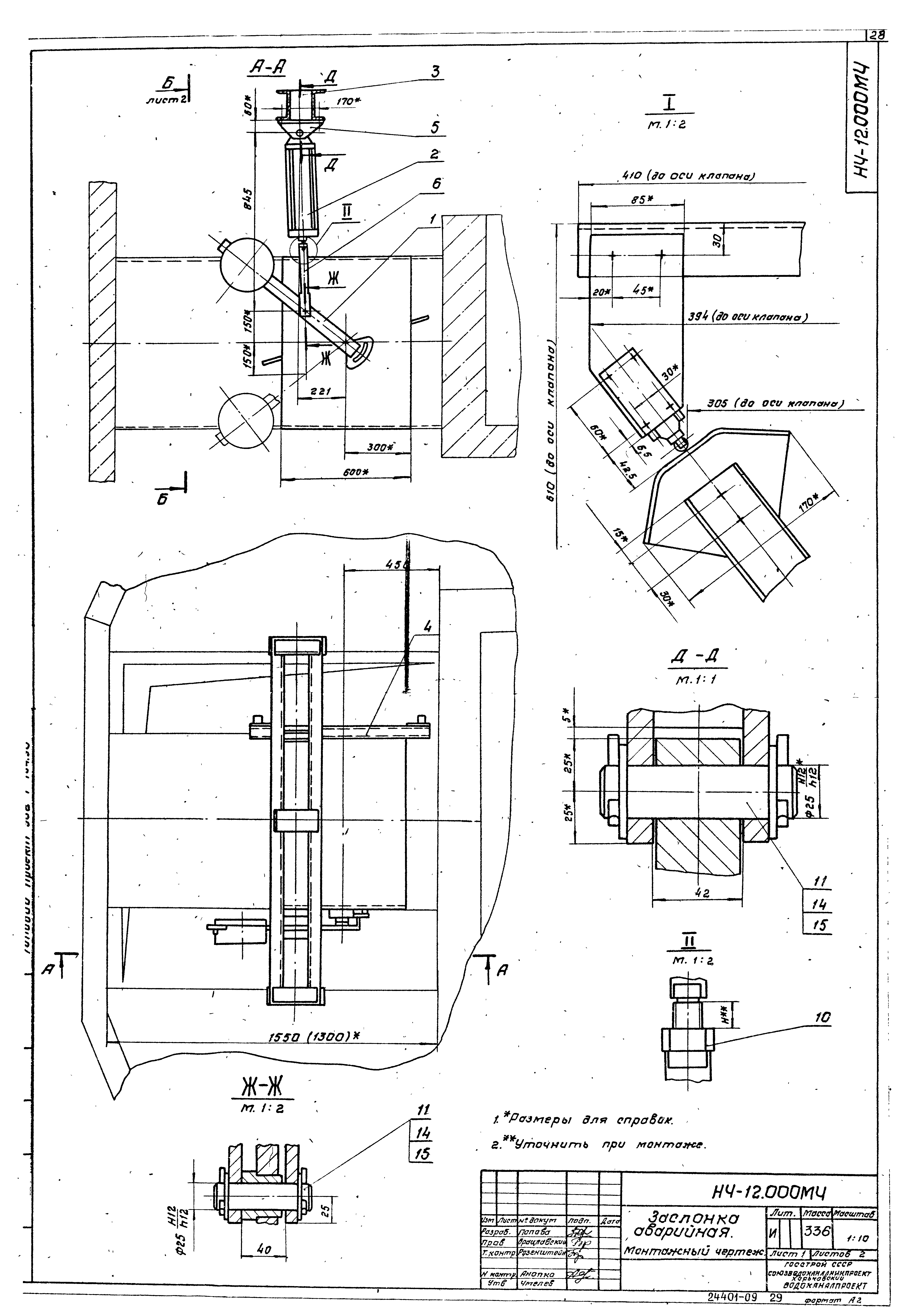
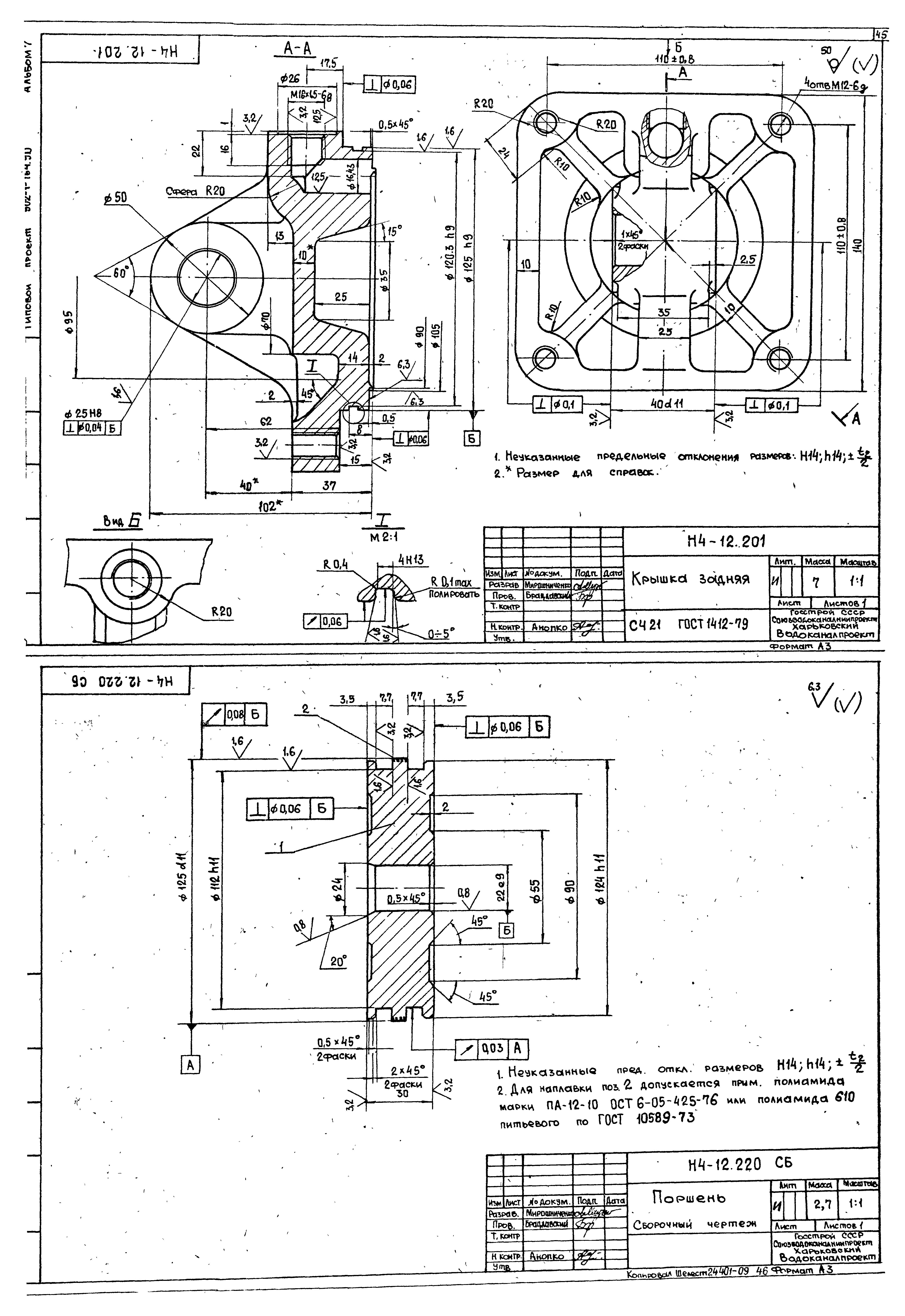
| Оглавление: | Содержание альбома Н4-01.000 Решетка ремонтная Н4-01.000СБ Решетка ремонтная. Сборочный чертеж Н4-01.001 Скоба Н4-02.000 Тройник Н4-02.000СБ Тройник. Сборочный чертеж Н4-02.001 Гайка накидная Н4-02.002 Кольцо Н4-02.100 Корпус Н4-02.003 Прокладка Н4-02.102 Труба Н4-02.103 Обечайка Н4-02.100СБ Корпус Н4-02.101 Труба Н4-03.000 Патрубок монтажный Н4-03.100 Патрубок Н4-03.000СБ Патрубок монтажный. Сборочный чертеж Н4-03.002 Фланец Н4-03.200 Патрубок Н4-03.100СБ Патрубок. Сборочный чертеж Н4-03.001 Прокладка Н4-03.200СБ Патрубок. Сборочный чертеж Н4-03.201 Труба Н4-04.001 Конус Н4-04.000СБ Воронка. Сборочный чертеж Н4-05.000СБ Установка патрубка. Сборочный чертеж Н4-05.100 Патрубок Н4-05.000 Установка патрубка Н4-05.110 Патрубок Н4-05.002 Прокладка Н4-05.111 Конус Н4-05.001 Заглушка Н4-05.100СБ Патрубок. Сборочный чертеж Н4-05.110СБ Патрубок. Сборочный чертеж Н4-07.200 Отвод Н4-07.000 Устройство отборное напорное Н4-06.000 Расширитель Н4-07.100 Разделитель мембранный Н4-06.002 Днище Н4-06.001 Корпус Н4-06.000СБ Расширитель. Сборочный чертеж Н4-07.001 Прокладка Н4-07.200СБ Отвод. Сборочный чертеж Н4-07.000СБ Устройство отборное напорное. Сборочный чертеж Н4-07.002 Прокладка Н4-07.003 Прокладка Н4-07.004 Пробка Н4-07.102 Кольцо Н4-07.100СБ Разделитель мембранный. Сборочный чертеж Н4-07.101 Корпус Н4-07.103 Мембрана Н4-07.201 Труба Н4-08.000 Устройство отборное разрежения Н4-07.202 Фланец Н4-08.100СБ Патрубок. Сборочный чертеж Н4-08.101 Фланец Н4-08.102 Корпус Н4-08.100 Патрубок Н4-08.000СБ Устройство отборное разрежения. Сборочный чертеж Н4-09.000 Гильза Н4-09.100 Корпус Н4-09.000СБ Гильза. Сборочный чертеж Н4-09.001 Прокладка Н4-09.002 Прокладка Н4-10.000 Зонт Н4-09.100СБ Корпус. Сборочный чертеж Н4-09.101 Труба Н4-09.102 Дно Н4-10.000СБ Зонт. Сборочный чертеж Н4-10.002 Переход Н4-10.001 Обечайка Н4-10.003 Уголок Н4-11.000СБ Рамка. Сборочный чертеж Н4-11.000 Рамка Н4-11.001 Уголок Н4-12.500 Кронштейн Н4-03.101 Патрубок Н4-03.102 Труба Н4-10.002 Кольцо Н4-12.000 Заслонка аварийная Н4-12.000МЧ Заслонка аварийная. Монтажный чертеж Н4-12.100 Клапан Н4-12.110 Корпус Н4-12.120 Заслонка Н4-12.100СБ Клапан. Сборочный чертеж Н4-12.101 Контргруз Н4-12.102 Крышка Н4-12.103 Фиксатор Н4-12.104 Фиксатор Н4-12.105 Вал Н4-12.107 Прокладка Н4-12.106 Корпус Н4-12.108 Втулка Н4-12.109 Уплотнение Н4-12.111 Кольцо Н4-12.134 Втулка Н4-12.110СБ Корпус. Сборочный чертеж Н4-12.112 Бонка Н4-12.113 Бонка Н4-12.120СБ Заслонка. Сборочный чертеж Н4-12.130СБ Рычаг. Сборочный чертеж Н4-12.121 Ребро Н4-12.122 Диск Н4-12.140СБ Поводок. Сборочный чертеж Н4-12.140 Поводок Н4-12.150 Лыжа Н4-12.141 Ступица Н4-12.142 Швеллер Н4-12.151 Скоба Н4-12.152 Лист Н4-12.150СБ Лыжа. Сборочный чертеж Н4-12.130 Рычаг Н4-12.131 Планка Н4-12.133 Втулка Н4-12.132 Хвостовик Н4-12.200 Пневмоцилиндр Н4-12.210 Крышка передняя Н4-12.220 Поршень Н4-12.200СБ Пневмоцилиндр. Сборочный чертеж Н4-12.201 Крышка задняя Н4-12.220СБ Поршень. Сборочный чертеж Н4-12.221 Диск Н4-12.212 Втулка Н4-12.211 Крышка Н4-12.210СБ Крышка передняя. Сборочный чертеж Н4-12.202 Шток Н4-12.207 Шпилька Н4-12.204 Кольцо Н4-12.203 Крышка Н4-12.205 Гильза Н4-12.300 Опора Н4-12.410 Кронштейн Н4-12.400 Установка конечных выключателей Н4-12.600 Вилка Н4-12.300СБ Опора. Сборочный чертеж Н4-12.308 Ребро Н4-12.306 Косынка Н4-12.307 Косынка Н4-12.414 Ребро Н4-12.412 Швеллер Н4-12.413 Ребро Н4-12.401 Пластина Н4-12.206 Шайба стопорная Н4-12.400СБ Установка конечных выключателей. Сборочный чертеж Н4-12.410СБ Кронштейн. Сборочный чертеж Н4-12.411 Пластина Н4-12.415 Косынка Н4-12.600СБ Вилка. Сборочный чертеж Н4-12.500СБ Кронштейн. Сборочный чертеж Н4-12.502 Плита Н4-12.501 Косынка Н4-12.601 Тяга Н4-12.602 Скоба |
| Разработан: | Харьковский Водоканалпроект |
| Утверждён: | 15.05.1990 СоюзводоканалНИИпроект (SoyuzvodokanalNIIproject 9) |
| Издан: | ЦИТП Госстроя СССР (CITP, Gosstroy (USSR) 1990 г. ) |
| Заменяет собой: |

























































