Скачать 3521тм-т4 Разработка технических требований на устройства блокировки оперативных переключений с использованием современных технических средств. Алгоритмы и схемы оперативной блокировки разъединителей с применением микропроцессорной техники или бесконтактных элементов жесткой логикиДата актуализации: 01.01.2021
|
| Обозначение: | 3521тм-т4 |
| Обозначение англ: | 3521тм-т4 |
| Статус: | не установлен срок действия |
| Название рус.: | Разработка технических требований на устройства блокировки оперативных переключений с использованием современных технических средств. Алгоритмы и схемы оперативной блокировки разъединителей с применением микропроцессорной техники или бесконтактных элементов жесткой логики |
| Дата добавления в базу: | 01.09.2013 |
| Дата актуализации: | 01.01.2021 |
| Область применения: | В данной работе приведены алгоритмы и схемы выполнения оперативной блокировки разъединителей на микропроцессорной технике и на бесконтактных элементах жесткой логики |
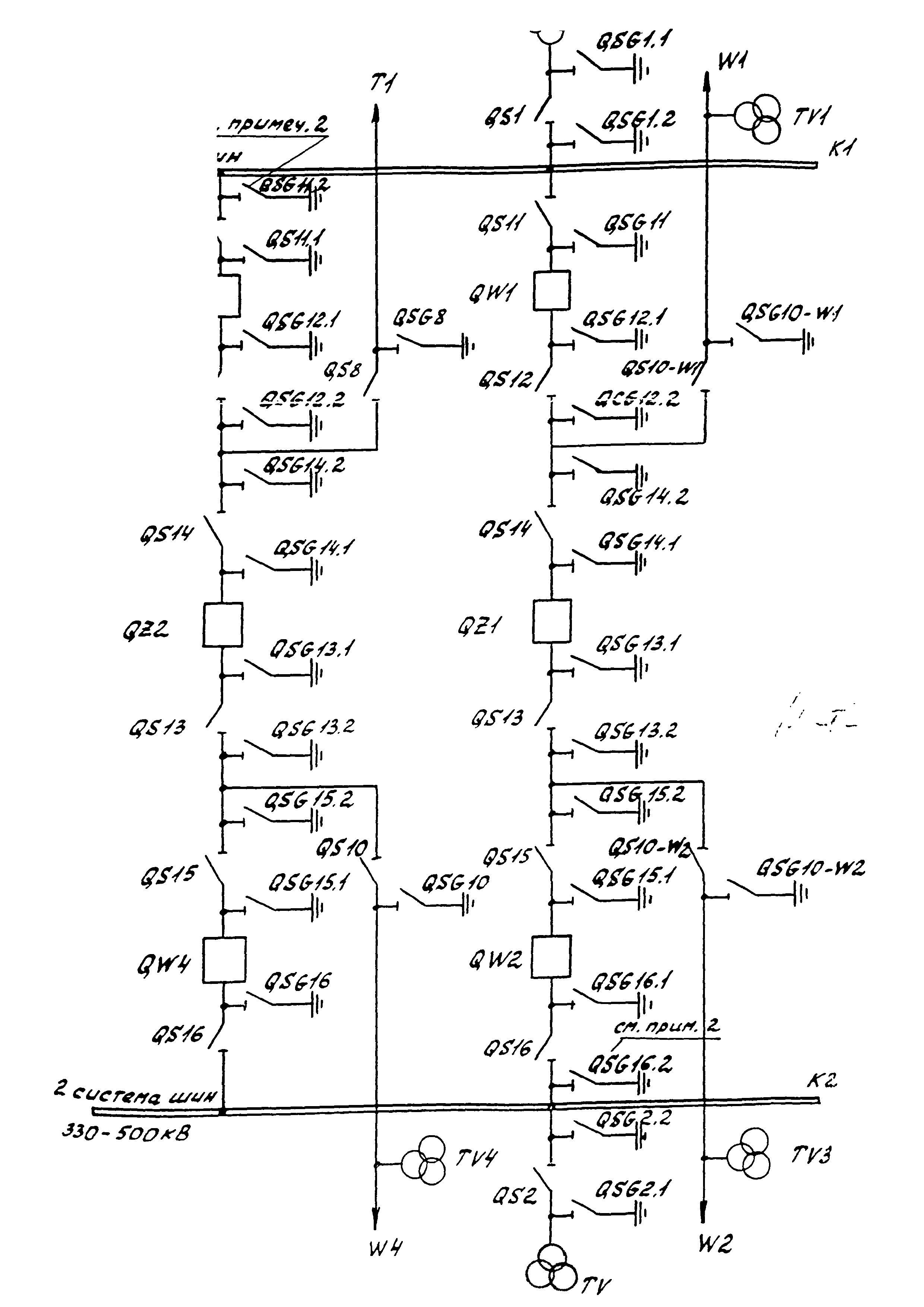
| Оглавление: | I. Алгоритм оперативной блокировки разъединителей с применением микропроцессорной техники 1. Назначение и характеристика 1.1 Назначение и область применения 1.2 Содержательное описание модуля 2. Используемая информация 3. Результаты работы модуля 4. Описание алгоритма 4.1 АМ "Оперативная блокировка разъединителей" в составе АСУ ТП 4.2 Технологический алгоритм модуля "Достоверность КА" в составе АСУ ТП 4.3 Технологический алгоритм модуля "Оперативная блокировка разъединителей" в составе АСУ ТП 4.4 Технологический алгоритм локального устройства "Оперативная блокировка разъединителей" 4.5 Технологический алгоритм модуля "Достоверность КА" в составе локального устройства 4.6 Технологический алгоритм модуля "Оперативная блокировка разъединителей" в составе локального устройства II. Алгоритмы и схемы оперативной блокировки разъединителей с применением бесконтактных элементов жесткой логики 1. Алгоритм логики блокировки оперативных переключений коммутационных аппаратов в распредустройстве с двумя системами сборных шин и обходной системой шин 2. Алгоритм логики блокировки оперативных переключений коммутационных аппаратов в распредустройстве с двумя системами сборных шин при так называемой "Полуторной" схеме подключений присоединений 3. Структурная схема блокировки оперативных переключений с применением бесконтактных элементов жесткой логики |
| Разработан: | Институт Энергосетьпроект |
| Утверждён: | РАО ЕЭС России (UES of Russia RAO ) |




































