Скачать ТУ 34-38-20409-94 Импульсно-предохранительные устройства Чеховского завода энергетического машиностроения. Общие технические условия на капитальный ремонт

Дата актуализации: 01.01.2021

ТУ 34-38-20409-94

Импульсно-предохранительные устройства Чеховского завода энергетического машиностроения. Общие технические условия на капитальный ремонт

Обозначение: ТУ 34-38-20409-94
Обозначение англ: TU 34-38-20409-94
Статус:действует
Название рус.:Импульсно-предохранительные устройства Чеховского завода энергетического машиностроения. Общие технические условия на капитальный ремонт
Дата добавления в базу:01.09.2013
Дата актуализации:01.01.2021
Дата введения:01.01.1995
Область применения:Технические условия распространяются на капитальный ремонт импульсно-предохранительных устройств для пара теплоэнергетических установок, изготавливаемых Чеховским заводом энергетического машиностроения, в течение полного срока службы, установленного согласно ТУ завода-изготовителя
Оглавление:1. Введение
2. Общие технические требования ремонтов клапанов ИПУ
3. Требования к безопасности ИПУ
4. Требования к составным частям клапанов ИПУ
5. Требования к сборке и к отремонтированному изделию
6. Испытания, контроль, измерения
7. Консервация
8. Маркировка
9. Транспортирование и хранение
10. Комплектность
11. Гарантии
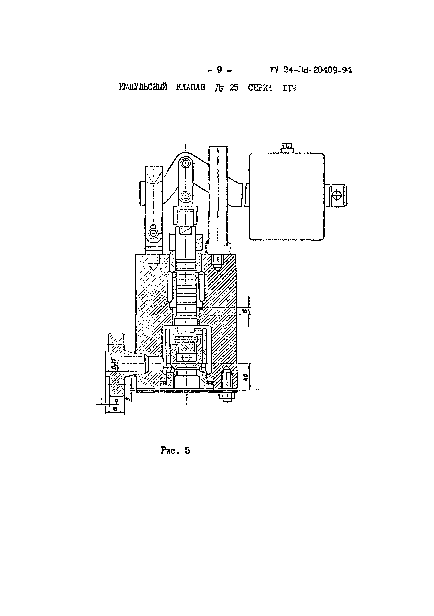
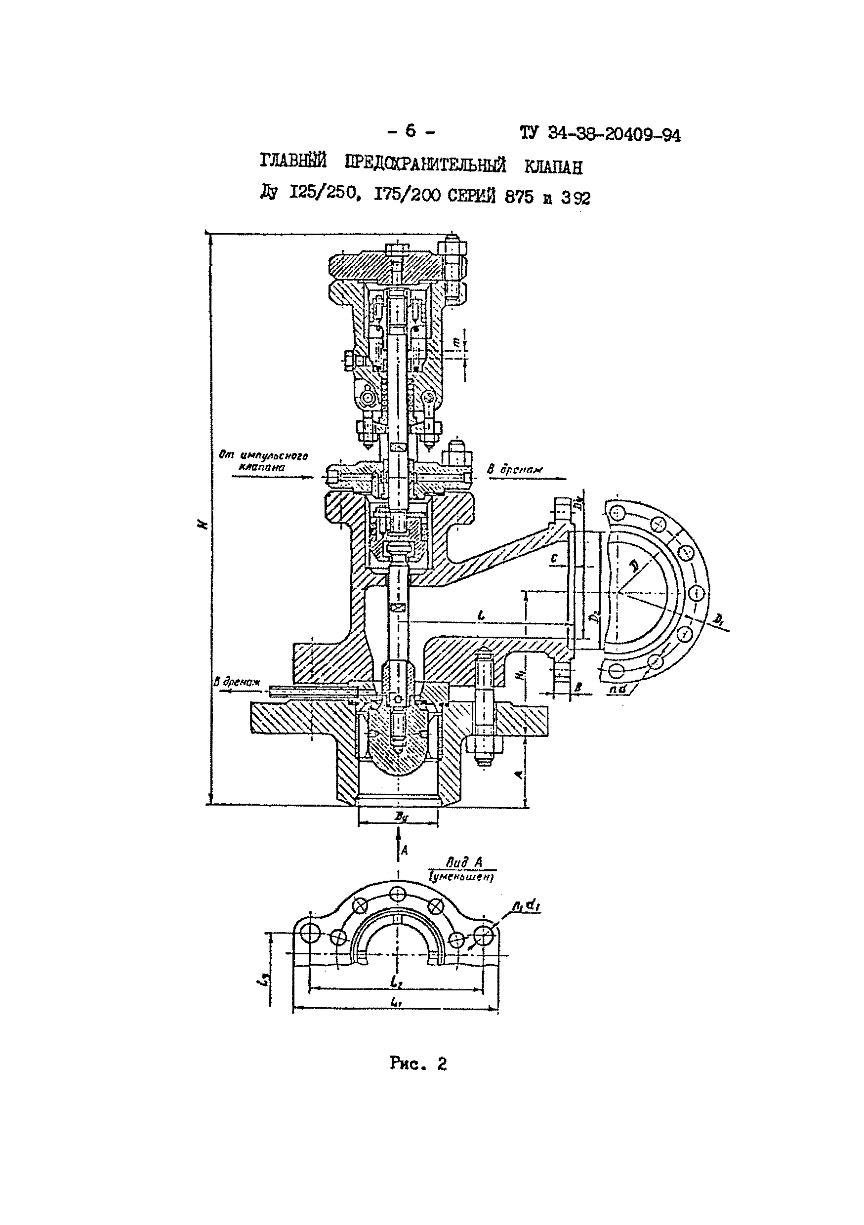
Приложение 1. Технические характеристики главных предохранительных клапанов ИПУ котлов
Приложение 2. Технические характеристики импульсных клапанов ИПУ котлов
Приложение 3. Перечень документов, упомянутых в ОТУ
Лист регистрации изменений
Разработан: АООТ ЦКБ Энергоремонт
Утверждён: РАО ЕЭС России (UES of Russia RAO )
Заменяет собой:
  • ТУ 34-38-20191-82
Нормативные ссылки:
ТУ 34-38-20409-94ТУ 34-38-20409-94ТУ 34-38-20409-94ТУ 34-38-20409-94ТУ 34-38-20409-94ТУ 34-38-20409-94ТУ 34-38-20409-94ТУ 34-38-20409-94ТУ 34-38-20409-94ТУ 34-38-20409-94ТУ 34-38-20409-94ТУ 34-38-20409-94ТУ 34-38-20409-94ТУ 34-38-20409-94ТУ 34-38-20409-94ТУ 34-38-20409-94ТУ 34-38-20409-94ТУ 34-38-20409-94ТУ 34-38-20409-94ТУ 34-38-20409-94ТУ 34-38-20409-94ТУ 34-38-20409-94ТУ 34-38-20409-94ТУ 34-38-20409-94ТУ 34-38-20409-94ТУ 34-38-20409-94ТУ 34-38-20409-94ТУ 34-38-20409-94ТУ 34-38-20409-94ТУ 34-38-20409-94ТУ 34-38-20409-94ТУ 34-38-20409-94ТУ 34-38-20409-94