Скачать Типовой проект 903-1-198 Альбом 11.2. Котельная. Сочленения исполнительных механизмов с регулирующими органами (вариант установки котлов КВ-ГМ-100 и ДЕ-25-14ГМ)Дата актуализации: 01.01.2021
|
| Обозначение: | Типовой проект 903-1-198 |
| Обозначение англ: | 903-1-198 |
| Статус: | действует |
| Название рус.: | Альбом 11.2. Котельная. Сочленения исполнительных механизмов с регулирующими органами (вариант установки котлов КВ-ГМ-100 и ДЕ-25-14ГМ) |
| Дата добавления в базу: | 01.10.2014 |
| Дата актуализации: | 01.01.2021 |
| Дата введения: | 01.01.1983 |
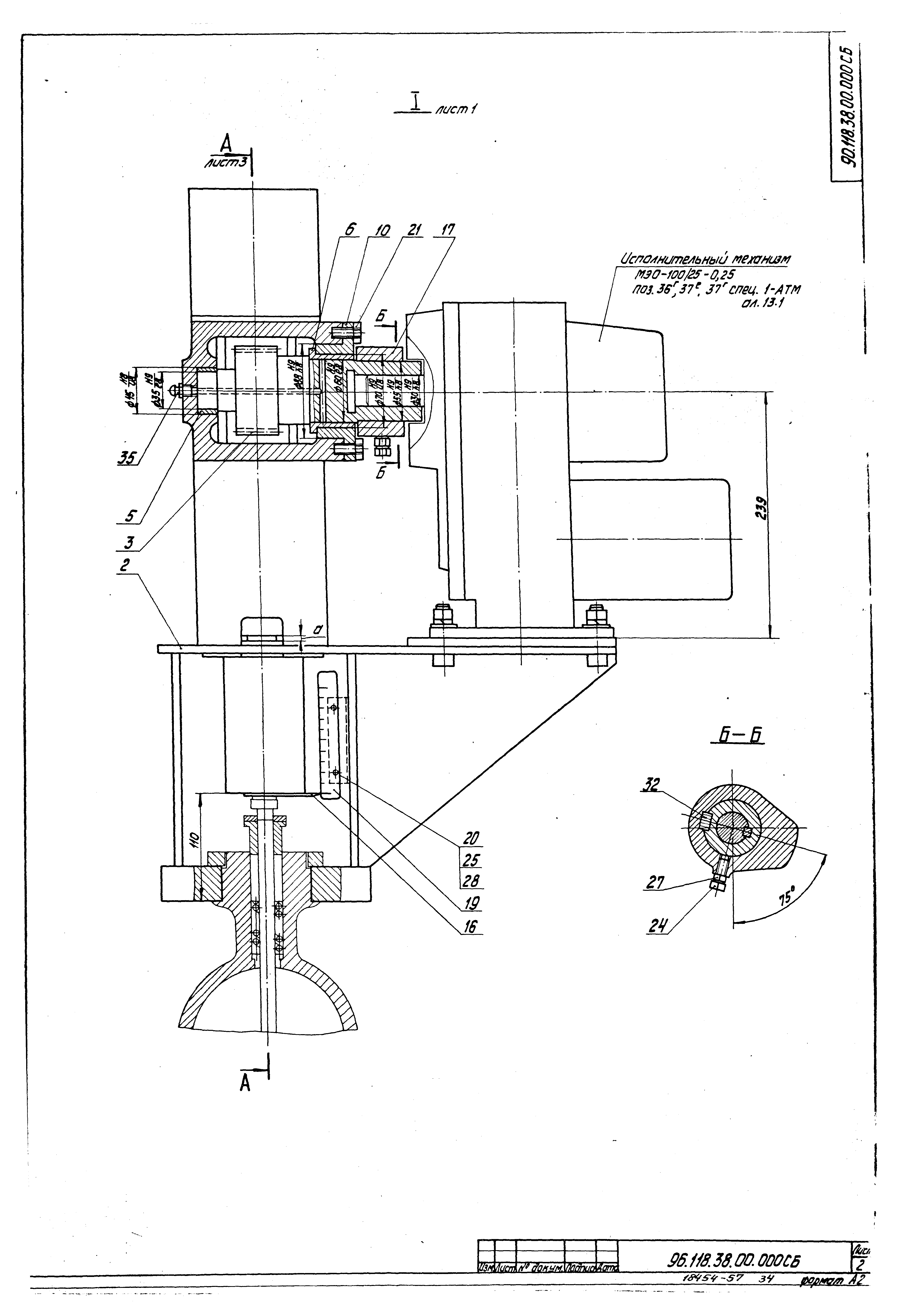
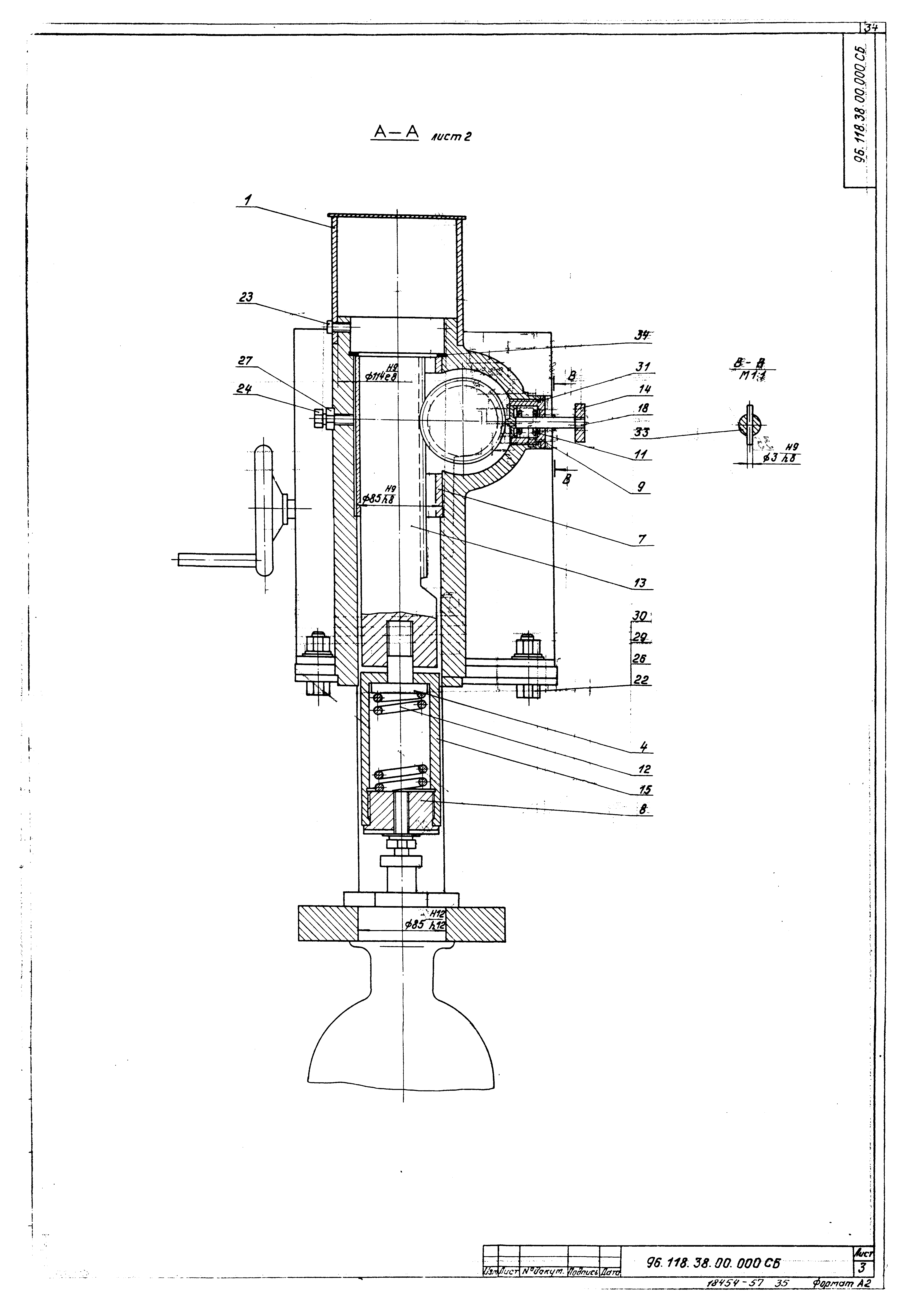
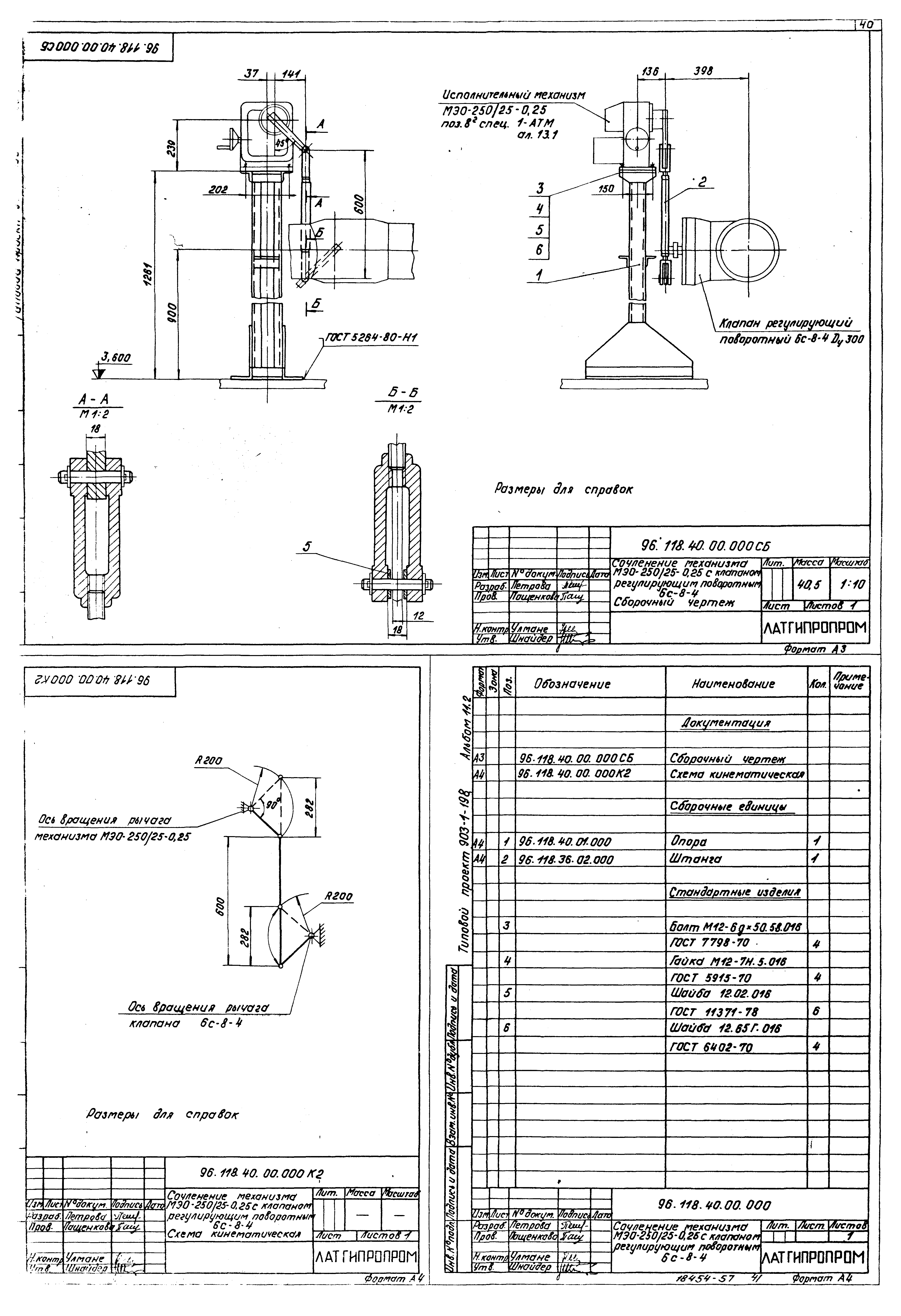
| Оглавление: | Содержание альбома 96.118.34.00.000 Сочленение механизма МЭО-1600/63 с дымососом ДН-22х2 96.118.34.00.000К2 Сочленение механизма МЭО-1600/63 с дымососом ДН-22х2. Схема кинематическая 96.118.34.02.000 Штанга 96.118.34.02.000СБ Штанга. Сборочный чертеж 96.118.34.00.000СБ Сочленение механизма МЭО-1600/63 с дымососом ДН-22х2. Сборочный чертеж 96.118.34.01.000 Опора 96.118.34.01.000СБ Опора. Сборочный чертеж 96.118.34.02.001 Бобышка 96.118.34.02.002 Винт 96.118.34.02.003 Втулка 96.118.34.02.004 Ушко 96.118.35.00.000 Сочленение механизма МЭО-630/63 с направляющим аппаратом вентилятора ВДН-18 96.118.35.00.001 Рычаг 96.118.35.00.000К2 Сочленение механизма МЭО-630/63 с направляющим аппаратом вентилятора ВДН-18. Схема кинематическая 96.118.35.00.000СБ Сочленение механизма МЭО-630/63 с направляющим аппаратом вентилятора ВДН-18. Сборочный чертеж 96.118.35.01.000 Коромысло 96.118.35.02.000 Кронштейн 96.118.35.01.000СБ Коромысло. Сборочный чертеж 96.118.35.01.001 Ступица 96.118.35.01.002 Угольник 96.118.35.01.003 Труба 96.118.35.01.004 Ушко 96.118.35.02.000СБ Кронштейн. Сборочный чертеж 96.118.35.02.001 Ось 96.118.35.02.002 Щека 96.118.36.00.000 Сочленение механизма МЭО-250/25-0,25 с клапаном регулирующим Т-33б 96.118.36.00.000К2 Сочленение механизма МЭО-250/25-0,25 с клапаном регулирующим Т-33б. Схема кинематическая 96.118.36.00.000СБ Сочленение механизма МЭО-250/25-0,25 с клапаном регулирующим Т-33б. Сборочный чертеж 96.118.36.01.000 Опора 96.118.50.00.001 Ось 96.118.36.01.000СБ Опора. Сборочный чертеж 96.118.36.02.000 Штанга 96.118.36.02.000СБ Штанга. Сборочный чертеж 96.118.37.00.000 Установка механизма МЭО-100/25-025 на клапане 25с48НЖ Ду200 Ру64 96.118.37.00.000СБ Установка механизма МЭО-100/25-025 на клапане 25с48НЖ Ду200 Ру64. Сборочный чертеж 96.118.37.00.001 Вал-шестерня 96.118.37.00.002 Винт 96.118.37.00.003 Втулка 96.118.37.00.004 Втулка 96.118.37.00.005 Втулка 96.118.37.00.006 Втулка резьбовая 96.118.37.00.007 Гайка фиксатора 96.118.37.00.008 Крышка 96.118.37.00.009 Пружина 96.118.37.00.011 Рейка 96.118.37.00.010 Пружина 96.118.37.00.012 Рукоятка фиксатора 96.118.37.00.013 Стакан 96.118.37.00.014 Указатель 96.118.37.00.015 Упор 96.118.37.00.016 Фиксатор 96.118.37.00.017 Шкала 96.118.37.01.000 Колпак 96.118.37.01.000СБ Колпак. Сборочный чертеж 96.118.37.02.000 Стойка 96.118.37.02.100 Опора 96.118.37.02.000СБ Стойка. Сборочный чертеж 96.118.37.02.001 Стакан 96.118.37.02.100СБ Опора. Сборочный чертеж 96.118.38.00.000 Установка механизма МЭО-100/25-0,25 на клапане 25С48НЖ Ду150 Ру64 96.118.38.00.000К2 Установка механизма МЭО-100/25-0,25 на клапане 25С48НЖ Ду150 Ру64. Схема кинематическая 96.118.38.00.001 Втулка резьбовая 96.118.38.00.000СБ Установка механизма МЭО-100/25-0,25 на клапане 25С48НЖ Ду150 Ру64. Сборочный чертеж 96.118.38.01.000 Стойка 96.118.38.01.100 Опора 96.118.38.01.101 Плита 96.118.38.01.102 Фланец 96.118.38.01.000СБ Стойка. Сборочный чертеж 96.118.38.01.100СБ Опора. Сборочный чертеж 96.118.39.00.000 Сочленение механизма МЭО-100/25 с заслонкой дроссельной ЗД-300 Ду-300 96.118.39.00.000К2 Сочленение механизма МЭО-100/25 с заслонкой дроссельной ЗД-300 Ду-300. Схема кинематическая 96.118.39.00.000СБ Сочленение механизма МЭО-100/25 с заслонкой дроссельной ЗД-300 Ду-300. Сборочный чертеж 96.118.39.01.000 Рычаг 96.118.39.01.002 Бобышка 96.118.39.01.000СБ Рычаг. Сборочный чертеж 96.118.40.00.000 Сочленение механизма МЭО-250/25-0,25 с клапаном регулирующим поворотным 6с-8-4 96.118.40.00.000К2 Сочленение механизма МЭО-250/25-0,25 с клапаном регулирующим поворотным 6с-8-4. Схема кинематическая 96.118.40.00.000СБ Сочленение механизма МЭО-250/25-0,25 с клапаном регулирующим поворотным 6с-8-4. Сборочный чертеж 96.118.40.01.000 Опора 96.118.40.01.000СБ Опора. Сборочный чертеж 96.118.41.00.000 Сочленение механизма МЭО-250/25-0,25 с клапаном регулирующим поворотным 6с-9-3 96.118.41.00.000К2 Сочленение механизма МЭО-250/25-0,25 с клапаном регулирующим поворотным 6с-9-3. Схема кинематическая 96.118.41.00.000СБ Сочленение механизма МЭО-250/25-0,25 с клапаном регулирующим поворотным 6с-9-3. Сборочный чертеж 96.118.42.00.000 Сочленение механизма МЭО-250/25-0,25 с клапаном регулирующим поворотным 6с-8-4 96.118.42.00.000К2 Сочленение механизма МЭО-250/25-0,25 с клапаном регулирующим поворотным 6с-8-4. Схема кинематическая 96.118.42.00.000СБ Сочленение механизма МЭО-250/25-0,25 с клапаном регулирующим поворотным 6с-8-4. Сборочный чертеж 96.118.43.00.000 Сочленение механизма МЭО-250/25-0,25 с клапаном регулирующим поворотным Т-34б 96.118.43.00.000К2 Сочленение механизма МЭО-250/25-0,25 с клапаном регулирующим поворотным Т-34б. Схема кинематическая 96.118.43.00.000СБ Сочленение механизма МЭО-250/25-0,25 с клапаном регулирующим поворотным Т-34б. Сборочный чертеж 96.118.53.00.000 Сочленение механизма МЭО-100/25-0,25 с направляющим аппаратом вентилятора ВДН-11,2 96.118.53.00.000К2 Сочленение механизма МЭО-100/25-0,25 с направляющим аппаратом вентилятора ВДН-11,2. Схема кинематическая 96.118.53.00.000СБ Сочленение механизма МЭО-100/25-0,25 с направляющим аппаратом вентилятора ВДН-11,2. Сборочный чертеж 96.118.54.00.000 Сочленение механизма МЭО-100/63 с направляющим аппаратом дымососа ДН-12,5 96.118.54.00.000К2 Сочленение механизма МЭО-100/63 с направляющим аппаратом дымососа ДН-12,5. Схема кинематическая 96.118.54.00.000СБ Сочленение механизма МЭО-100/63 с направляющим аппаратом дымососа ДН-12,5. Сборочный чертеж 96.118.55.00.000 Сочленение механизма МЭО-100/25-0,25 с заслонкой ЗД-150 и клапаном 9с-3-3-1 96.118.55.00.001 Ось 96.118.55.00.000К2 Сочленение механизма МЭО-100/25-0,25 с заслонкой ЗД-150 и клапаном 9с-3-3-1. Схема кинематическая 96.118.55.00.000СБ Сочленение механизма МЭО-100/25-0,25 с заслонкой ЗД-150 и клапаном 9с-3-3-1. Сборочный чертеж 96.118.56.00.000 Сочленение механизма МЭО-100/25-0,25 с клапаном регулирующим 9с-4-2 96.118.56.00.000К2 Сочленение механизма МЭО-100/25-0,25 с клапаном регулирующим 9с-4-2. Схема кинематическая 96.118.56.00.000СБ Сочленение механизма МЭО-100/25-0,25 с клапаном регулирующим 9с-4-2. Сборочный чертеж 96.118.57.00.000 Сочленение механизма МЭО-250/25-0,25 с клапаном регулирующим 6с-9-2 96.118.57.00.000К2 Сочленение механизма МЭО-250/25-0,25 с клапаном регулирующим 6с-9-2. Схема кинематическая 96.118.57.00.000СБ Сочленение механизма МЭО-250/25-0,25 с клапаном регулирующим 6с-9-2. Сборочный чертеж 96.118.58.00.000 Сочленение механизма МЭО-250/25-0,25 с клапаном регулирующим поворотным 6с-9-1 96.118.58.00.000К2 Сочленение механизма МЭО-250/25-0,25 с клапаном регулирующим поворотным 6с-9-1. Схема кинематическая 96.118.58.00.000СБ Сочленение механизма МЭО-250/25-0,25 с клапаном регулирующим поворотным 6с-9-1. Сборочный чертеж 96.118.59.00.000 Сочленение механизма МЭО-250/25-0,25 с клапаном регулирующим поворотным 6с-8-1 96.118.59.00.000К2 Сочленение механизма МЭО-250/25-0,25 с клапаном регулирующим поворотным 6с-8-1. Схема кинематическая 96.118.59.00.000СБ Сочленение механизма МЭО-250/25-0,25 с клапаном регулирующим поворотным 6с-8-1. Сборочный чертеж 96.118.60.00.000 Сочленение механизма МЭО-100/25 с клапаном регулирующим ОРП-50 96.118.60.01.101 Ось 96.118.60.00.000СБ Сочленение механизма МЭО-100/25 с клапаном регулирующим ОРП-50. Сборочный чертеж 96.118.60.00.000К2 Сочленение механизма МЭО-100/25 с клапаном регулирующим ОРП-50. Схема кинематическая 96.118.60.01.000 Рычаг 96.118.60.01.100 Планка с осями 96.118.60.01.000СБ Рычаг. Сборочный чертеж 96.118.60.01.100СБ Планка с осями. Сборочный чертеж 96.118.60.01.001 Планка 96.118.61.00.000 Установка электромагнита МИС-4100 на клапане предохранительном запорном типа ПКН и ПКВ Ду200 96.118.53.00.001 Рычаг 96.118.61.00.001 Втулка 96.118.61.00.002 Гайка специальная 96.118.61.00.000СБ Установка электромагнита МИС-4100 на клапане предохранительном запорном типа ПКН и ПКВ Ду200. Сборочный чертеж 96.118.61.00.003 Пластина 96.118.61.00.004 Серьга 96.118.61.00.005 Скоба 96.118.61.00.006 Шток |
| Разработан: | Латгипропром |
| Утверждён: | 14.05.1982 Латгипропром (101А) |































































