Скачать Рекомендации по технологии автоматизированной заготовки и натяжения высокопрочной стержневой арматуры пустотных настиловДата актуализации: 01.01.2021 |
| Статус: | справочные материалы, мп, тпр |
| Название рус.: | Рекомендации по технологии автоматизированной заготовки и натяжения высокопрочной стержневой арматуры пустотных настилов |
| Дата добавления в базу: | 01.10.2014 |
| Дата актуализации: | 01.01.2021 |
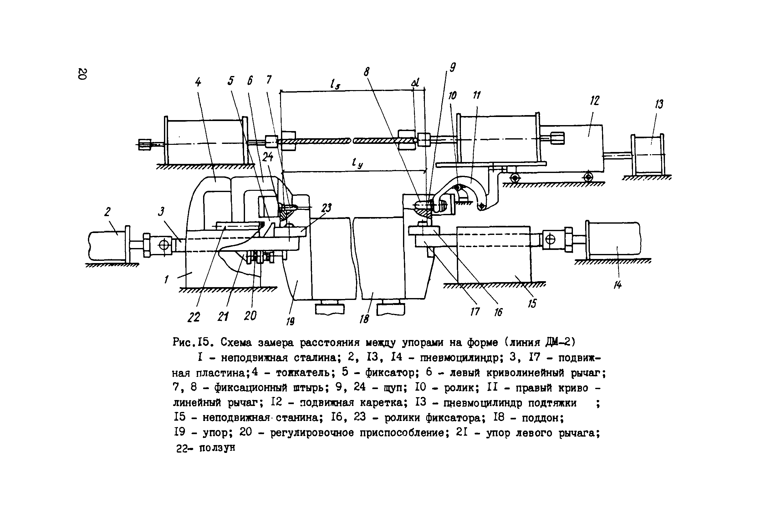
| Область применения: | В документе приведены основные положения по технологии автоматизированной заготовки и натяжения высокопрочной стержневой арматурной стали при изготовлении преднапряженных плит пустотных настилов с применением линий типа ДМ-2. Содержатся требования к арматурным сталям, временным концевым анкерам, оборудованию и технологическим процессам. Предназначены для инженерно-технических работников предприятий стройиндустрии, внедряющих автоматизированные линии типа ДМ-2 |
| Оглавление: | Предисловие 1. Область применения и основные положения 2. Арматурная сталь 3. Формы 4. Ориентация и перемещение поддонов 5. Отбор стержней из пакета 6. Измерение расстояния между упорами форм 7. Высадка анкерных головок 8. Контактный электронагрев и укладка стержней в упоры форм 9. Определение длины арматурной заготовки и удлинений арматуры при нагреве и натяжении 10. Контроль величины предварительного напряжения 11. Требования техники безопасности Приложение 1. Пример расчета длины арматурной заготовки и удлинения арматуры при нагреве и натяжении |
| Разработан: | НИИЖБ Госстроя СССР |
| Утверждён: | 01.06.1984 НИИЖБ Госстроя СССР (NIIZhB, USSR Gosstroy ) |
| Нормативные ссылки: |
|
































