Скачать Методика проведения неразрушающего контроля буровой лебедки

Дата актуализации: 01.01.2021

Методика проведения неразрушающего контроля буровой лебедки

Статус:действует
Название рус.:Методика проведения неразрушающего контроля буровой лебедки
Дата добавления в базу:01.10.2014
Дата актуализации:01.01.2021
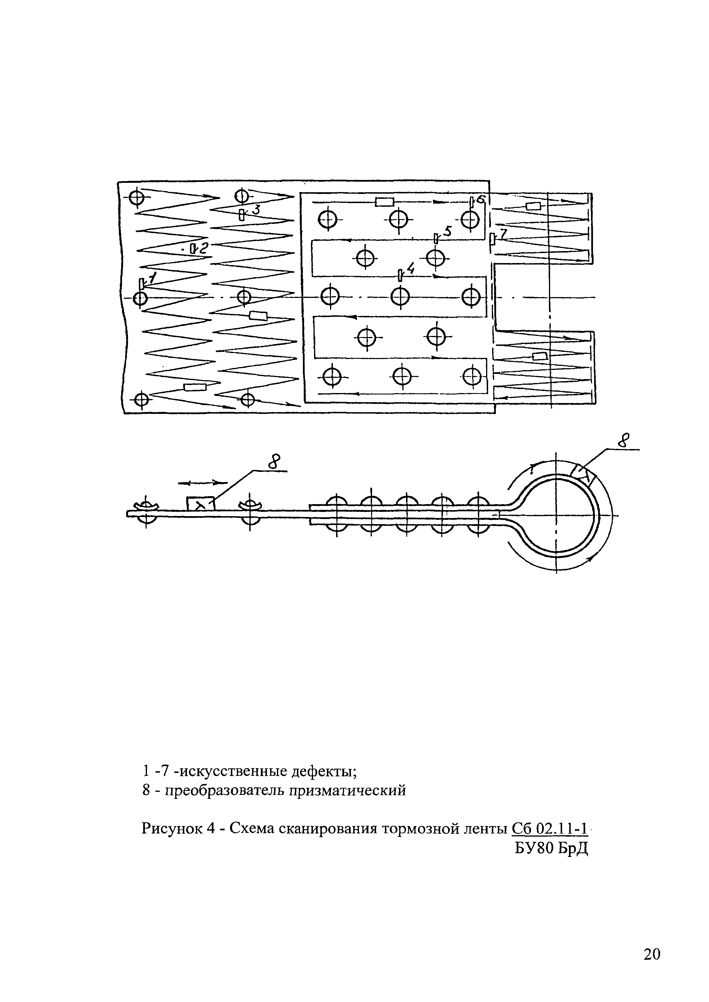
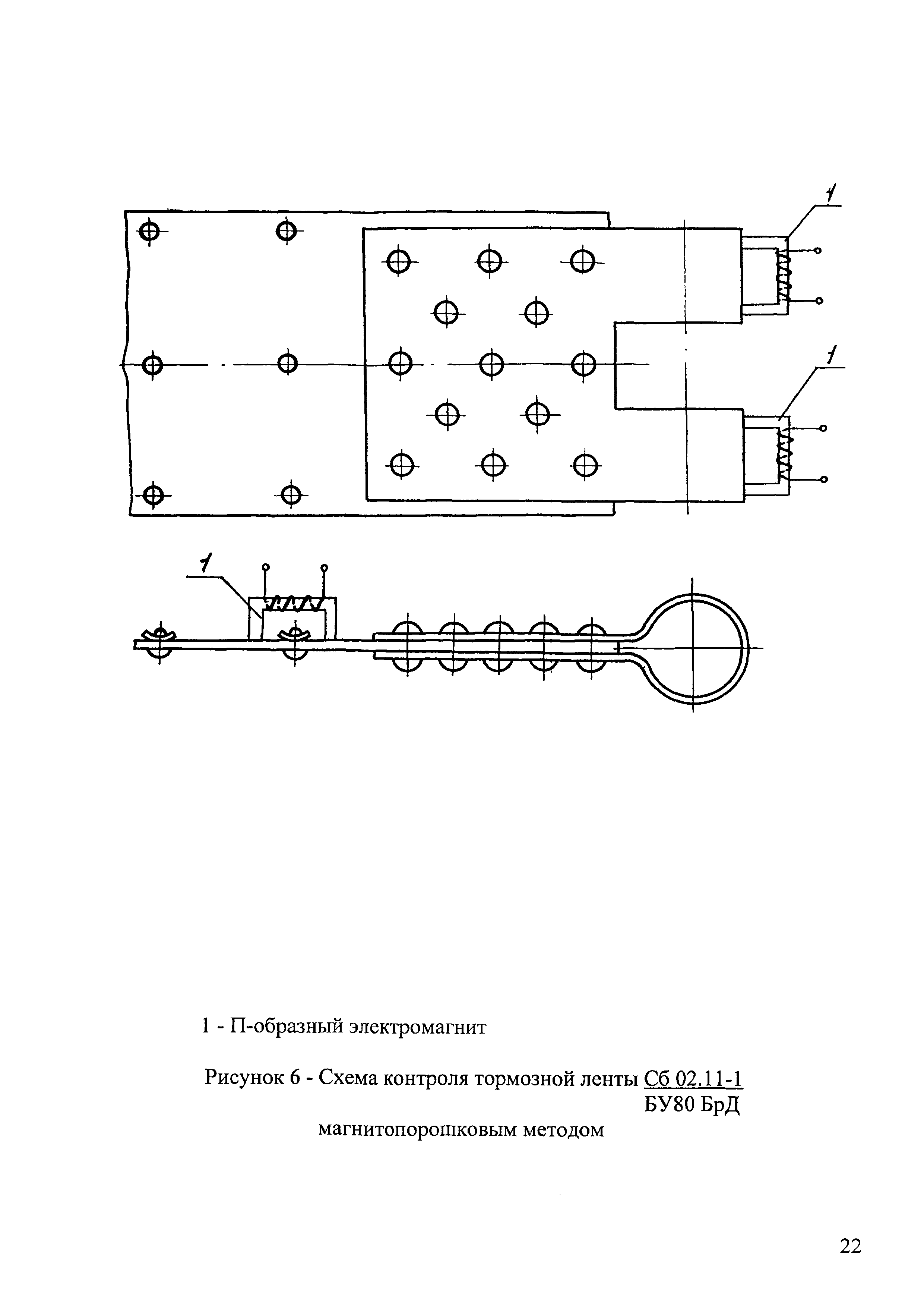
Область применения:В документе приводится технология визуального, ультразвукового и магнитопорошкового, капиллярного и радиографического контроля валов, тормозных лент буровой лебедки, находящихся в эксплуатации и новых, хранившихся более года
Оглавление:1 Общие положения
2 Аппаратура
3 Подготовка к контролю
4 Порядок контроля
5 Оформление результатов контроля
6 Техника безопасности
Приложение А. Акт результатов неразрушающего контроля
Приложение Б. Индикаторные материалы, применяемые при магнитопорошковом контроле
Разработан: СПКТБ Нефтегазмаш
Утверждён: СПКТБ Нефтегазмаш
Принят:19.07.1999 Госгортехнадзор РФ (Russian Federation Gosgortekhnadzor 10-13/46)
Нормативные ссылки: