Скачать Рекомендации по проектированию и выполнению контактных стыков с обрывом арматуры в железобетонных колоннах многоэтажных зданийДата актуализации: 01.01.2021 |
| Статус: | справочные материалы, мп, тпр |
| Название рус.: | Рекомендации по проектированию и выполнению контактных стыков с обрывом арматуры в железобетонных колоннах многоэтажных зданий |
| Дата добавления в базу: | 01.10.2014 |
| Дата актуализации: | 01.01.2021 |
| Область применения: | Документ содержит основные положения по проектированию и выполнению контактных стыков с полным и частичным обрывом продольной арматуры, осуществляемых путем совмещения плоских торцов сборных железобетонных колонн через тонкий слой раствора мили через специальные прокладки. Даны рекомендации по расчету и конструированию контактных стыков на монтажные и эксплуатационные усилия, а также рекомендации по изготовлению колонн, устройству опалубки и формированию швов между сборными железобетонными элементами. Приведены примеры расчета. Предназначены для инженерно-технических работников научно-исследовательских, проектных и строительных организаций и заводов железобетонных конструкций. |
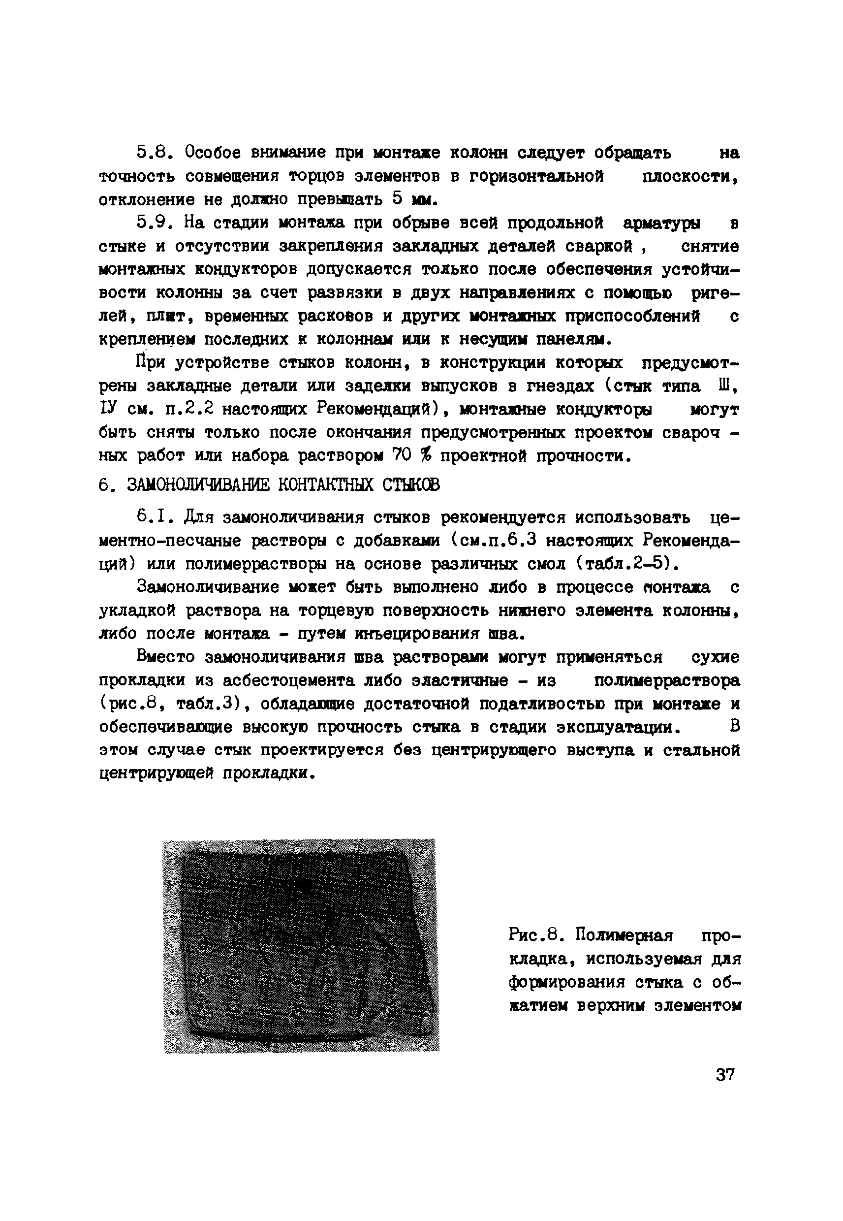
| Оглавление: | Предисловие 1. Общие положения 2. Материалы 3. Конструкции контактных стыков 4. Расчет прочности контакт стыков. Примеры расчета 5. Особенности изготовления и монтажа колонн с контактными стыками 6. Замоноличивание контактных стыков 7. Техника безопасности при работе с полимеррастворами Приложение. Акт на выполнение работ по замоноличиванию швов |
| Разработан: | НИИЖБ Госстроя СССР |
| Утверждён: | 15.07.1985 НИИЖБ Госстроя СССР (NIIZhB, USSR Gosstroy ) |
| Издан: | НИИЖБ (1985 г. ) |
| Нормативные ссылки: |
|



















































