Скачать Пособие по проектированию и расчету шумоглушения строительно-акустическими методами

Дата актуализации: 01.01.2021

Пособие по проектированию и расчету шумоглушения строительно-акустическими методами

Статус:справочные материалы, мп, тпр
Название рус.:Пособие по проектированию и расчету шумоглушения строительно-акустическими методами
Дата добавления в базу:01.10.2014
Дата актуализации:01.01.2021
Область применения:Пособие содержит основные положения по шумоглушению строительно-акустическими методами, методы расчета ожидаемых уровней звукового давления в требуемого снижения шума, расчет звукоизоляции ограждающими конструкциями и снижения шума звукопоглощающими облицовками и штучными звукопоглотителями. Приводятся примеры расчета, а также таблицы акустических характеристик звукопоглощающих облицовок и штучных звукопоглотителей. Пособие предназначено для работников проектных организаций, а также для инженерно-технических работников, занимающихся решением вопросов борьбы с шумом.
Оглавление:Предисловие
1. Общие положения
2. Планировочные решения
3. Порядок расчета и проектирования мероприятий по снижению шума
4. Расчет ожидаемых уровней звукового давления в расчетных точках до осуществления мероприятий по шумоглушению
   Расчетные точки расположены на территории
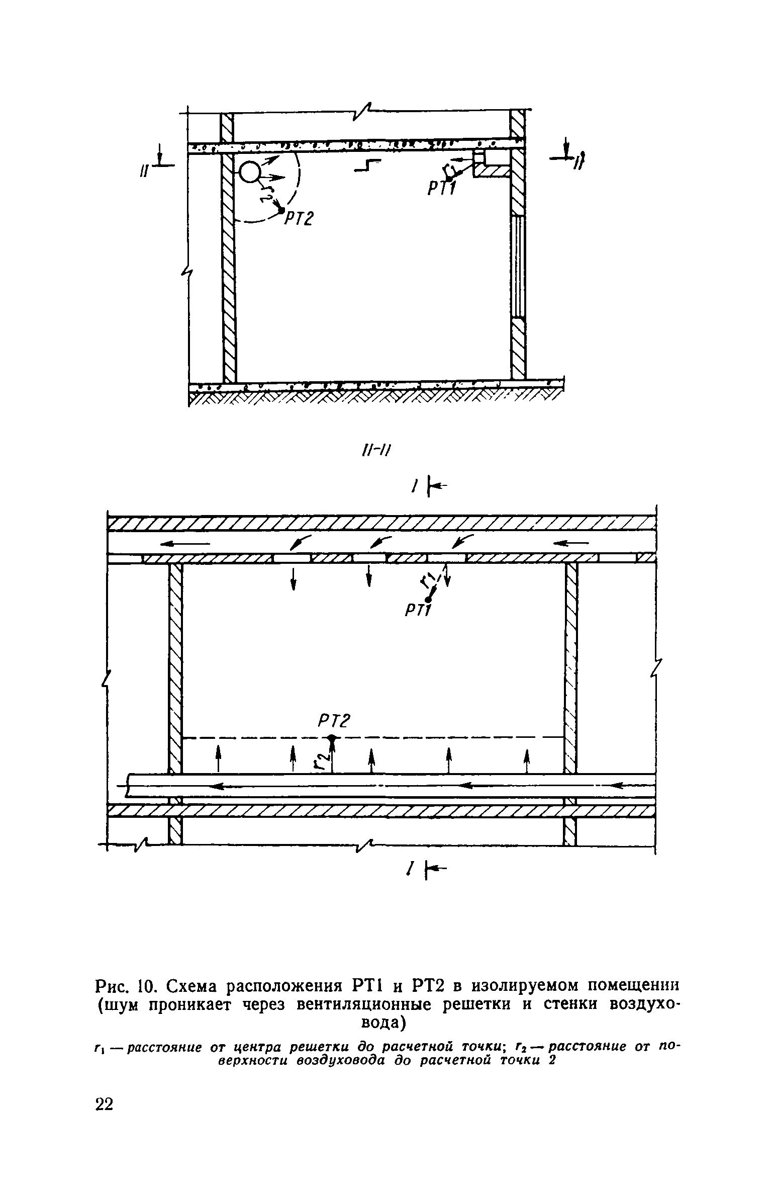
   Расчетные точки расположены в изолируемом от шума помещения
   Расчетные точки расположены в помещении с источниками шума
5. Расчет требуемого снижения шума
6. Строительно-акустические мероприятия по обеспечению требуемого снижения шума
7. Изоляция шума ограждающими конструкциями
   Расчет требуемой звукоизолирующей способности от воздушного шума
   Расчет звукоизолирующей способности от воздушного шума однослойных ограждений
   Приближенный расчет показателя изоляции от воздушного шума однослойными. двухслойными и раздельными многослойными ограждениями жилых и общественных зданий
   Расчет изоляции от ударного шума междуэтажными перекрытиями
   Конструктивные решения звукоизолирующих ограждений
8. Снижение шума звукопоглощающими облицовками и штучными звукопоглотителями
   Применение и размещение звукопоглощающих облицовок и штучных звукопоглотителей
   Расчет акустических характеристик помещений
   Выбор конструкции звукопоглощающей облицовки
   Расчет величины ожидаемого снижения шума
   Требования к звукопоглощающим облицовкам и штучным звукопоглотителям
Приложение 1. Основные акустические понятия и определения
Приложение 2. Примеры расчета ожидаемых уровней звукового давления в расчетных точках
Приложение 3. Примеры расчета требуемой звукоизолирующей способности ограждающих конструкций
Приложение 4. Примеры расчета звукоизолирующей способности ограждений от воздушного шума
Приложение 5. Примеры расчета изоляции от ударного шума междуэтажными перекрытиями
Приложение 6. Пример выбора конструкции звукопоглощающей облицовки по заданному усредненному спектру уровня звукового давления
Приложение 7. Пример расчета снижения уровня звукового давления в помещении по заданным шумовым характеристикам технологического оборудования
Приложение 8. Примеры расчета требуемого дополнительного звукопоглощения и выбор конструкции звукопоглотителя по требуемому снижению уровня звукового давления в зоне отраженного поля
Приложение 9. Акустические характеристики некоторых звукопоглощающих облицовок и штучных звукопоглотителей
Разработан: НИИСФ Госстроя СССР
Утверждён: НИИСФ Госстроя СССР (NIISF, USSR Gossstroy )
Издан: Стройиздат (1973 г. )
Нормативные ссылки: