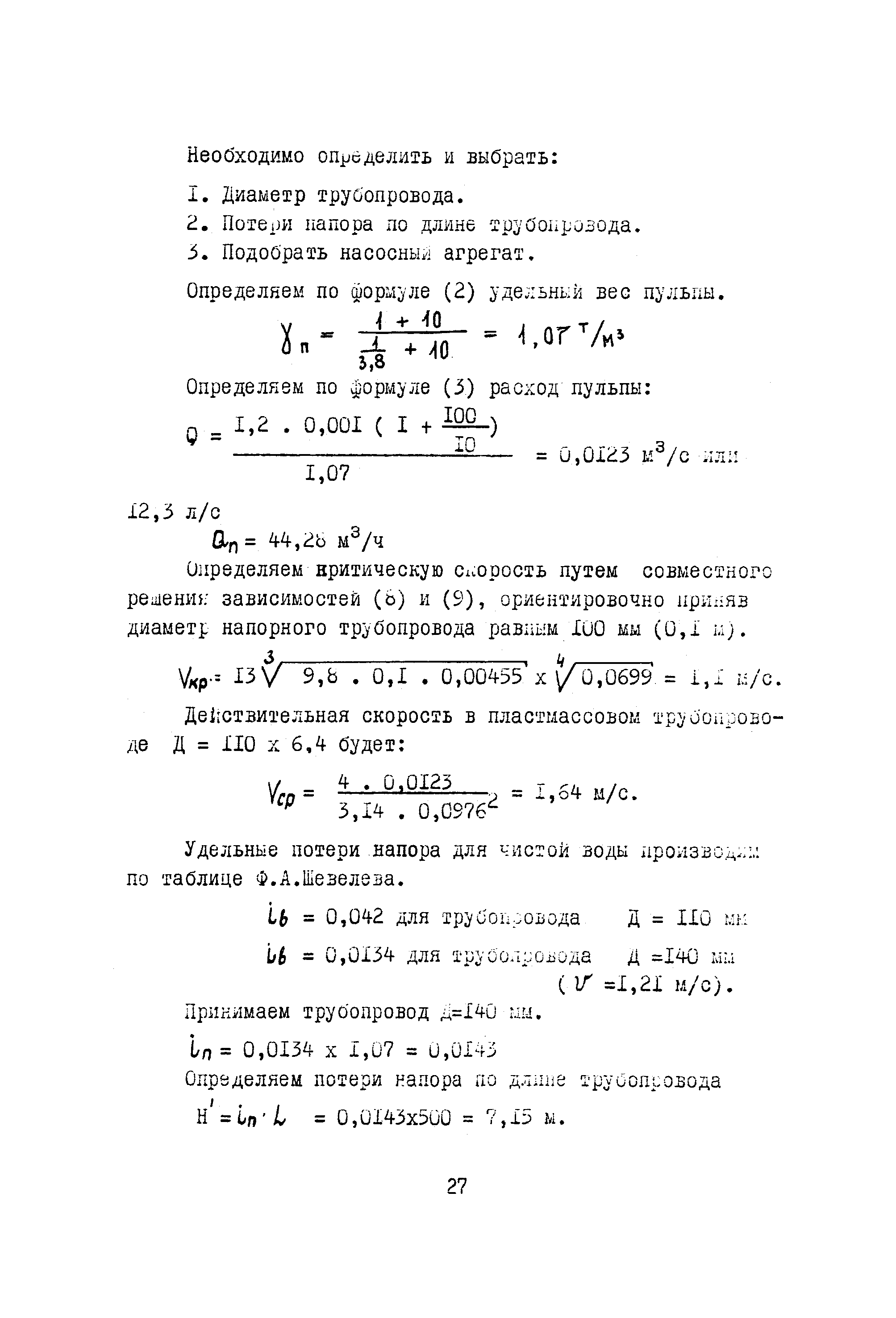
Скачать Б3-64 Рекомендации по проектированию оборотного водоснабжения систем аспирации и мокрой очистки газов литейных цеховДата актуализации: 01.01.2021
|
| Обозначение: | Б3-64 |
| Обозначение англ: | Б3-64 |
| Статус: | не установлен срок действия |
| Название рус.: | Рекомендации по проектированию оборотного водоснабжения систем аспирации и мокрой очистки газов литейных цехов |
| Дата добавления в базу: | 01.10.2014 |
| Дата актуализации: | 01.01.2021 |
| Область применения: | В рекомендации дана характеристика шламосодержащих вод после аппаратов мокрой очистки газов и воздуха литейных цехов, изложены методы обработки и очистки этих вод с целью создания замкнутых оборотных систем водоснабжения пылеочистных устройств, схемы оборотных систем и их конструктивные особенности. |
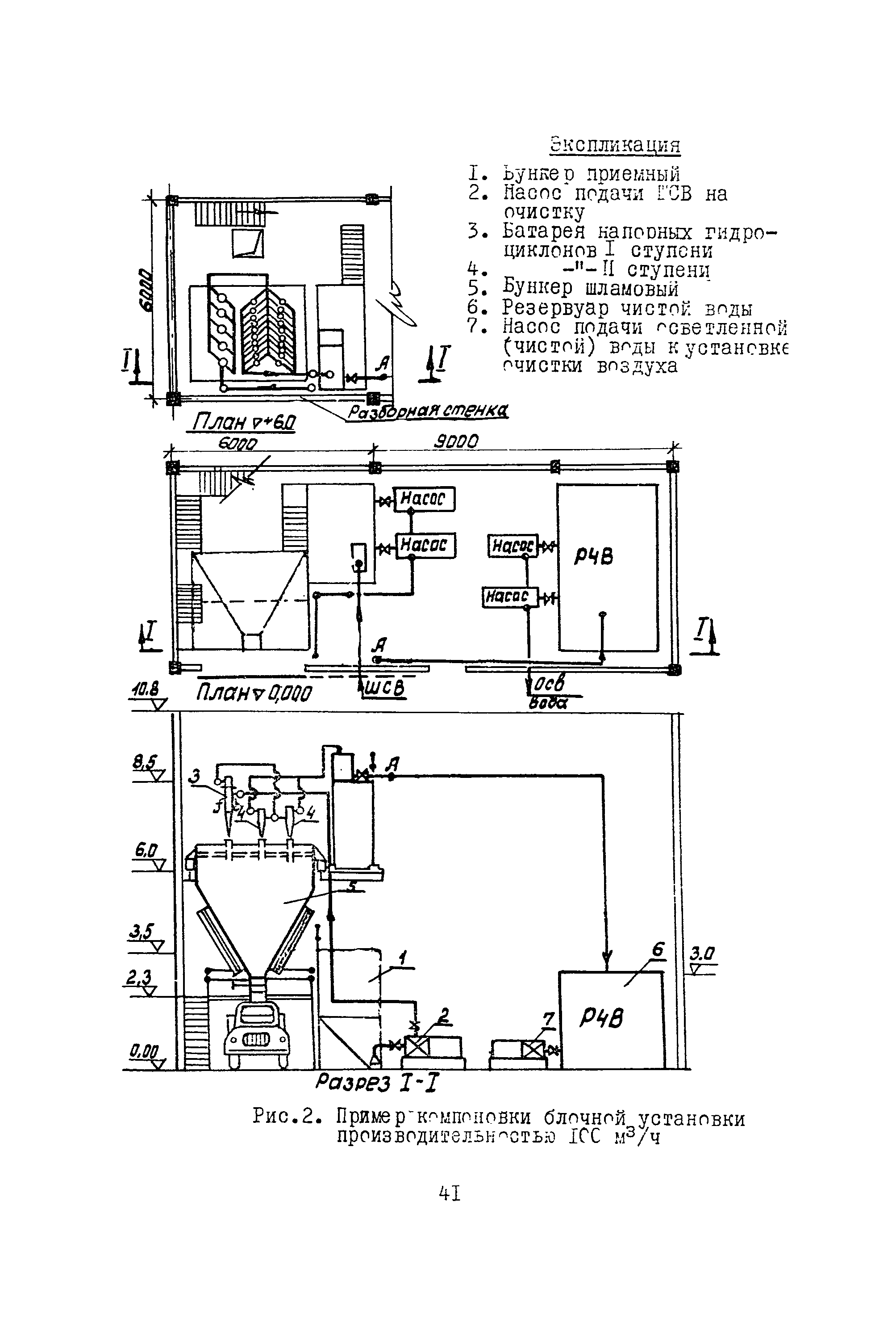
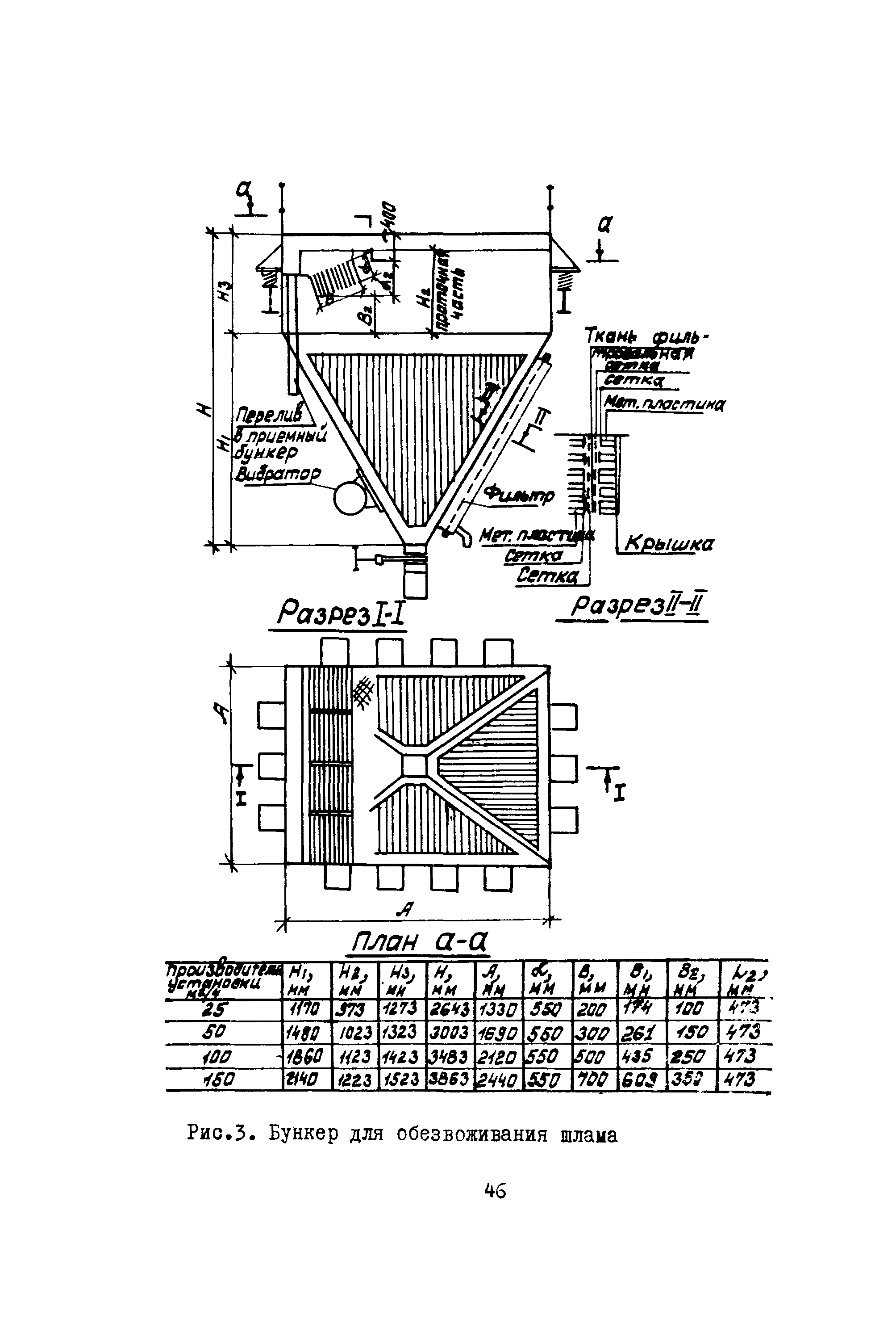
| Оглавление: | 1. Общие положения 2. Исходные данные для проектирования 3. Схемы оборотного водоснабжения 4. Расчет гидротранспорта пыли 5. Лотки, трубопроводы и арматура 6. Насосные установки 7. Очистка шламосодержащих вод 8. Охлаждение воды 9. Методы предотвращения образования отложений 10. Обезвоживание шламов 11. Автоматизация систем оборотного водоснабжения Приложение 1. Таблица гидравлического расчета стальных шламопроводов оборотного водоснабжения систем аспирации и мокрой газоочистки вагранок литейных цехов Приложение 2. Таблицы для расчета самотечного гидротранспорта Приложение 3. Пример установки насоса в зумпфе при отведении стоков лотками Приложение 4. Пример установки 2-х насосов в приямке при отведении шламосодержащих вод Приложение 5. Пример установки насосов с вакуумными баками |
| Разработан: | ГПИ Сантехпроект Госстроя СССР |
| Утверждён: | ГПИ Сантехпроект |
| Заменяет собой: |
|






























































