Скачать Инструкция по огнезащите металлоконструкций фосфатным покрытием ОФП-ММ

Дата актуализации: 01.01.2021

Инструкция по огнезащите металлоконструкций фосфатным покрытием ОФП-ММ

Статус:справочные материалы, мп, тпр
Название рус.:Инструкция по огнезащите металлоконструкций фосфатным покрытием ОФП-ММ
Дата добавления в базу:01.10.2014
Дата актуализации:01.01.2021
Область применения:Документ содержит указания по технологии приготовления и нанесения огнезащитного фосфатного покрытия, требования к исходным материалам и подготовке поверхности защищаемых металлических конструкций
Оглавление:Введение
1 Общие положения
2 Требования к исходным материалам
3 Подготовительные работы при огнезащите металлоконструкций
4 Производство работ по нанесению огнезащитных покрытий
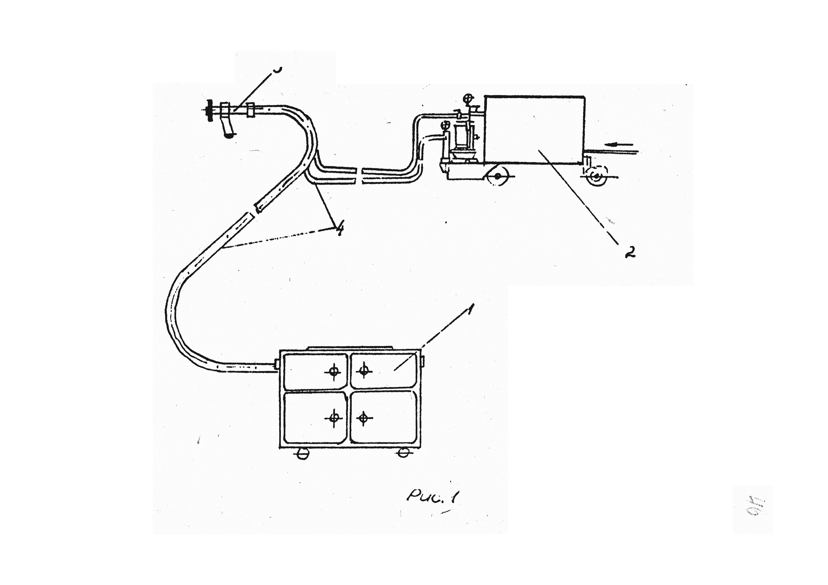
5 Устройство и принцип работы аэродинамической установки
6 Устройство и принцип работы установки конструкции "ЦЭТИ"
7 Контроль качества огнезащиты и приемка огнезащитных работ
8 Отделочные работы
9 Техника безопасности и производственная санитария при проведении огнезащитных работ
Приложение 1. Чертежи аэродинамической установки ТМ-IА
Приложение 2. Паспорт аэродинамической установки ТМ-IА
Приложение 3. Чертежи установки конструкции "ЦЭТИ"
Приложение 4. Паспорт установки конструкции "ЦЭТИ"
Приложение 5. Перечень инвентаря и приспособлений, необходимых для производства работ
Приложение 6. Перечень средств индивидуальной защиты
Разработан: ЦНИИСК им. В.А. Кучеренко
Утверждён: ЦНИИСК им. В.А. Кучеренко
Нормативные ссылки: