Скачать ВСН 120-65/Минтрансстрой СССР Технические указания по строительству автомобильных дорог в зимних условияхДата актуализации: 01.01.2021
|
| Обозначение: | ВСН 120-65/Минтрансстрой СССР |
| Обозначение англ: | VSN 120-65/Минтрансстрой СССР |
| Статус: | действует |
| Название рус.: | Технические указания по строительству автомобильных дорог в зимних условиях |
| Дата добавления в базу: | 12.02.2016 |
| Дата актуализации: | 01.01.2021 |
| Дата введения: | 15.12.1965 |
| Область применения: | Документ является дополнением к существующим инструкциям на производство работ по устройству земляного полотна, оснований и покрытий и обязателен при дорожно-строительных работах в зимнее время и при пониженных температурах. |
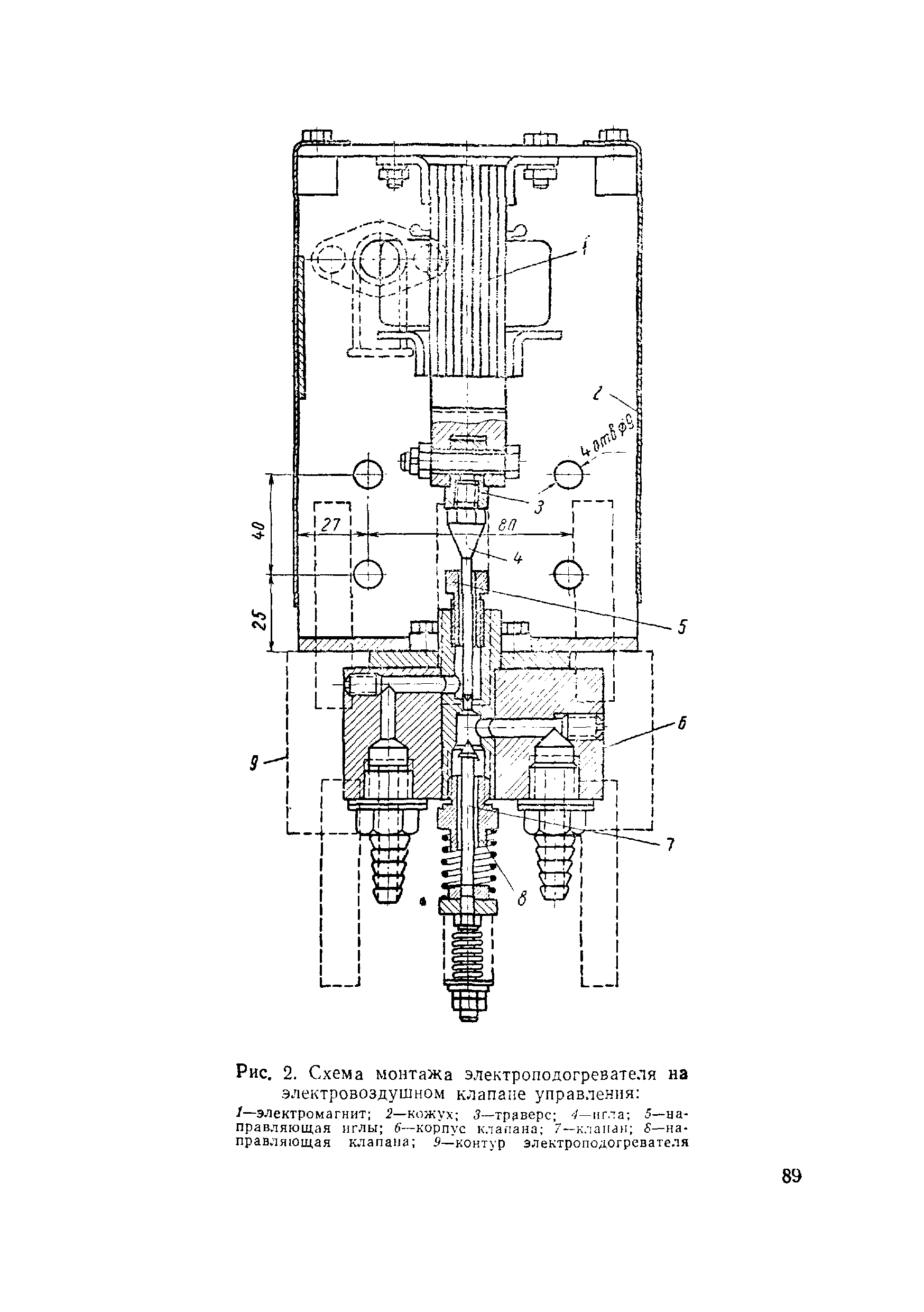
| Оглавление: | Предисловие I. Общие положения II. Возведение земляного полотна III. Устройство оснований под усовершенствованные покрытия IV. Строительство асфальтобетонных и прочих черных покрытий V. Строительство цементно-бетонных покрытий и основании VI. Заготовка дорожно-строительных нерудных материалов VII. Техническая эксплуатация машин в зимних условиях VIII. Дополнительные указания по технике безопасности Приложение 1. Деление территории СССР на температурные зоны Приложение 2. Методика определения экономической эффективности производства дорожно-строительных работ в зимнее время Приложение 3. Подготовка асфальтобетонных заводов к работе при отрицательных температурах Приложение 4. Подготовка цементно-бетонных заводов к работе при отрицательных температурах Приложение 5. Теплотехнические расчеты при бетонировании покрытий способами термоса и "холодного" бетона Приложение 6. Пример расчета состава бетона с добавками хлористых солей Приложение 7. Формы журналов контроля температуры и прочности бетона в покрытия |
| Разработан: | СоюздорНИИ |
| Утверждён: | 07.08.1965 Техническое управление Государственного производственного комитета по транспортному строительству СССР (54) |
| Издан: | Оргтрансстрой (1966 г. ) |
| Заменяет собой: |
|
| Нормативные ссылки: |









































































































