Скачать Технологическая карта на устройство тепловых сетей (внутриквартальных) из коллекторов типа ВК и РК и из труб с битумоперлитной изоляцией открытым способом

Дата актуализации: 01.01.2021

Технологическая карта на устройство тепловых сетей (внутриквартальных) из коллекторов типа "ВК" и "РК" и из труб с битумоперлитной изоляцией открытым способом

Статус:справочные материалы, мп, тпр
Название рус.:Технологическая карта на устройство тепловых сетей (внутриквартальных) из коллекторов типа "ВК" и "РК" и из труб с битумоперлитной изоляцией открытым способом
Дата добавления в базу:21.05.2015
Дата актуализации:01.01.2021
Область применения:Карта распространяется на производство строительно-монтажных и изолировочных работ при прокладке внутриквартальных тепловых сетей с устройством проходного канала из сборных железобетонных коллекторов и бесканальным способом из труб с индустриальной битумноперлитной изоляцией
Оглавление:1. Общая часть
2. Подготовительные работы
3. Организация производства работ
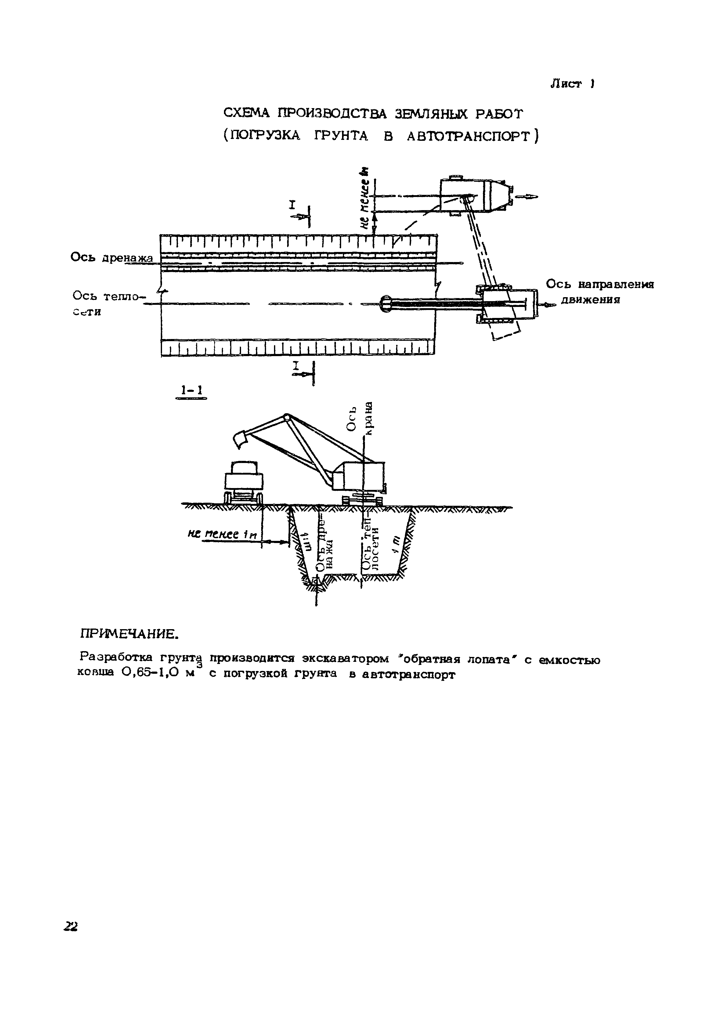
4. Производство земляных работ
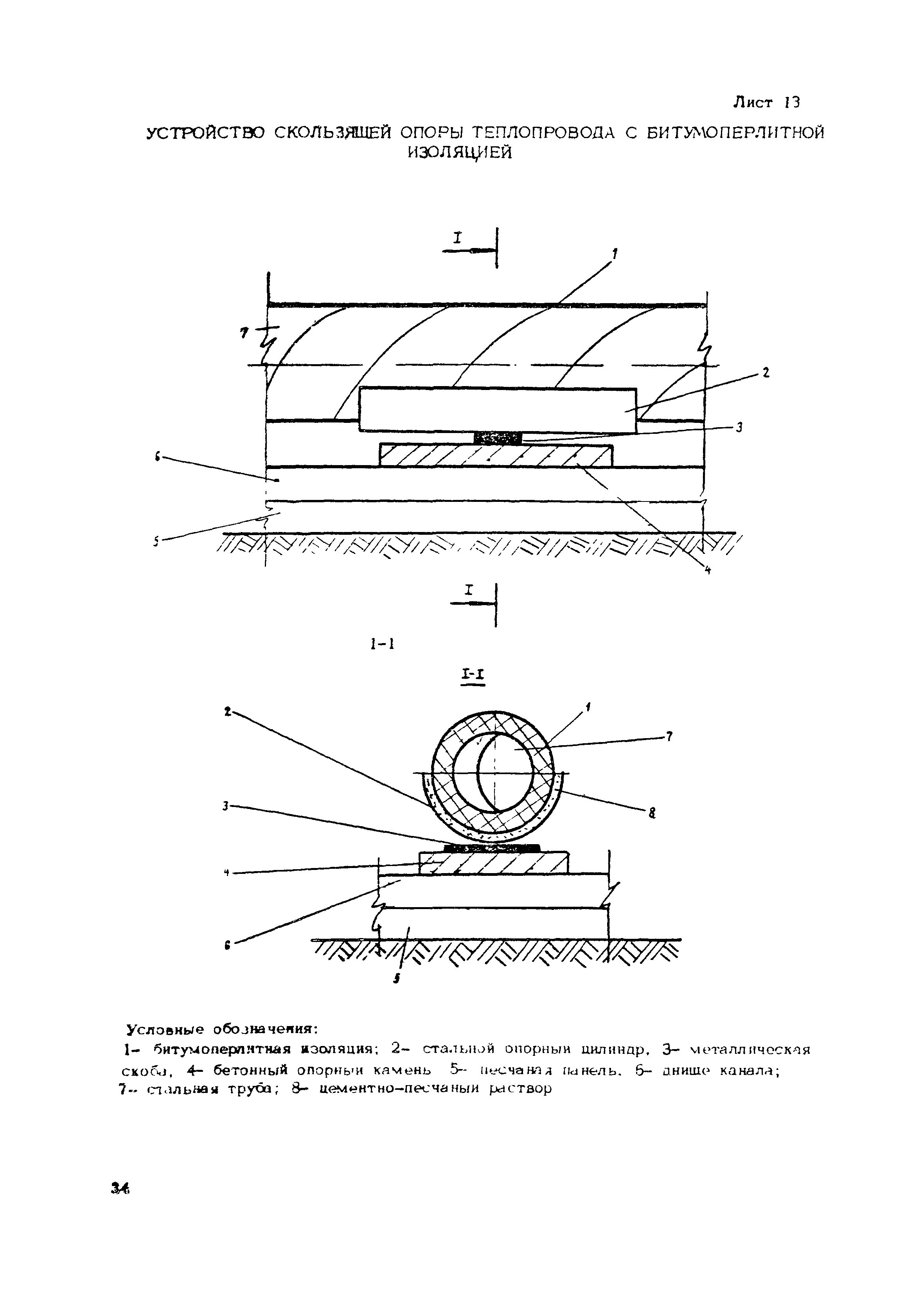
5. Технология производства работ на устройство коллекторов и прокладки битумоперлитовых труб бесканальным способом
6. Обратная засыпка
7. Приемка, сдача и контроль за качеством работ (ТПКВК—73; ВСН16-76)
8. Организация труда
9. Рекомендуемый способ загрузки коллекторов трубами
10. Техника безопасности
11. Перечень рекомендуемых механизмов и тары
Приложение 1. Акт на разбивку трассы внутриквартального коллектора (теплотрассы)
Приложение 2. Акт приемки в эксплуатацию внутриквартального коллектора (теплотрассы)
Разработан: Мосоргстрой
Принят: Управление подготовки производства Главмосстроя
Нормативные ссылки: