Скачать Рекомендации по проектированию бистальных балок

Дата актуализации: 01.01.2021

Рекомендации по проектированию бистальных балок

Статус:справочные материалы, мп, тпр
Название рус.:Рекомендации по проектированию бистальных балок
Дата добавления в базу:12.02.2016
Дата актуализации:01.01.2021
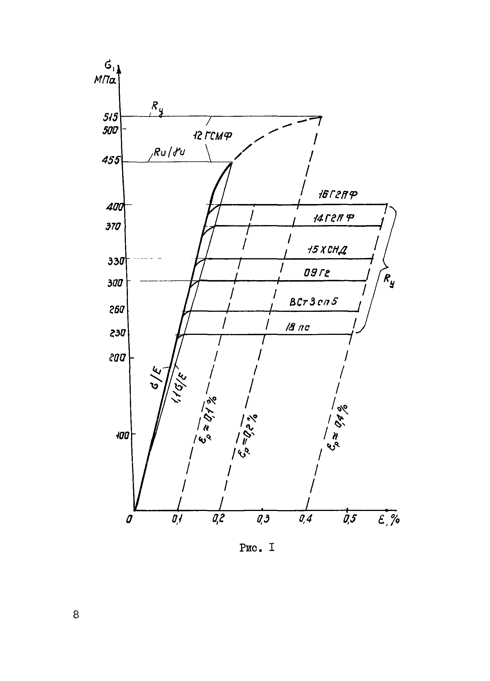
Область применения:Рекомендации могут быть использованы при проектировании бистальных пролетных строений. На проектирование тонкостенных бистальных балок Рекомендации не распространяются.
Оглавление:1. Общие положения
2. Выбор марок сталей и конструктивные формы бистальных балок
3. Расчеты прочности
   3.1. Изгибаемые элементы
   3.2. Изгиб с продольной силой
   3.3. Расчетные коэффициенты
   3.4. Учет влияния местных напряжений
   3.5. Учет влияния касательных напряжений
4. Обеспечение общей и местной устойчивости
5. Расчет выносливости
6. Определение прогибов бистальных балок
7. Особенности расчета подкрановых балок
8. Примеры расчета
9. Главные области применения и экономический эффект
Литература
Разработан: ЦНИИпроектстальконструкция им. Мельникова
Утверждён: ЦНИИпроектстальконструкция им. Мельникова
Издан: ЦНИИПСК им. Мельникова (1985 г. )
Нормативные ссылки: