Скачать ГОСТ 33032-2014 Валы карданные сельскохозяйственных машин. Общие технические условияДата актуализации: 01.01.2021
|
| Обозначение: | ГОСТ 33032-2014 |
| Обозначение англ: | GOST 33032-2014 |
| Статус: | введен впервые |
| Название рус.: | Валы карданные сельскохозяйственных машин. Общие технические условия |
| Название англ.: | Power take-off drive shafts of agricultural machinery. General specifications |
| Дата добавления в базу: | 12.02.2016 |
| Дата актуализации: | 01.01.2021 |
| Дата введения: | 01.01.2016 |
| Область применения: | Стандарт распространяется на карданные валы привода сельскохозяйственных машин, валы приема мощности, задние валы отбора мощности сельскохозяйственных тракторов. |
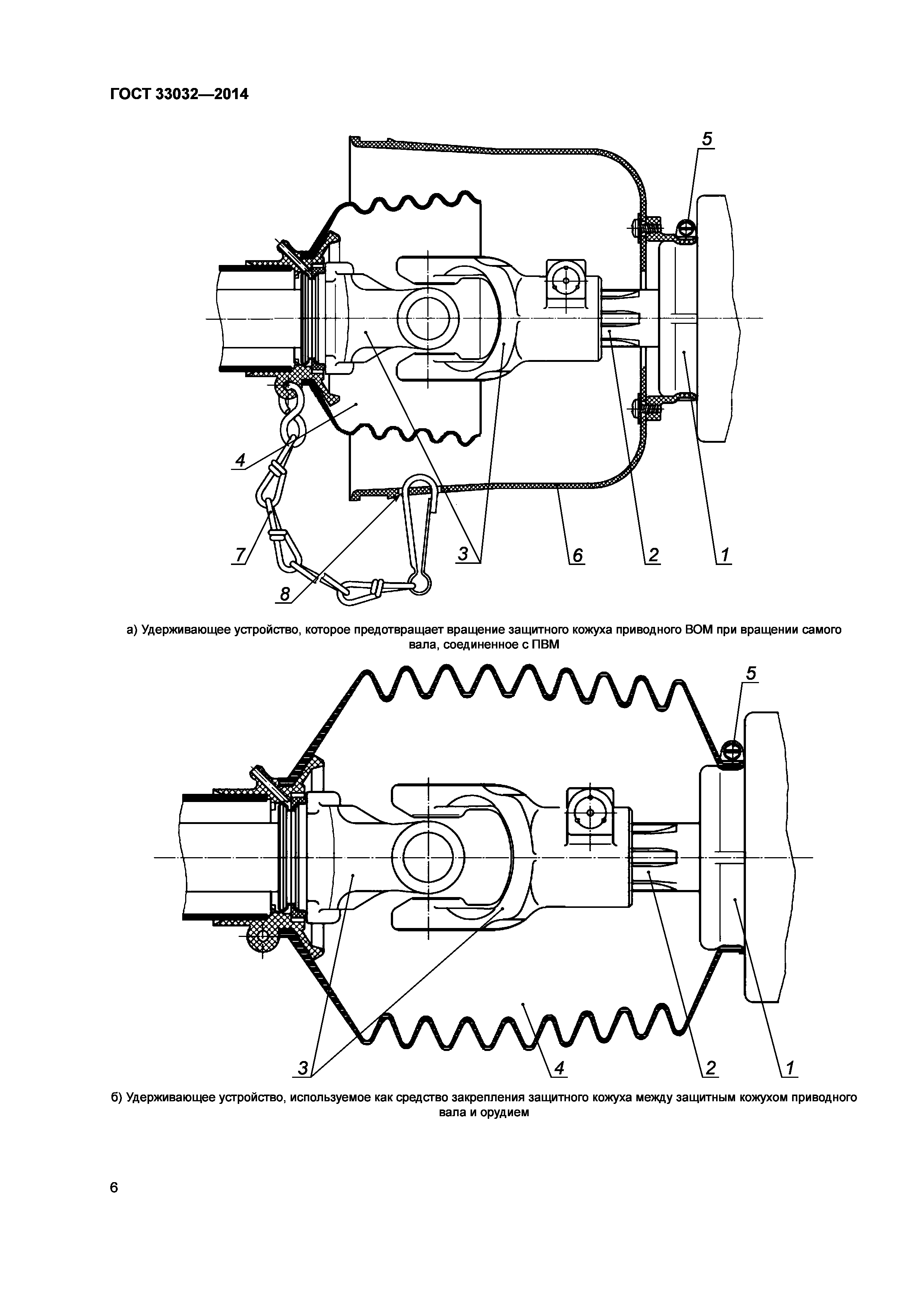
| Оглавление: | 1 Область применения 2 Нормативные ссылки 3 Термины и определения 4 Типы, основные параметры и размеры ВОМ. Общие технические требования. Требования безопасности 5 Применение типов хвостовиков ВОМ для тракторов тяговых классов от 0,6 до 8, имеющих колею более 1150 мм, основные размеры ВОМ 6 Основные параметры ВОМ для тракторов тяговых классов от 0,2 до 0,9, имеющих колею не более 1150 мм 7 Требования к изготовлению карданных валов 8 Применение карданных валов 9 Положение и зона свободного пространства вокруг ВПМ при соединении орудий с различными типами сцепных устройств Приложение А (справочное) Перечень технических отклонений Приложение Б (рекомендуемое) Сравнение структур международных стандартов со структурой межгосударственного стандарта |
| Разработан: | ВНИИНМАШ |
| Утверждён: | 20.10.2014 Межгосударственный Совет по стандартизации, метрологии и сертификации (Inter-Governmental Council on Standardization, Metrology, and Certification 71-П) 15.06.2015 Федеральное агентство по техническому регулированию и метрологии (725-ст) |
| Издан: | Стандартинформ (2015 г. ) |
| Нормативные ссылки: |
|

















































