Скачать Указания по расчету устойчивости высоких насыпей и глубоких выемок автомобильных дорог

Дата актуализации: 01.01.2021

Указания по расчету устойчивости высоких насыпей и глубоких выемок автомобильных дорог

Статус:справочные материалы, мп, тпр
Название рус.:Указания по расчету устойчивости высоких насыпей и глубоких выемок автомобильных дорог
Дата добавления в базу:12.02.2016
Дата актуализации:01.01.2021
Область применения:Указания рекомендуются для руководства при индивидуальном проектировании насыпей и выемок в случаях, не предусмотренных типовыми решениями.
Оглавление:I. Общие положение
II. Нагрузки и коэффициенты
III. Инженерно-геологические данные, необходимые для расчета устойчивости насыпей и выемок
IV. Расчет устойчивости
V. Расчет несущей способности и осадки основания насыпи
VI. Указания по конструированию высоких насыпей и глубоких выемок
VII. Графические материалы (чертежи)
Приложение 1. Определение очертания устойчивого откоса по приближенному графику ВОДГЕО
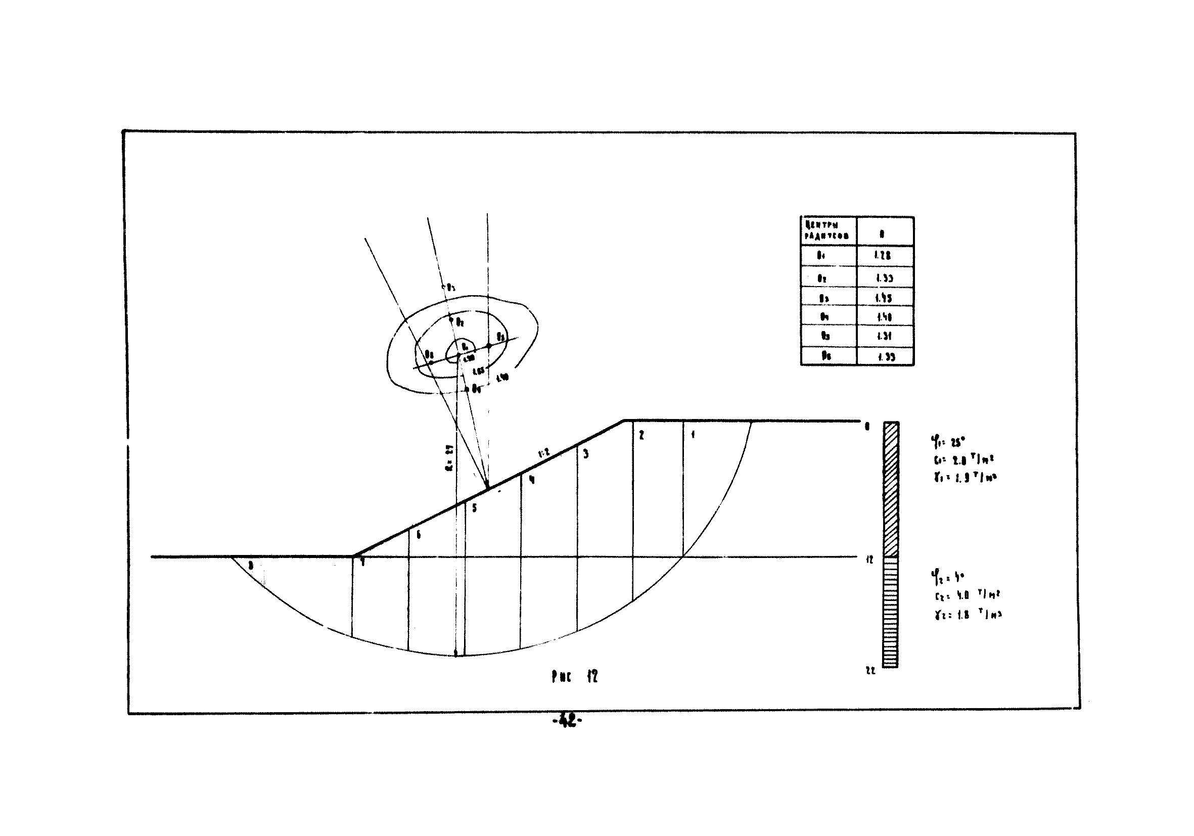
Приложение 2. Расчет устойчивости откоса по круглоцилиндрической поверхности
Приложение 3. Расчет устойчивости откоса насыпи на слабом основании
Приложение 4. Расчет устойчивости косогорной насыпи из камня на сдвиг по основанию
Приложение 5. Расчет устойчивости расширяемой насыпи при возведении земляного полотна из суглинка
Приложение 6. Расчет устойчивости откоса с учетом гидродинамических сил
Приложение 7. Проверки устойчивости основании на выдавливливание
Приложение 8. Расчет осадки насыпи за счет уплотнения основания
Приложение 9. Определение длительности уплотнения слоев водонасыщенной глины в основании насыпи
Приложение 10. Справочные данные по геотехническим свойствам грунтов
Разработан: Союздорпроект Минтрансстроя
Утверждён:30.01.1964 Союздорпроект Минтрансстроя (Soyuzdorproject, Mintransstroy )
Нормативные ссылки: