Скачать Временные правила охраны сооружений и природных объектов от вредного влияния подземных горных разработок месторождений руд цветных металлов с неизученным процессом сдвижения горных пород

Дата актуализации: 01.01.2021

Временные правила охраны сооружений и природных объектов от вредного влияния подземных горных разработок месторождений руд цветных металлов с неизученным процессом сдвижения горных пород

Статус:справочные материалы, мп, тпр
Название рус.:Временные правила охраны сооружений и природных объектов от вредного влияния подземных горных разработок месторождений руд цветных металлов с неизученным процессом сдвижения горных пород
Дата добавления в базу:12.02.2016
Дата актуализации:01.01.2021
Область применения:Временные правила устанавливают границы зон влияния подземных горных разработок и регламентируют меры охраны и условия выемки руды под зданиями, сооружениями и природными объектами на месторождениях руд цветных металлов с неизученным процессом сдвижения горных пород.
Оглавление:Введение
I Общие положения
II Форма проявления и продолжительность процесса сдвижения
III Определение границ зоны опасного влияния подземных разработок
IV Условия устойчивости, деформированных и обрушения подработанной толщи пород и земной поверхности
V Меры охраны и условия безопасной подработки сооружений и природных объектов
VI Построение предохранительных целиков
VII Примеры построения предохранительных целиков и определения границ зоны опасных сдвижений в толще пород и на земной поверхности
   1. Оценка устойчивости земной поверхности над подлежащей отработке рудной залежью
   2. Определение формы проявления процесса сдвижения земной поверхности при разработке слепой залежи
   3. Построение границ зоны возможного образования воронок обрушения и повалов на земной поверхности
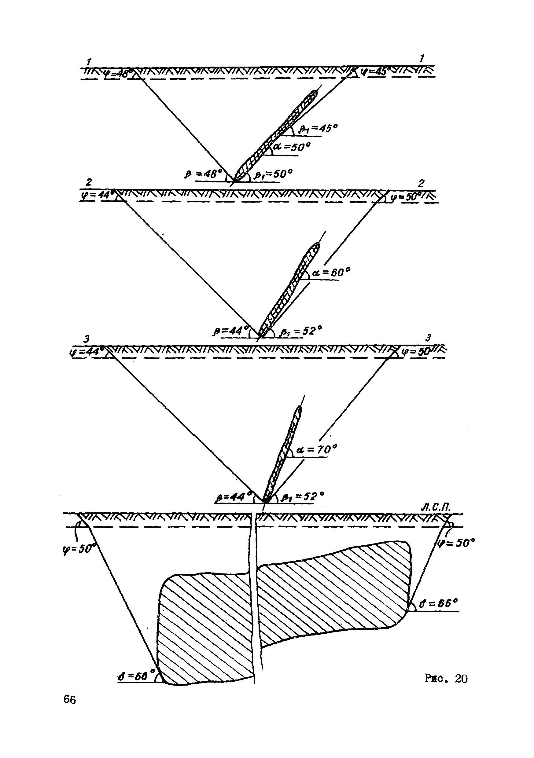
   4. Построение границ области опасных сдвижений в толще пород
   5. Построение предохранительного целика для группы зданий, расположенных в висячем боку пластообразной залежи
   6. Построение предохранительного целика для охраны ствола и сооружений промплощадки, расположенных в лежачем боку залежи
   7. Построение предохранительного целика под железную дорогу МПС местного значения
   8. Построение предохранительного целика при разработке месторождения жильного типа
   9. Построение предохранительного целина при сложной гипсометрии залежи
   10. Построение границ зоны опасных сдвижений на земной поверхности
Приложение 1. Определение эффективной мощности при отработке рудных тел о применением закладки выработанного пространства
Приложение 2. Допустимые деформации земной поверхности для охраняемых объектов
Разработан: ВНИИ горной геомеханики и маркшейдерского дела (ВНИМИ)
Нормативные ссылки: