Скачать ГОСТ 33784-2016 Материалы уплотнительные и прокладки из них. Метод определения сжимаемости и восстанавливаемостиДата актуализации: 01.01.2021
|
| Обозначение: | ГОСТ 33784-2016 |
| Обозначение англ: | GOST 33784-2016 |
| Статус: | введен впервые |
| Название рус.: | Материалы уплотнительные и прокладки из них. Метод определения сжимаемости и восстанавливаемости |
| Название англ.: | Sealing materials and gaskets from them. Method for determination of compressibility and recoverability |
| Дата добавления в базу: | 01.02.2017 |
| Дата актуализации: | 01.01.2021 |
| Дата введения: | 01.01.2018 |
| Область применения: | Стандарт устанавливает метод определения сжимаемости и восстанавливаемости уплотнительных материалов и прокладок из них при температуре 23 в степени +7 индекс -3. Сущность метода заключается в определении изменения толщины материала под воздействием приложенной нагрузки и после снятия ее за установленный период времени. |
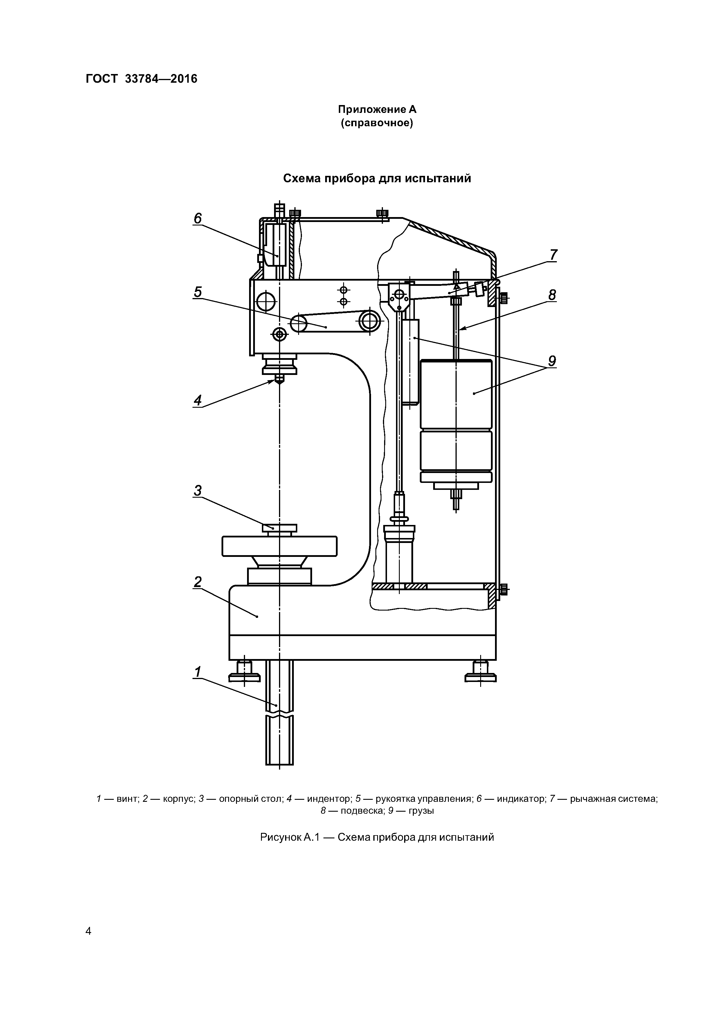
| Оглавление: | 1 Область применения 2 Нормативные ссылки 3 Термины и определения 4 Отбор образцов и кондиционирование 5 Подготовка к испытаниям 6 Аппаратура 7 Проведение испытаний 8 Обработка результатов 9 Протокол испытаний Приложение А (справочное) Схема прибора для испытаний |
| Разработан: | ТК 160 Продукция нефтехимического комплекса ОАО ФРИТЕКС |
| Утверждён: | 20.04.2016 Межгосударственный Совет по стандартизации, метрологии и сертификации (Inter-Governmental Council on Standardization, Metrology, and Certification 87-П) 15.06.2016 Федеральное агентство по техническому регулированию и метрологии (623-ст) |
| Издан: | Стандартинформ (2016 г. ) |
| Нормативные ссылки: |







