Скачать Технологическая схема очистных и подготовительных работ при камерной системе разработки для шахт производственного объединения Эстонсланец

Дата актуализации: 01.01.2021

Технологическая схема очистных и подготовительных работ при камерной системе разработки для шахт производственного объединения "Эстонсланец"

Статус:справочные материалы, мп, тпр
Название рус.:Технологическая схема очистных и подготовительных работ при камерной системе разработки для шахт производственного объединения "Эстонсланец"
Дата добавления в базу:01.02.2017
Дата актуализации:01.01.2021
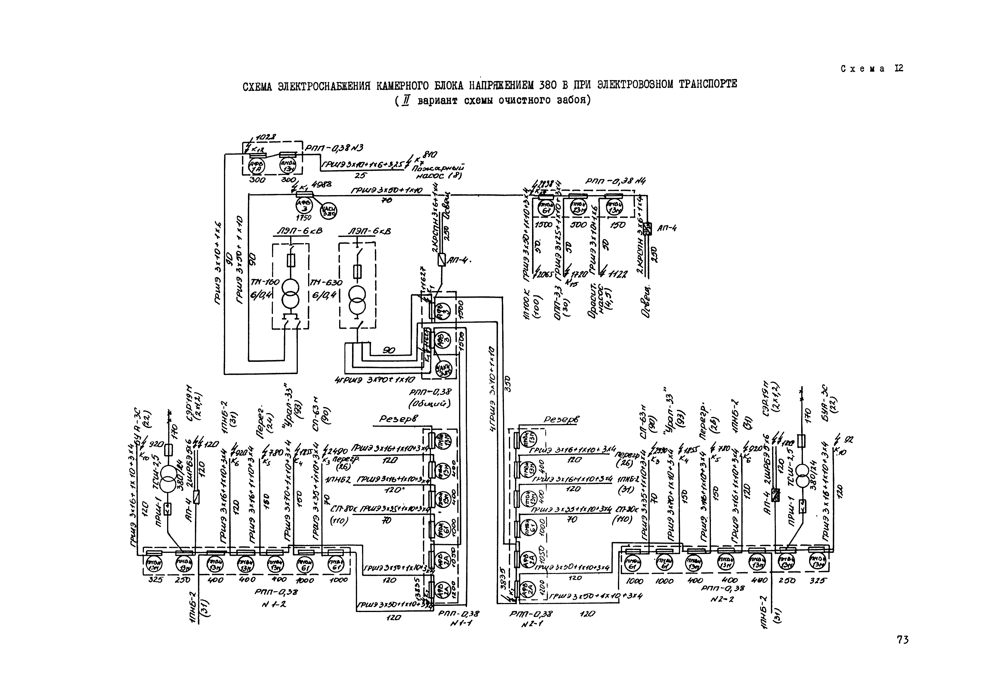
Область применения:Технологическая схема очистных и подготовительных работ при камерной системе разработки предназначена для применения в сланцевых шахтах Эстонского месторождения.
Оглавление:1. Введение
2. Современное состояние и пути совершенствования технологии подземной добычи сланцев
3. Основные принципы и исходные положения разработки технологической схемы
4. Определение параметров очистных камер и целиков
5. Средства механизации очистных работ
6. Участковый транспорт
7. Горноподготовительные работы
8. Вопросы вентиляции, борьбы с пылью и подземными водами
9. Электроснабжение очистных и подготовительных шахт
10. Производственно-технологическая связь и сигнализация
11. Производственная эстетика и культура труда на подземных участках сланцевых шахт
12. Опыт работы и очистных и подготовительных работах
13. Методика расчета нагрузки на камерный блок
14. Экономическая эффективность технологической схемы
Заключение
Схемы очистных и подготовительных работ
Разработан: ВНИМИ
ИГД им. А.А. Скочинского
ПО Эстонсланец
Технологическое управление по подземному способу добычи Минуглепрома СССР
Утверждён:15.03.1979 ПО Эстонсланец
Издан: ИГД им. А.А. Скочинского (1979 г. )