Скачать Технологические схемы очистки от взвешенных веществ и обеззараживания шахтных вод. Каталог

Дата актуализации: 01.01.2021

Технологические схемы очистки от взвешенных веществ и обеззараживания шахтных вод. Каталог

Статус:справочные материалы, мп, тпр
Название рус.:Технологические схемы очистки от взвешенных веществ и обеззараживания шахтных вод. Каталог
Дата добавления в базу:01.02.2017
Дата актуализации:01.01.2021
Область применения:Технологические схемы предназначены для использования проектными организациями при разработке проектов новых и реконструкции действующих очистных сооружений шахтных вод.
Оглавление:Введение
Пояснительная записка
   Характеристика шахтных вод
   Требования к качеству шахтных вод при их использовании и сбросе в водоемы
   Методы очистки шахтных вод
   Технологические схемы очистки
   Исходные данные для проектирования
Технологические схемы очистки от взвешенных веществ и обеззараживания шахтных вод, проверенные в промышленных условиях
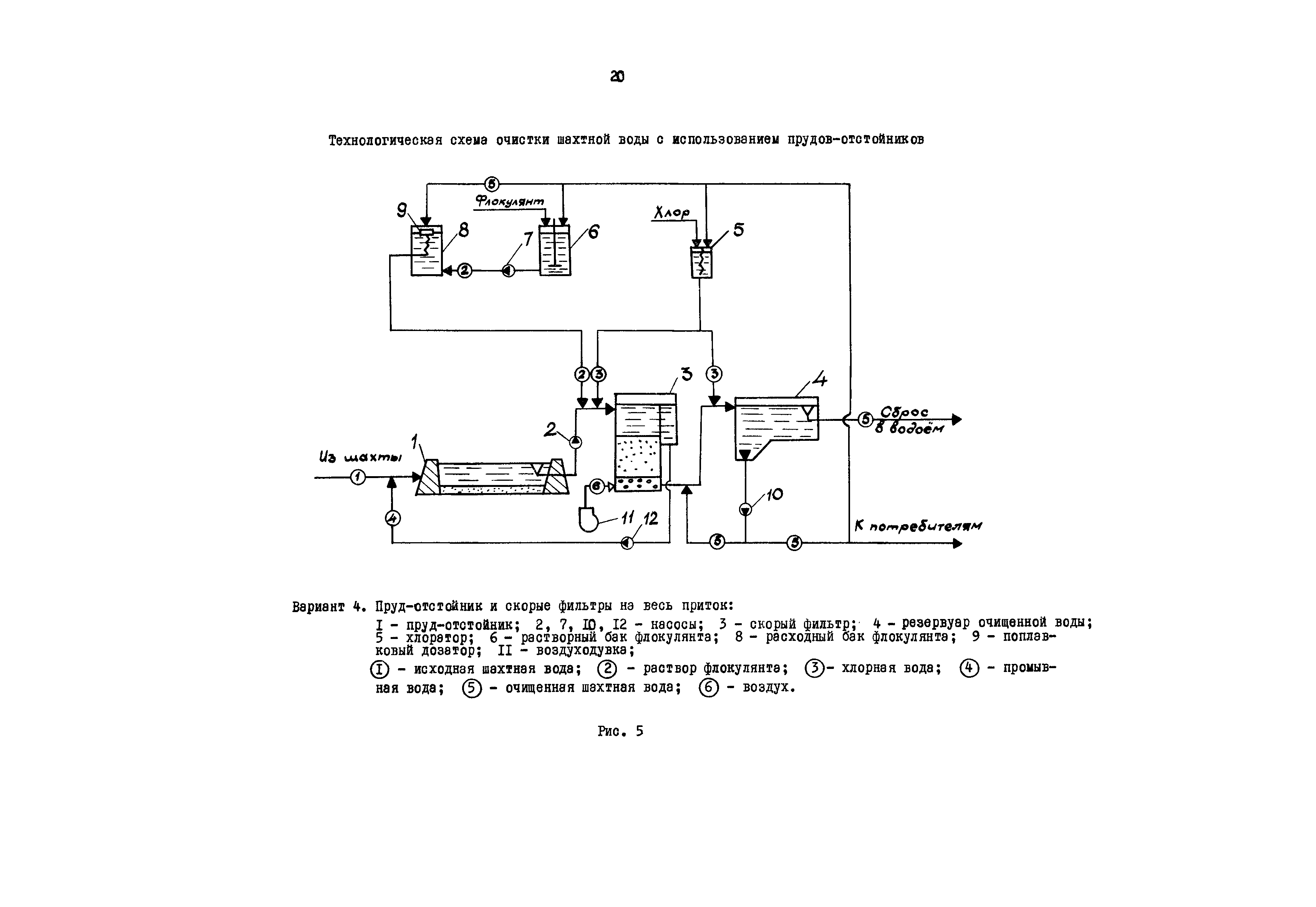
   Технологическая схема очистки шахтной воды с использованием прудов—отстойников
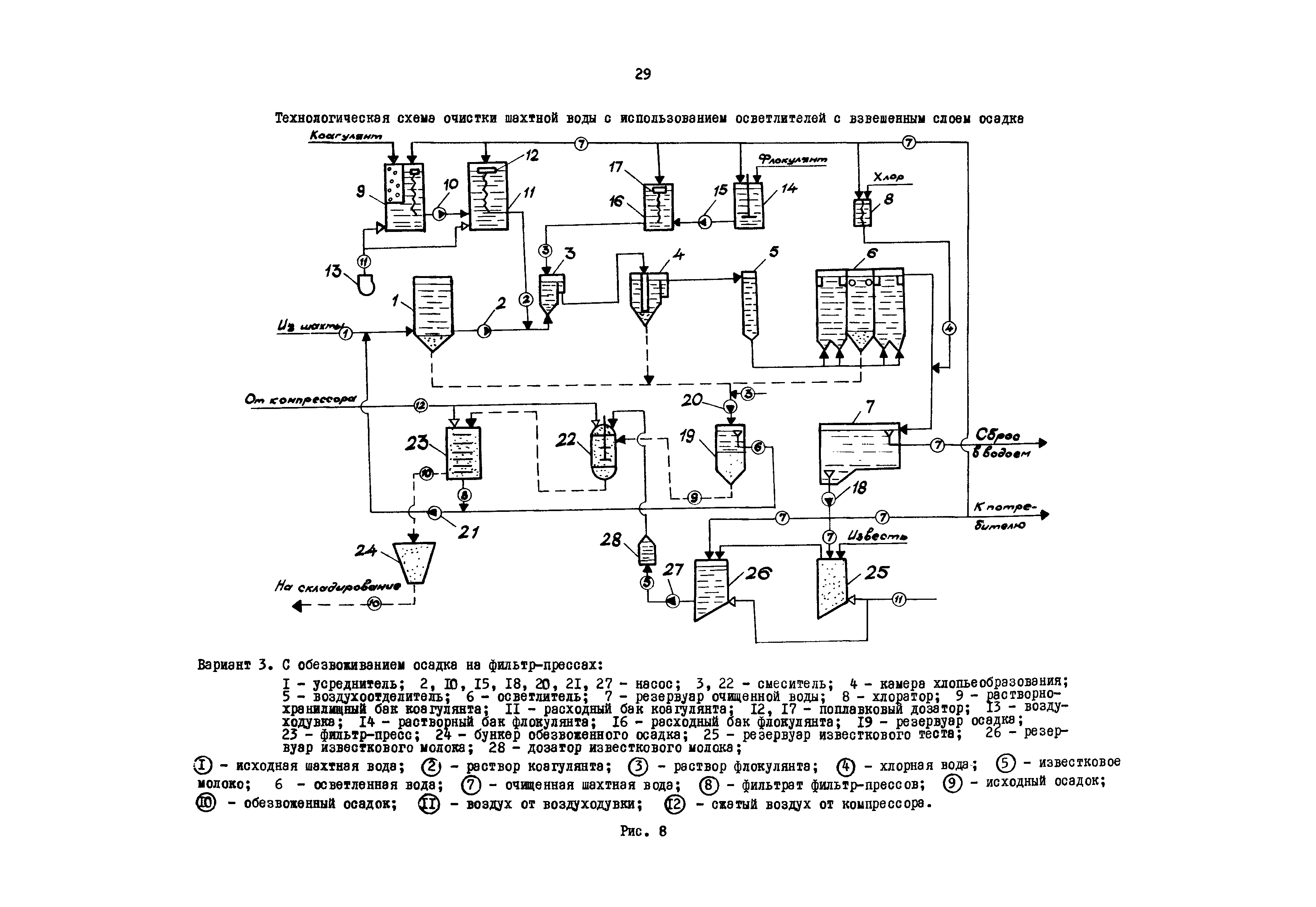
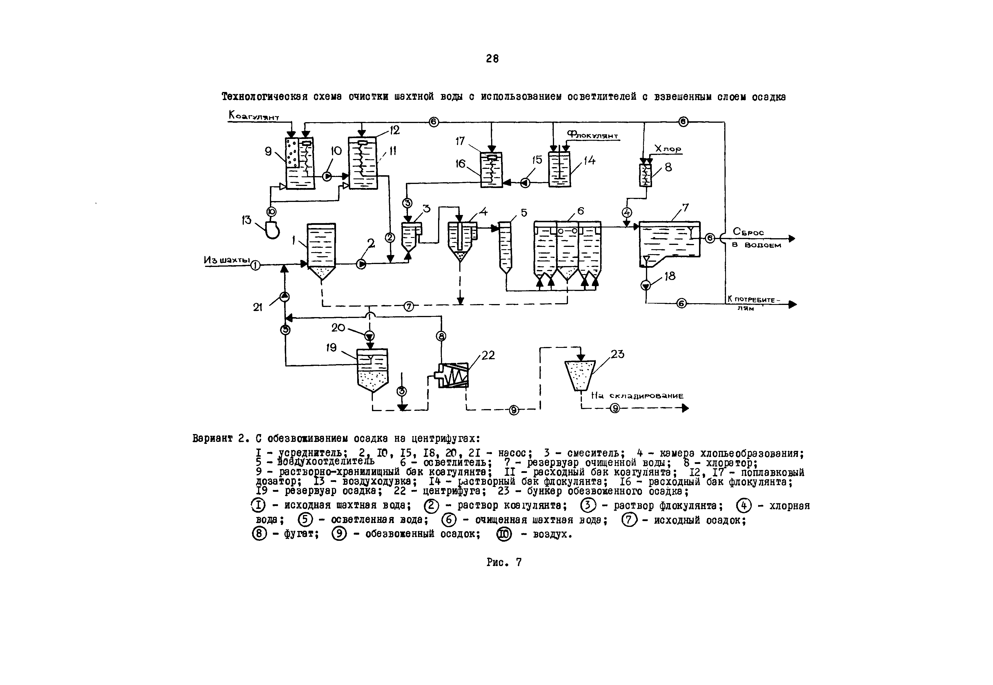
   Технологическая схема очистки шахтной воды с использованием осветлителей со взвешенным слоем осадка
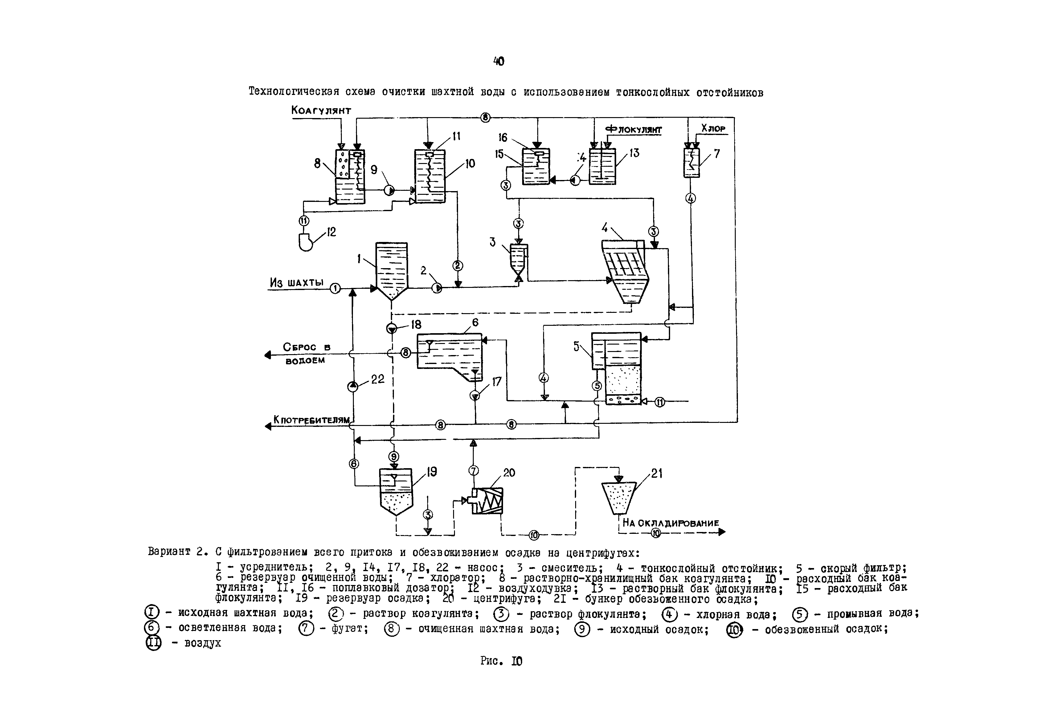
   Технологическая схема очистки шахтной воды с использованием тонкослойных отстойников
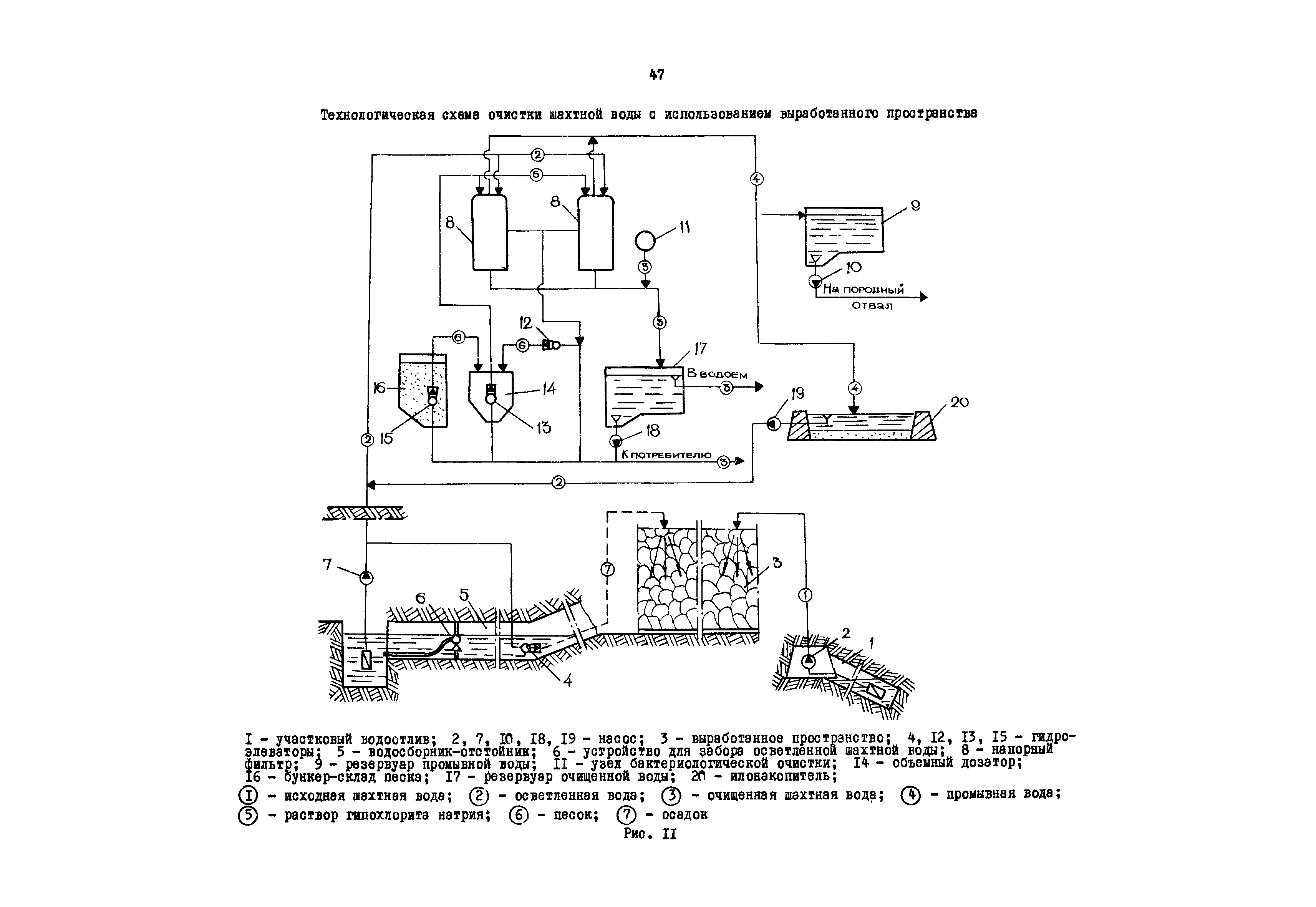
   Технологическая схема очистки шахтной воды с использованием выработанного пространства
Технологические схемы очистки от взвешенных веществ и обеззараживания шахтных вод, проверенные в опытно-промышленных условиях
   Технологическая схема очистки шахтной воды с использованием фильтров с восходящим потоком
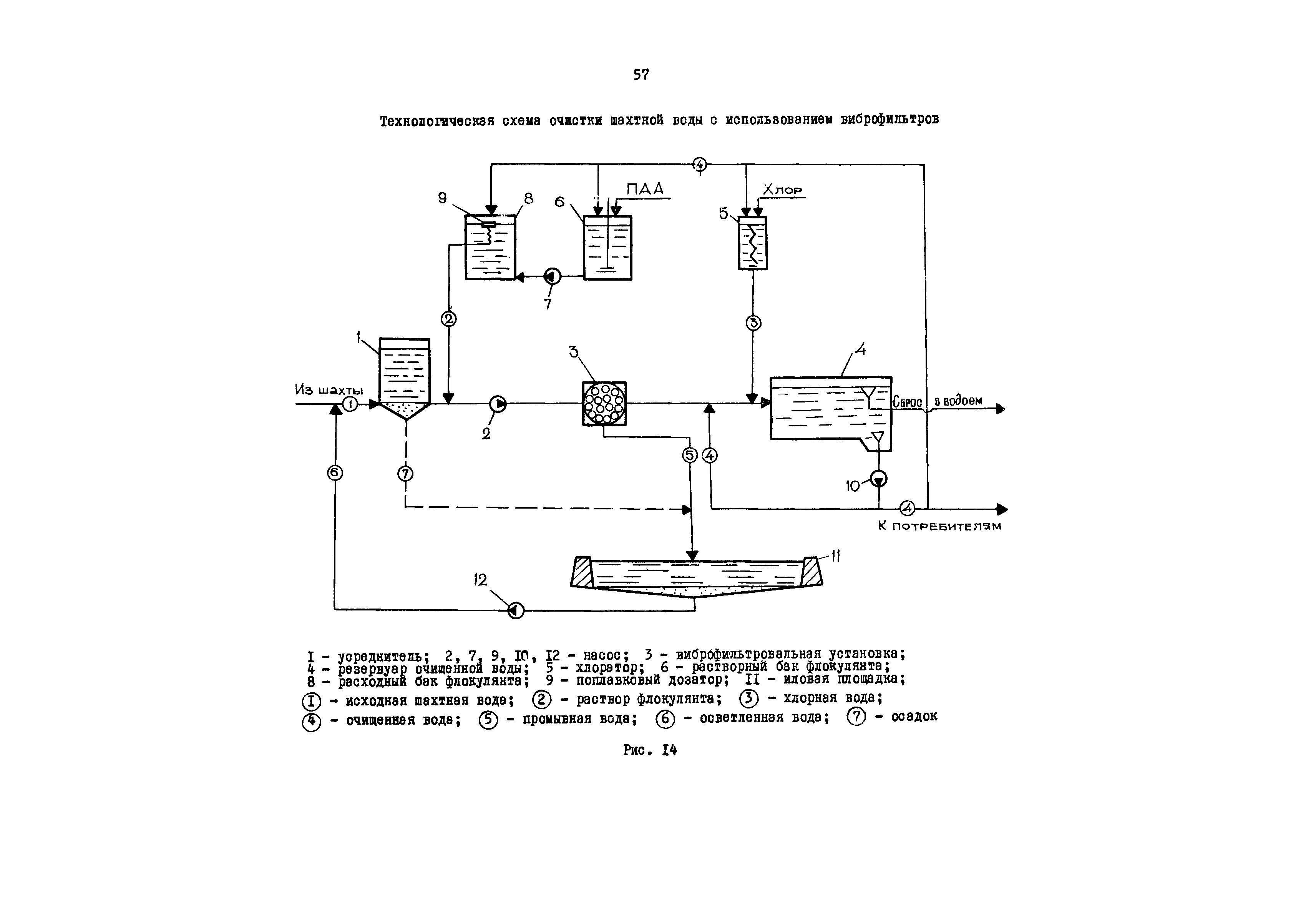
   Технологическая схема очистки шахтной воды с использованием виброфильтров
Литература
Приложение. Типовые схемы и методика расчета усреднителей шахтных вод
Утверждён:28.11.1984 Министерство угольной промышленности СССР (USSR Ministry of the Coal Industry )
Заменяет собой:
  • «Технологические схемы очистки от взвешенных веществ и обеззараживания шахтных вод» (Издание 1977 года)
Нормативные ссылки: