Скачать ОСТ 95 10170-86 Двери радиационно-защитные, распашные стальные. Конструкция и размерыДата актуализации: 01.01.2021
|
| Обозначение: | ОСТ 95 10170-86 |
| Обозначение англ: | OST 95 10170-86 |
| Статус: | не определен законодательством |
| Название рус.: | Двери радиационно-защитные, распашные стальные. Конструкция и размеры |
| Дата добавления в базу: | 01.02.2017 |
| Дата актуализации: | 01.01.2021 |
| Дата введения: | 01.01.1987 |
| Дата окончания срока действия: | 30.06.2003 |
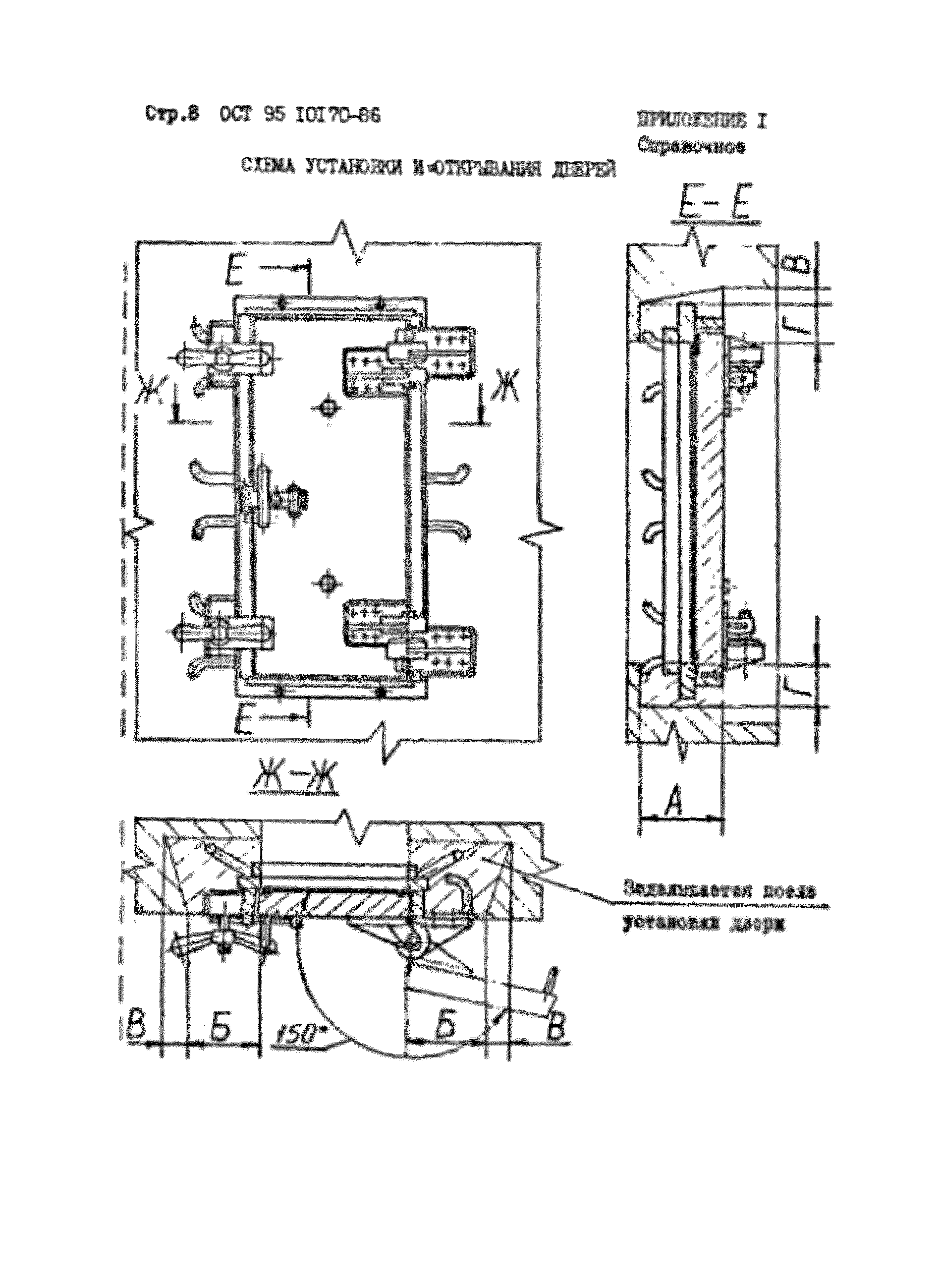
| Область применения: | Стандарт распространяется на радиационно-защитные, распашные двери, предназначенные для перекрытия проемов специальных помещений и обеспечивающие защиту от гамм-излучений. |
| Оглавление: | Приложение 1. Справочное. Схема установки и открывания дверей Приложение 2. Справочное. Размеры заделки закладной рамы в бетонный проем Приложение 3. Справочное. Примеры записи дверей в ведомостях и спецификации |
| Утверждён: | 15.05.1986 Министерство атомной энергетики и промышленности СССР (Ministry of Atomic Energy and Industry 207) |
| Нормативные ссылки: |
|











