Скачать ГОСТ Р 57209-2016 Вибрация. Руководство по выбору вибростендов. Оборудование для определения динамических свойств конструкций

Дата актуализации: 01.01.2021

ГОСТ Р 57209-2016

Вибрация. Руководство по выбору вибростендов. Оборудование для определения динамических свойств конструкций

Обозначение: ГОСТ Р 57209-2016
Обозначение англ: GOST R 57209-2016
Статус:введен впервые
Название рус.:Вибрация. Руководство по выбору вибростендов. Оборудование для определения динамических свойств конструкций
Название англ.:Vibration. Guidance for selection of vibration generating machines. Equipment for measurements of dynamic properties of structures
Дата добавления в базу:01.02.2017
Дата актуализации:01.01.2021
Дата введения:01.10.2017
Область применения:Стандарт устанавливает руководство по выбору вибростенда (вибровозбудителя) для проведения испытаний с целью определения частотных характеристик конструкции и степени усиления или ослабления вибрации при ее распространении по конструкции (далее - испытания). Такие испытания могут быть выполнены в натурных или в лабораторных условиях. Стандарт распространяется на возбуждение поступательной вибрации. Рекомендации по выбору испытательного оборудования для возбуждения угловой вибрации приведены в [5].
Оглавление:1 Область применения
2 Нормативные ссылки
3 Термины и определения
4 Испытания
5 Вибровозбудители
6 Рекомендации по выбору
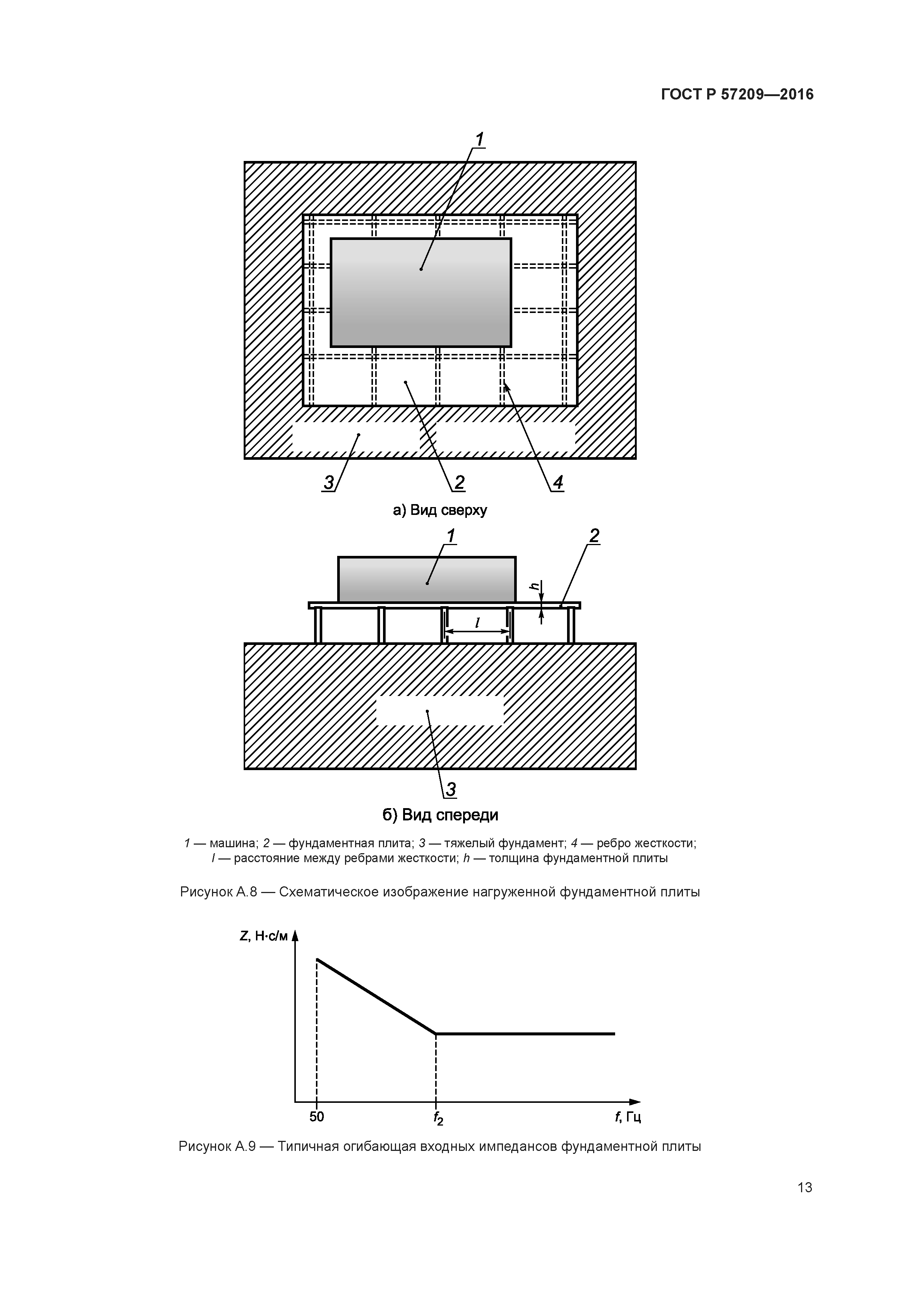
Приложение А (справочное) Приближенная оценка механических импедансов для объектов некоторых видов
Приложение Б (справочное) Примеры выбора испытательного оборудования
Библиография
Разработан: АО НИЦ КД
ФГУП Крыловский государственный научный центр
Утверждён:02.11.2016 Федеральное агентство по техническому регулированию и метрологии (1572-ст)
Издан: Стандартинформ (2016 г. )
Стандартинформ (2019 г. )
Нормативные ссылки:
ГОСТ Р 57209-2016ГОСТ Р 57209-2016ГОСТ Р 57209-2016ГОСТ Р 57209-2016ГОСТ Р 57209-2016ГОСТ Р 57209-2016ГОСТ Р 57209-2016ГОСТ Р 57209-2016ГОСТ Р 57209-2016ГОСТ Р 57209-2016ГОСТ Р 57209-2016ГОСТ Р 57209-2016ГОСТ Р 57209-2016ГОСТ Р 57209-2016ГОСТ Р 57209-2016ГОСТ Р 57209-2016ГОСТ Р 57209-2016ГОСТ Р 57209-2016ГОСТ Р 57209-2016ГОСТ Р 57209-2016