Скачать Временное руководство по применению средств борьбы с пылью на углеобогатительных фабриках и сортировка шахт

Дата актуализации: 01.01.2021

Временное руководство по применению средств борьбы с пылью на углеобогатительных фабриках и сортировка шахт

Статус:справочные материалы, мп, тпр
Название рус.:Временное руководство по применению средств борьбы с пылью на углеобогатительных фабриках и сортировка шахт
Дата добавления в базу:01.02.2017
Дата актуализации:01.01.2021
Область применения:Руководство предназначено для инженерно-технических работников проектных организаций, обогатительных фабрик и сортировок шахт угольной промышленности.
Оглавление:Введение
Глава I. Источники пылеобразования на углеобогатительных фабриках и допустимые концентрации пыли в воздухе
Глава II. Основные технологические требования к процессу обогащения угля и технологическому оборудованию по пылевому фактору
Глава III. Способы и средства борьбы с пылью на углеобогатительных фабриках и сортировка шахт
   1. Укрытие оборудования
   2. Аспирация и очистка от пыли воздуха, выбрасываемого в атмосферу
   3. Увлажнение угля
   4. Уборка осевшей пыли
Глава IV. Пылевой контроль
   1. Определение запыленности воздуха в производственных помещениях
   2. Определение запыленности воздуха в трубопроводах
   3. Проверка параметров работы аспирационных систем
   4. Определение дисперсного состава пыли
Приложение I. Устройства для предотвращения пыления (желоб с диффузором)
Приложение II. Расчет объемов аспирации по методике, разработанной лабораторией охраны труда
Приложение III. Ориентировочные величины площадей неплотностей
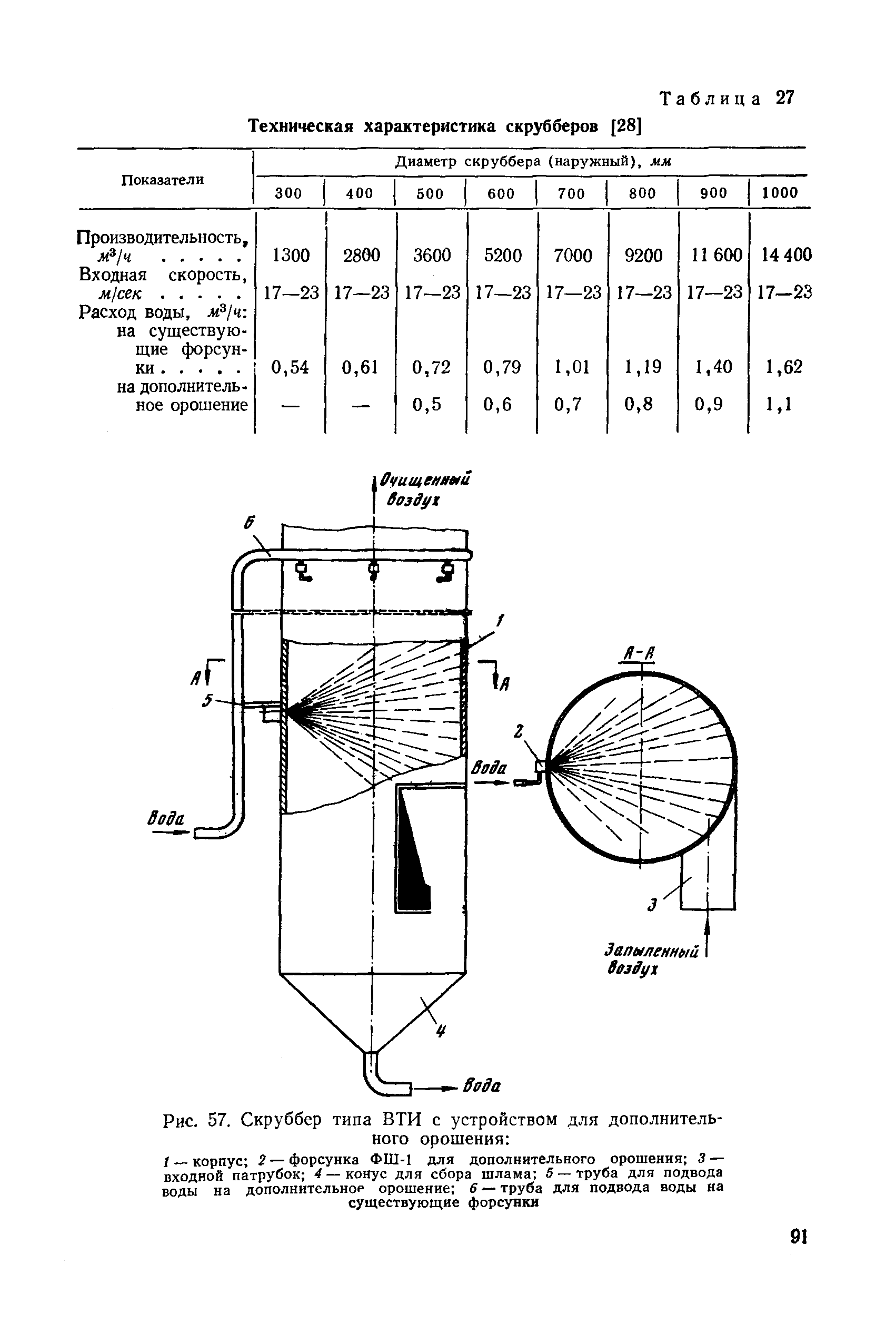
Приложение IV. Основные технические данные рекомендуемых пылеуловителей
Приложение V. Краткая методика отбора проб воздуха на запыленность в помещении с помощью фильтров АВА-В-18
Приложение VI. Краткая методика отбора проб воздуха на запыленность в трубопроводах
Литература
Разработан: Министерство угольной промышленности СССР
ВостНИИ (Восточный научно-исследовательский институт по безопасности работ в горной промышленности)
Южгипрошахт
Сибгипрошахт
МакНИИ (Макеевский научно-исследовательский институт по безопасности работ в горной промышленности)
Ленгипрошахт
Гипромашуглеобогащение
Утверждён:13.03.1969 Минуглепром СССР (USSR Minugleprom )
Издан: Издательство Недра (1971 г. )
Нормативные ссылки: