Скачать ГОСТ 27019-2016 Материалы полимерные рулонные для полов. Ускоренный метод определения звукоизоляционных свойствДата актуализации: 01.01.2021
|
| Обозначение: | ГОСТ 27019-2016 |
| Обозначение англ: | GOST 27019-2016 |
| Статус: | взамен |
| Название рус.: | Материалы полимерные рулонные для полов. Ускоренный метод определения звукоизоляционных свойств |
| Название англ.: | Rolled polymer materials for floors. Method for rapid determination of sound-insulation properties |
| Дата добавления в базу: | 05.05.2017 |
| Дата актуализации: | 01.01.2021 |
| Дата введения: | 01.07.2017 |
| Область применения: | Стандарт распространяется на полимерные рулонные материалы (линолеум, ворсовое покрытие) (далее - материалы), предназначенные для покрытия полов в помещениях жилых и общественных зданий, укладываемые непосредственно по несущей плите перекрытия, и устанавливает ускоренный метод определения звукоизоляционных свойств этих материалов. |
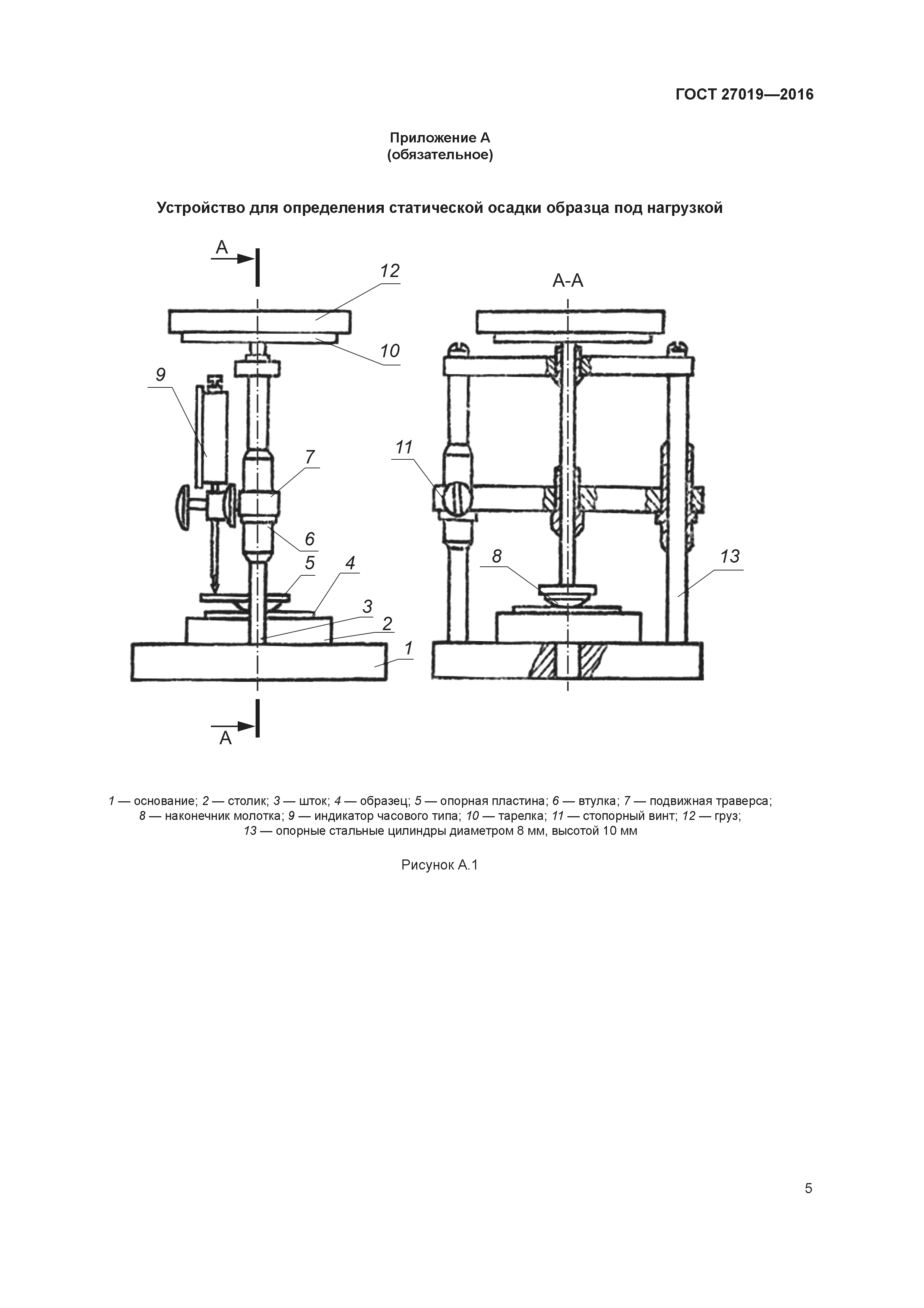
| Оглавление: | 1 Область применения 2 Нормативные ссылки 3 Термины и определения 4 Сущность метода 5 Средства испытания 6 Образцы для испытания 7 Подготовка к испытанию 8 Проведение испытания 9 Обработка результатов испытания Приложение А (обязательное) Устройство для определения статической осадки образца под нагрузкой Приложение Б (обязательное) Устройство для определения диаметра площади контакта молотка с поверхностью образца Приложение В (обязательное) Построение графика для определения снижения приведенного уровня ударного шума полимерным рулонным материалом Приложение Г (справочное) Значения снижения приведенного уровня ударного шума за счет полимерного рулонного материала |
| Разработан: | ФГБУ НИИСФ РААСН |
| Утверждён: | 22.11.2016 Межгосударственный Совет по стандартизации, метрологии и сертификации (Inter-Governmental Council on Standardization, Metrology, and Certification 93-П) 02.12.2016 Федеральное агентство по техническому регулированию и метрологии (1925-ст) |
| Издан: | Стандартинформ (2017 г. ) |
| Заменяет собой: | |
| Нормативные ссылки: |
|













