Скачать ГОСТ 21.705-2016 Система проектной документации для строительства. Правила выполнения рабочей документации тепловых сетейДата актуализации: 01.01.2021
|
| Обозначение: | ГОСТ 21.705-2016 |
| Обозначение англ: | GOST 21.705-2016 |
| Статус: | взамен |
| Название рус.: | Система проектной документации для строительства. Правила выполнения рабочей документации тепловых сетей |
| Название англ.: | System of design documents for construction. Rules for execution of working documentation of heating systems |
| Дата добавления в базу: | 05.05.2017 |
| Дата актуализации: | 01.01.2021 |
| Дата введения: | 01.07.2017 |
| Область применения: | Стандарт устанавливает состав и правила рабочей документации тепломеханических решений тепловых сетей объектов капитального строительства различного назначения. Стандарт распространяется на тепловые сети с параметрами теплоносителей: - вода температурой до 200 С и давлением до 2,5 МПа; - пар температурой до 440 С и давлением до 6,3 МПа. |
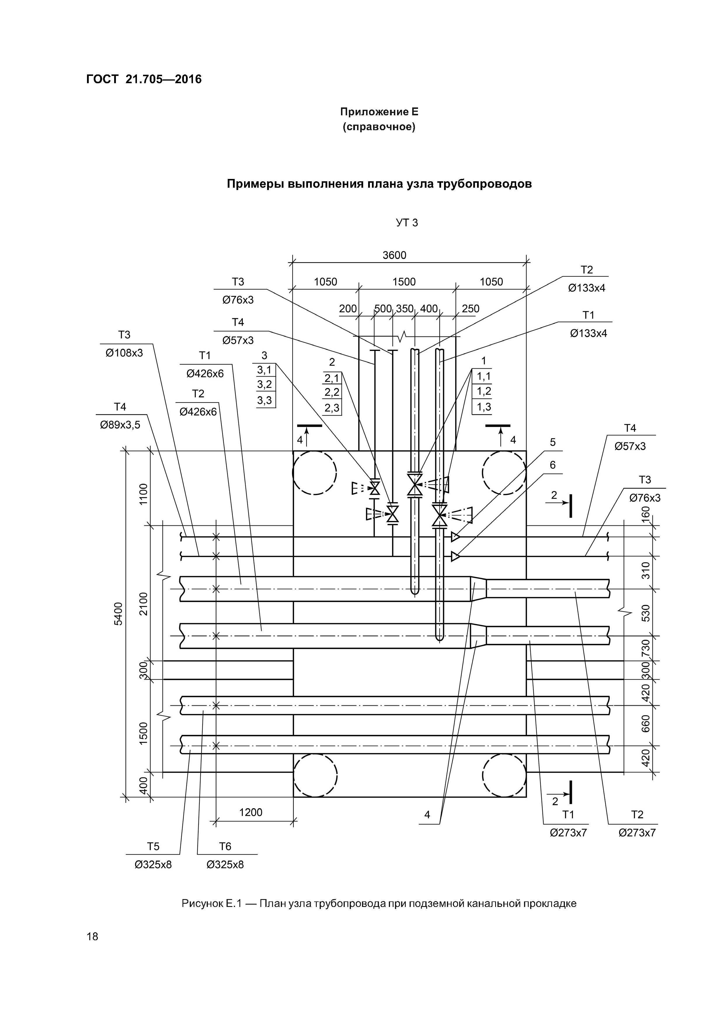
| Оглавление: | 1 Область применения 2 Нормативные ссылки 3 Термины и определения 4 Общие положения 5 Общие данные по рабочим чертежам 6 Планы сетей 7 Схемы сетей 8 Поперечные разрезы сетей 9 Продольные профили сетей 10 Чертежи (планы, разрезы, схемы) узлов трубопроводов 11 Спецификация оборудования, изделий и материалов 12 Опросные листы и габаритные чертежи Приложение А (обязательное) Условные графические обозначения на планах тепловых сетей Приложение Б (справочное) Пример выполнения плана тепловых сетей Приложение В (справочное) Пример выполнения схемы тепловых сетей Приложение Г (справочное) Примеры выполнения поперечных разрезов тепловых сетей Приложение Д (справочное) Примеры выполнения продольных профилей тепловых сетей Приложение Е (справочное) Примеры выполнения плана узла трубопроводов |
| Разработан: | ООО СанТехПроект |
| Утверждён: | 08.12.2016 Межгосударственный Совет по стандартизации, метрологии и
сертификации (Inter-Governmental Council on Standardization, Metrology, and Certification
50) 14.12.2016 Росстандарт (2033-ст) |
| Издан: | Стандартинформ (2017 г. ) |
| Заменяет собой: | |
| Нормативные ссылки: |
|
























