Скачать Руководство по изготовлению теплоизоляционных изделий из ячеистого бетона на шлакощелочном вяжущем с использованием шлаков цветной металлургииДата актуализации: 01.01.2021 |
| Статус: | справочные материалы, мп, тпр |
| Название рус.: | Руководство по изготовлению теплоизоляционных изделий из ячеистого бетона на шлакощелочном вяжущем с использованием шлаков цветной металлургии |
| Дата добавления в базу: | 01.01.2018 |
| Дата актуализации: | 01.01.2021 |
| Область применения: | Руководство следует применять при изготовлении изделий из теплоизоляционного бесцементного ячеистого бетона объемной массой 250 - 400 кг/м3 на основе шлакощелочного вяжущего с использованием шлаков и других побочных продуктов цветной металлургии |
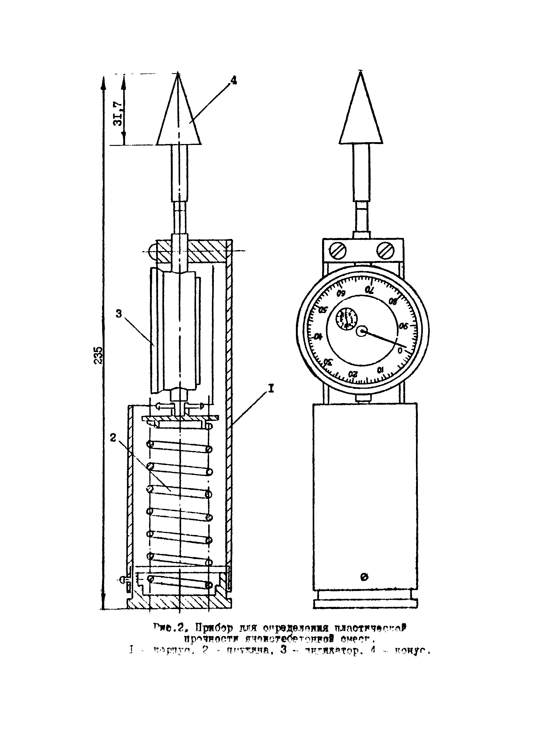
| Оглавление: | 1 Введение 2 Технические требования 3 Требования к материалам 4 Подготовка сырьевых материалов 5 Подбор состава бетона на основе шлакощелочного вяжущего 6 Приготовление бетонной смеси 7 Формирование и выдержка изделий из ячеистого бетона 8 Тепловлажностная обработка изделий 9 Послеавтоклавная обработка изделий. 10 Транспортирование теплоизоляционных изделий 11 Правила по технике безопасности и противопожарные мероприятия Приложение 1. Приготовление порообразователей Приложение 2. Пример подбора состава ячеистобетонной смеси на шлакощелочном вяжущем Приложение 3. Методика оценки качества технической пены Приложение 4. Приготовление ячеистобетонной смеси Приложение 5. Методика определения пластической прочности ячеистобетонной смеси |
| Разработан: | НИИЖБ Госстроя СССР |
| Утверждён: | 30.11.1982 НИИЖБ Госстроя СССР (NIIZhB, USSR Gosstroy ) |
| Принят: | Министерство цветной металлургии СССР |
| Нормативные ссылки: |
|






























