Скачать Методические указания по контролю гидростоек механизированных крепей в очистном забое

Дата актуализации: 01.01.2021

Методические указания по контролю гидростоек механизированных крепей в очистном забое

Статус:справочные материалы, мп, тпр
Название рус.:Методические указания по контролю гидростоек механизированных крепей в очистном забое
Дата добавления в базу:01.01.2018
Дата актуализации:01.01.2021
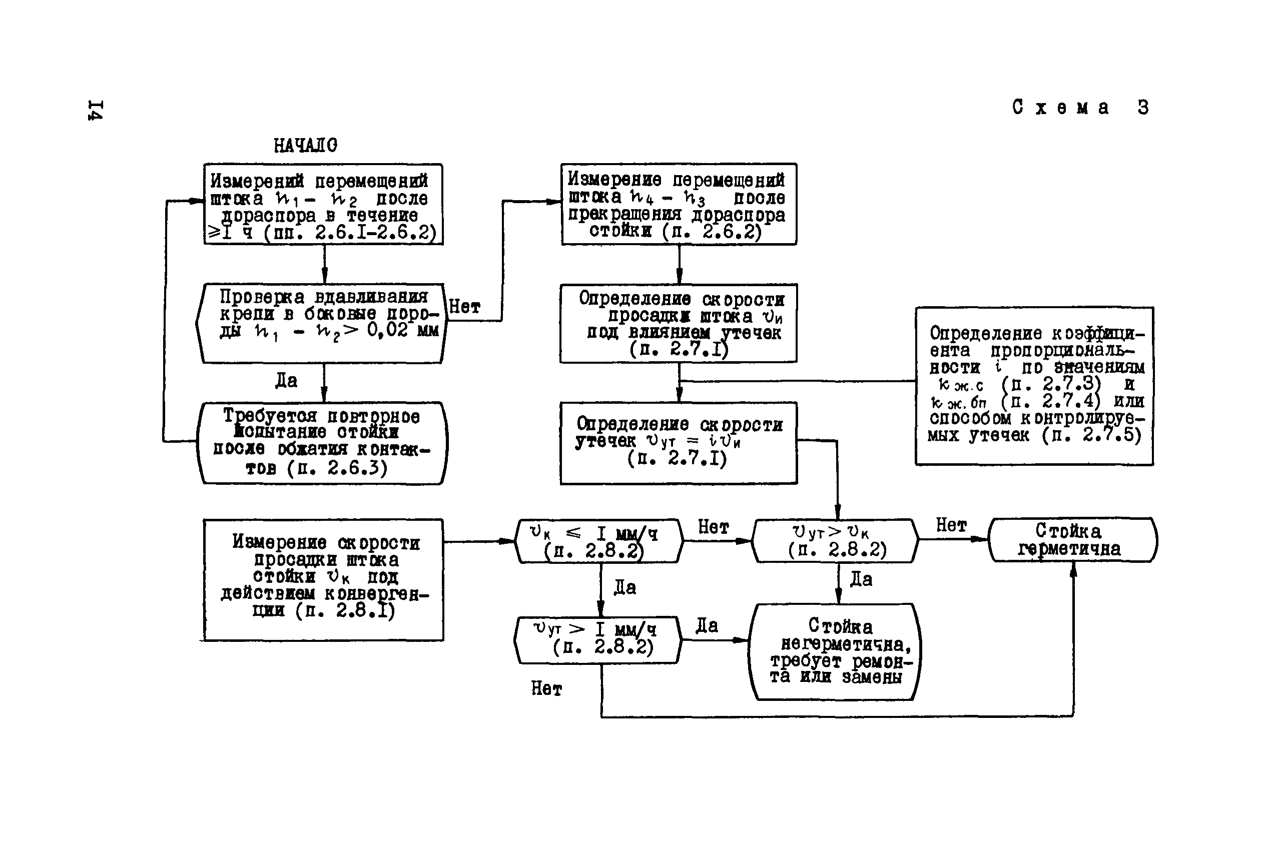
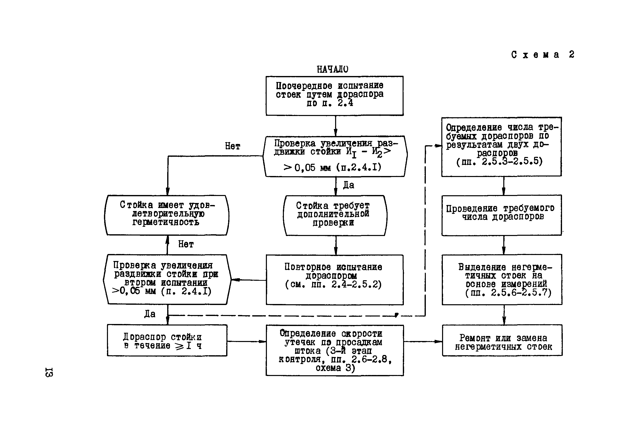
Область применения:Методические указания предназначены для использования инженерно-техническими работниками шахт и ПО Минуглепрома ССС Р при решении практических вопросов контроля фактического состояния гидростоек механизированных крепей в очистном забое. Методические указания предназначены для решения вопросов оперативного выявления герметичных стоек механизированной крепи в условиях влияния таких случайных факторов как недостаточный распор гидростоек при передвижке крепи и вдавливание опорных поверхностей секций крепи в боковые породы. Изложенные способы контроля позволяют высокопроизводительно вести массовые обследования гидростоек крепи и получать данные для выявления и количественной оценки причин снижения сопротивления механизированных крепей.
Оглавление:Введение
1 Общие положения
2 Методика оценки герметичности гидростоек крепи для подключения манометров к стойкам
3 Оценка причин снижения сопротивления крепи в очистном забое
Литература
Разработан: ВНИМИ
Утверждён:28.12.1983 Министерство угольной промышленности СССР (USSR Ministry of the Coal Industry )
Издан: ВНИМИ (1985 г. )