Скачать Методические указания по документации и прогнозу дизъюнктивов на угольных шахтах и разрезахДата актуализации: 01.01.2021
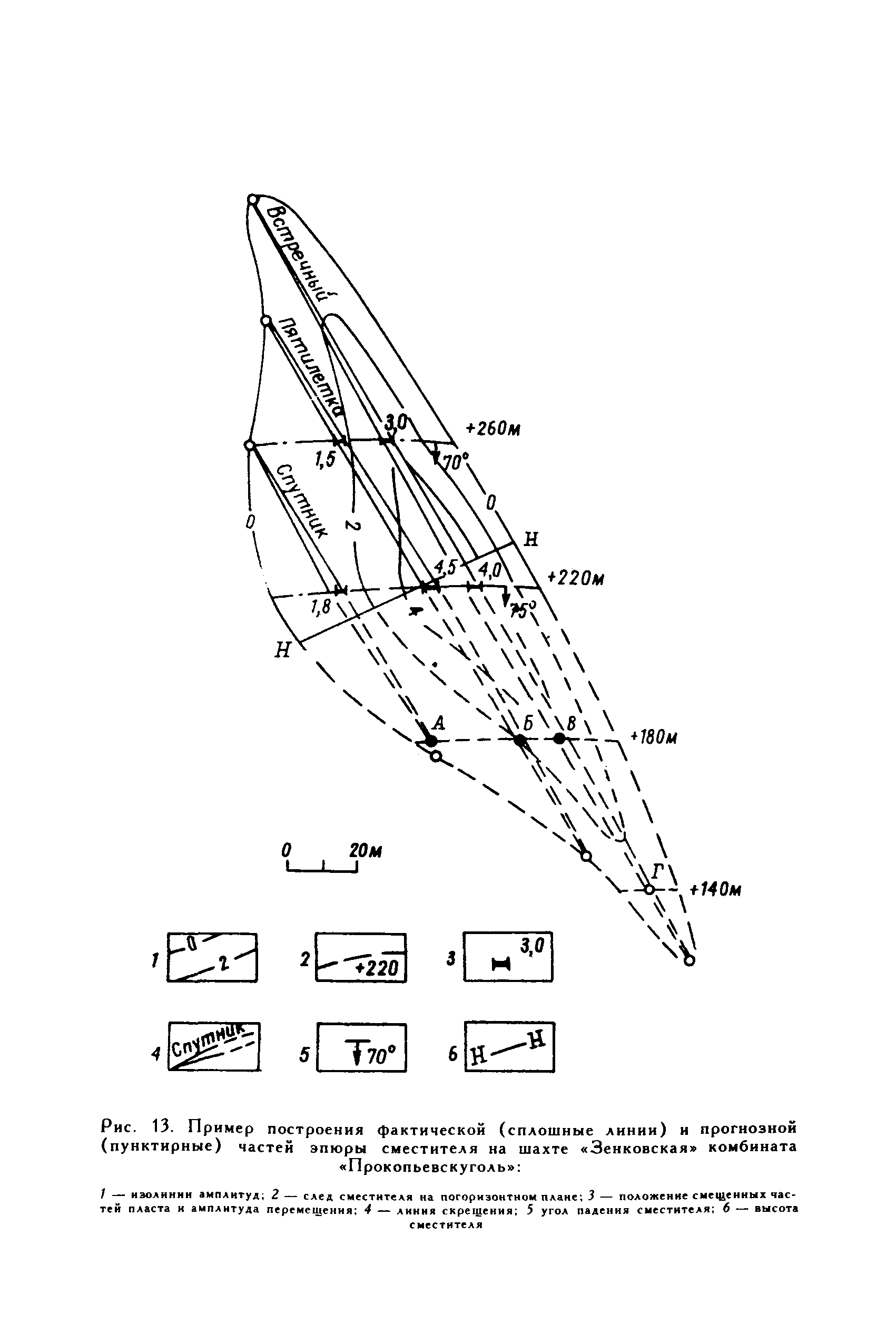
Методические указания по документации и прогнозу дизъюнктивов на угольных шахтах и разрезах| Статус: | справочные материалы, мп, тпр | | Название рус.: | Методические указания по документации и прогнозу дизъюнктивов на угольных шахтах и разрезах | | Дата добавления в базу: | 01.01.2018 | | Дата актуализации: | 01.01.2021 | | Область применения: | В работе рассматриваются основные положения методики прогноза элементов и параметров разрывного нарушения, которая включает в себя определение генетического типа и формы дизъюнктива, положение смещенных частей пласта, амплитуды и знака смещения, а также выявление действительных размеров сместителя и его ориентировки в пространстве. | | Оглавление: | Предисловие 1 Общие положения 2 Основные свойства дизъюнктивов 3 Методика геометризации дизъюнктивов (построение эпюры сместителя) 4 Изучение и документация дизъюнктива в горной выработке 5 Прогноз направления развития и затухания дизъюнктива, вскрытого горной выработкой | | Разработан: | ВНИМИ
| | Утверждён: | В/О Союзуглегеология
| | Издан: | ВНИМИ (1975 г. )
|
                               
|