Скачать ГОСТ Р 57602-2017 Трубы и трубопроводы из реактопластов, армированных волокном. Методы неразрушающего контроля при эксплуатацииДата актуализации: 01.01.2021
|
| Обозначение: | ГОСТ Р 57602-2017 |
| Обозначение англ: | GOST R 57602-2017 |
| Статус: | введен впервые |
| Название рус.: | Трубы и трубопроводы из реактопластов, армированных волокном. Методы неразрушающего контроля при эксплуатации |
| Название англ.: | Fibre reinforced thermosetting plastic pipes and pipelines. Nondestructive testing methods with exploiting |
| Дата добавления в базу: | 01.01.2018 |
| Дата актуализации: | 01.01.2021 |
| Дата введения: | 01.02.2018 |
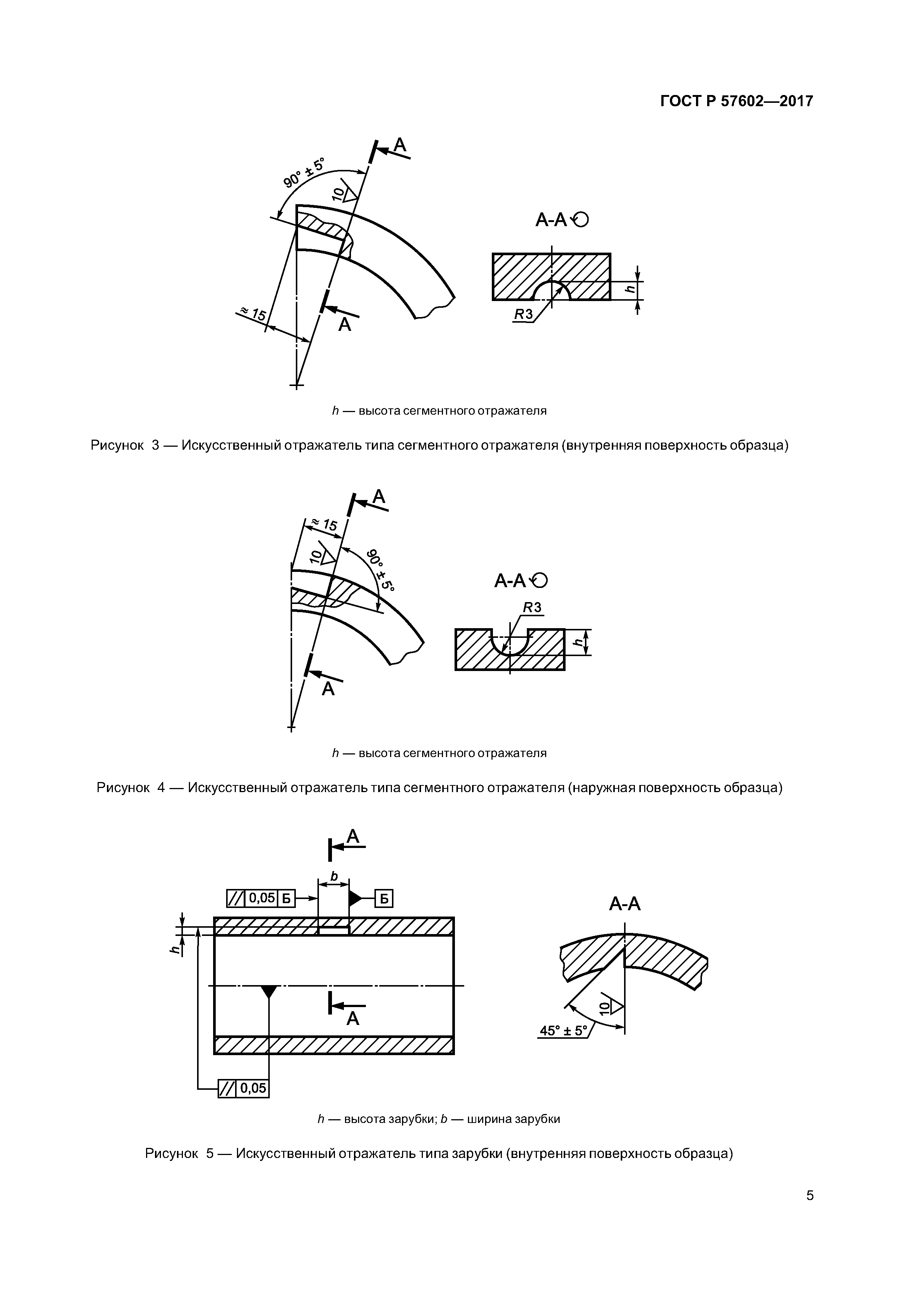
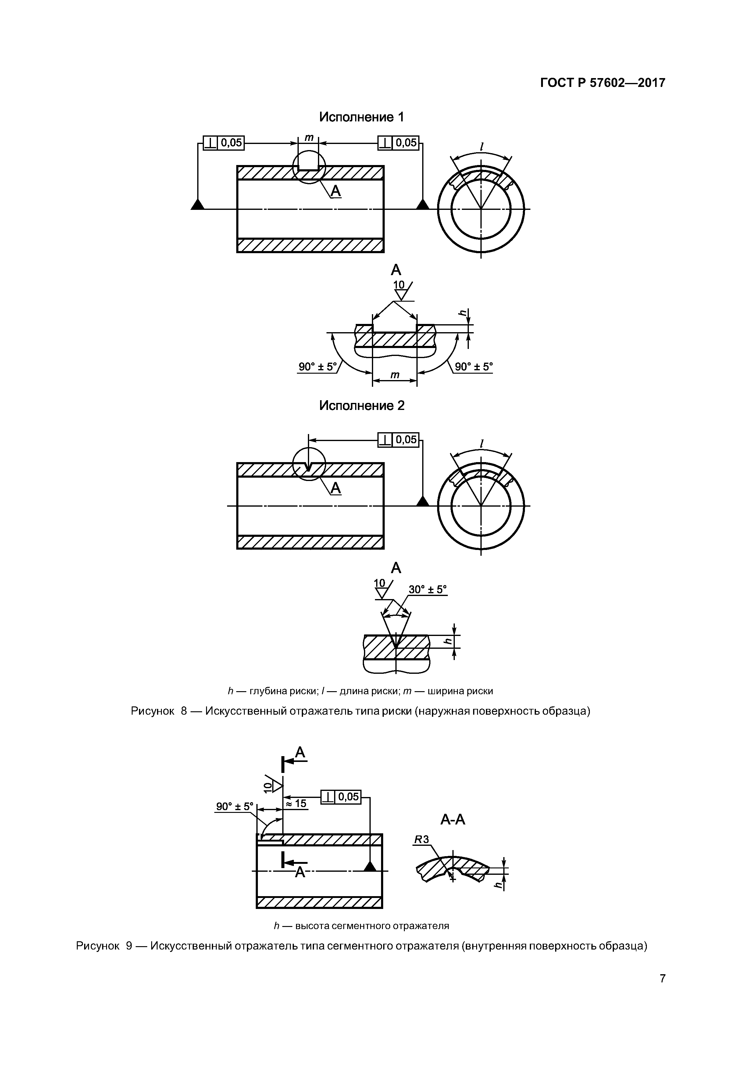
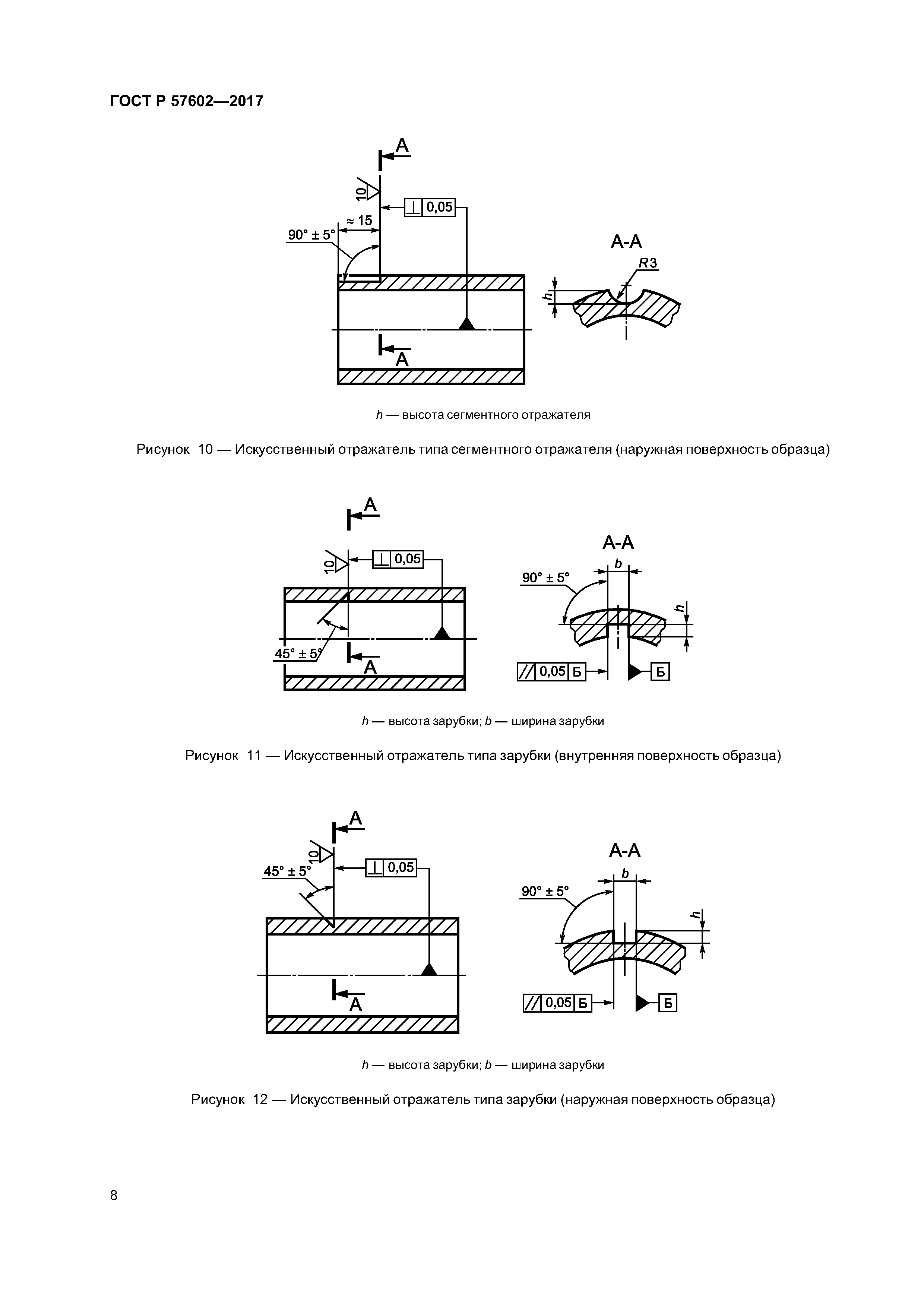
| Область применения: | Стандарт распространяется на трубы, запорную арматуру, различные переходы, коллекторные узлы, изготовленные из реактопластов, армированных волокном, применяемые в трубопроводах как наземного, так и подземного исполнения. Стандарт устанавливает метод виброакустического контроля (далее - ВАК) для выявления различных дефектов (в виде нарушения сплошности и однородности материала, наличия трещин, врезок, расслоений), расположенных на наружной и внутренней поверхностях, а также в толще стенок изделий и обнаруживаемых виброакустической аппаратурой. Стандарт устанавливает метод неразрушающего контроля деформации и/или температуры, и/или обнаружения утечек с помощью волоконной брэгговской решетки (далее - ВБР), или сборок, состоящих из ВБР. Действительные размеры дефектов, их форма и характер настоящим стандартом не устанавливаются. Необходимость проведения ВАК и контроля состояния при использовании ВБР, его объем и нормы допустимых дефектов устанавливают в нормативном документе или технической документации на изделия. |
| Оглавление: | 1 Область применения 2 Нормативные ссылки 3 Сущность метода 4 Требования безопасности 5 Требования к аппаратуре и стандартным образцам 6 Подготовка к контролю 7 Проведение контроля 8 Обработка и оформление результатов контроля Приложение А (рекомендуемое) Форма акта о проведении неразрушающего контроля трубопровода |
| Разработан: | Объединение юридических лиц Союз производителей композитов АНО Центр нормирования, стандартизации и классификации композитов |
| Утверждён: | 11.08.2017 Федеральное агентство по техническому регулированию и метрологии (875-ст) |
| Издан: | Стандартинформ (2017 г. ) |
| Нормативные ссылки: |
|


















