Скачать МУК 4.1.1585-03 Методические указания по газохроматографическому измерению концентраций 0,0-диметилметилфосфоната (метаран) в воздухе рабочей зоныДата актуализации: 01.01.2021
|
| Обозначение: | МУК 4.1.1585-03 |
| Обозначение англ: | MUK 4.1.1585-03 |
| Статус: | действует |
| Название рус.: | Методические указания по газохроматографическому измерению концентраций 0,0-диметилметилфосфоната (метаран) в воздухе рабочей зоны |
| Дата добавления в базу: | 01.01.2019 |
| Дата актуализации: | 01.01.2021 |
| Дата введения: | 29.06.2003 |
| Область применения: | Методические указания по измерению концентраций вредных веществ в воздухе рабочей зоны разработаны с целью обеспечения контроля соответствия фактических концентраций вредных веществ их предельно допустимым концентрациям и ориентировочным безопасным уровням воздействия - санитарно-гигиеническим нормативам и являются обязательными при осуществлении санитарного контроля |
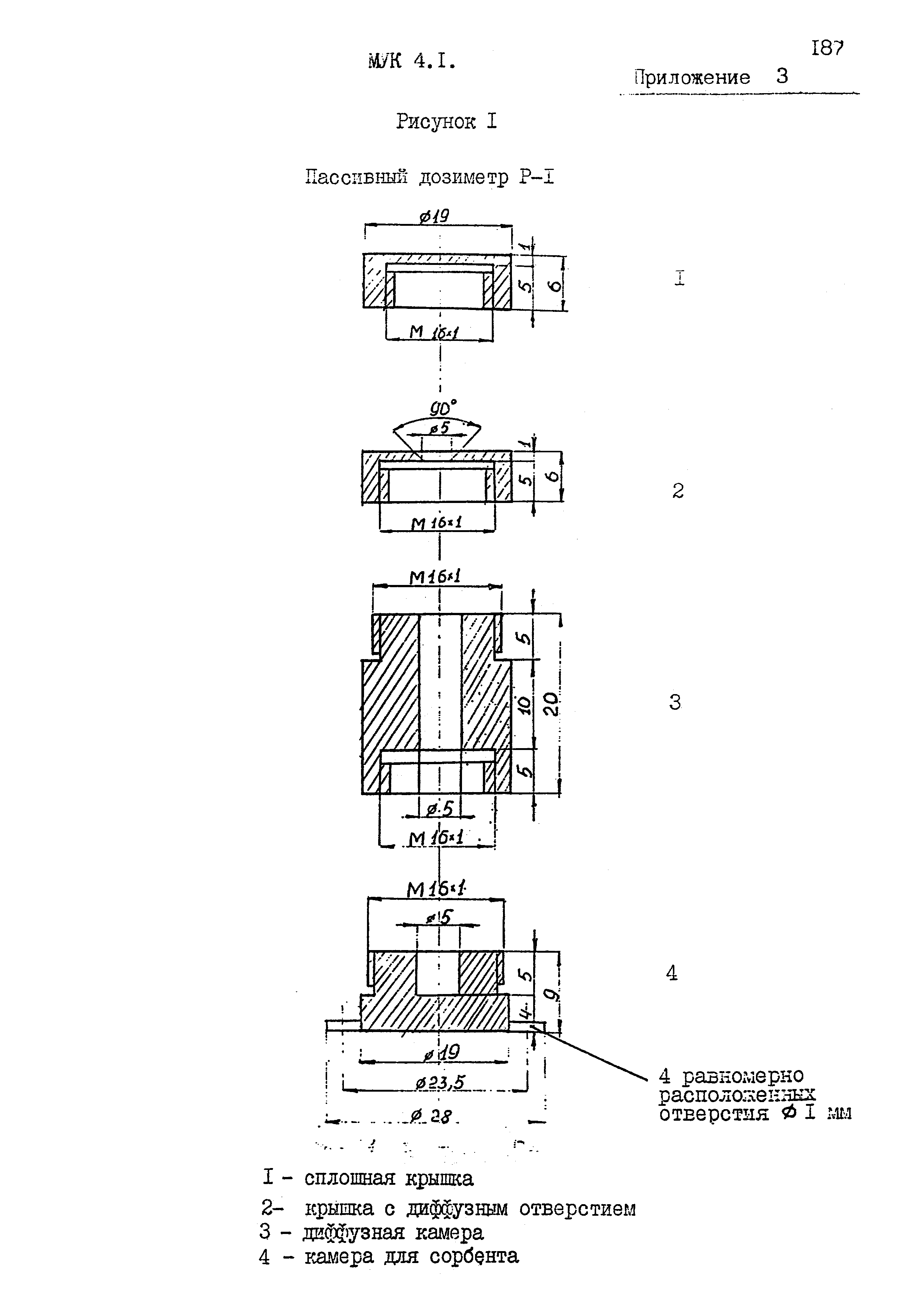
| Оглавление: | Характеристика метода Приборы, аппаратура, посуда Реактивы, растворы, материалы Отбор пробы воздуха Подготовка к измерению Проведение измерения Расчет концентрации Приложение 1. Приведение объёма воздуха к стандартным условиям Приложение 2. Коэффициенты для приведения объема воздуха к стандартным условиям Приложение 3. Пассивный дозиметр Р-1 Приложение 4. Устройство для концентрирования и ввода проб Приложение 5. Пассивный дозиметр Р-4 Приложение 6. Указатель основных синонимов, технических, торговых и фирменных названий веществ Приложение 7. Вещества, определяемые по ранее утверждённым Методическим указаниям по измерению концентраций вредных веществ в воздухе рабочей зоны Приложение 8. Расчет характеристик погрешности на основе данных, приведенных в МВИ КХА Приложение 9. Расчет норматива оперативного контроля погрешности (точности) МВИ КХА Приложение 10. Расчет норматива внутрилабораторного оперативного контроля (ВОК) воспроизводимости МВИ ТХА |
| Утверждён: | 29.06.2003 Главный государственный санитарный врач Российской Федерации |
| Издан: | Минздрав России (2003 г. ) |
| Нормативные ссылки: |
|























