Скачать МУК 4.1.1611-03 Методические указания по газохроматографическому измерению концентраций этилового эфира альфа-бромизовалериановой кислоты в воздухе рабочей зоны

Дата актуализации: 01.01.2021

МУК 4.1.1611-03

Методические указания по газохроматографическому измерению концентраций этилового эфира альфа-бромизовалериановой кислоты в воздухе рабочей зоны

Обозначение: МУК 4.1.1611-03
Обозначение англ: MUK 4.1.1611-03
Статус:действует
Название рус.:Методические указания по газохроматографическому измерению концентраций этилового эфира альфа-бромизовалериановой кислоты в воздухе рабочей зоны
Дата добавления в базу:01.01.2019
Дата актуализации:01.01.2021
Дата введения:29.06.2003
Область применения:Методические указания по измерению концентраций вредных веществ в воздухе рабочей зоны разработаны с целью обеспечения контроля соответствия фактических концентраций вредных веществ их предельно допустимым концентрациям и ориентировочным безопасным уровням воздействия - санитарно-гигиеническим нормативам и являются обязательными при осуществлении санитарного контроля
Оглавление:Характеристика метода
Приборы, аппаратура, посуда
Реактивы, растворы и материалы
Отбор проб воздуха
Подготовка к измерению
Условия хроматографирования градуировочных растворов, смесей и анализируемых проб
Проведение измерения
Расчет концентрации
Приложение 1. Приведение объёма воздуха к стандартным условиям
Приложение 2. Коэффициенты для приведения объема воздуха к стандартным условиям
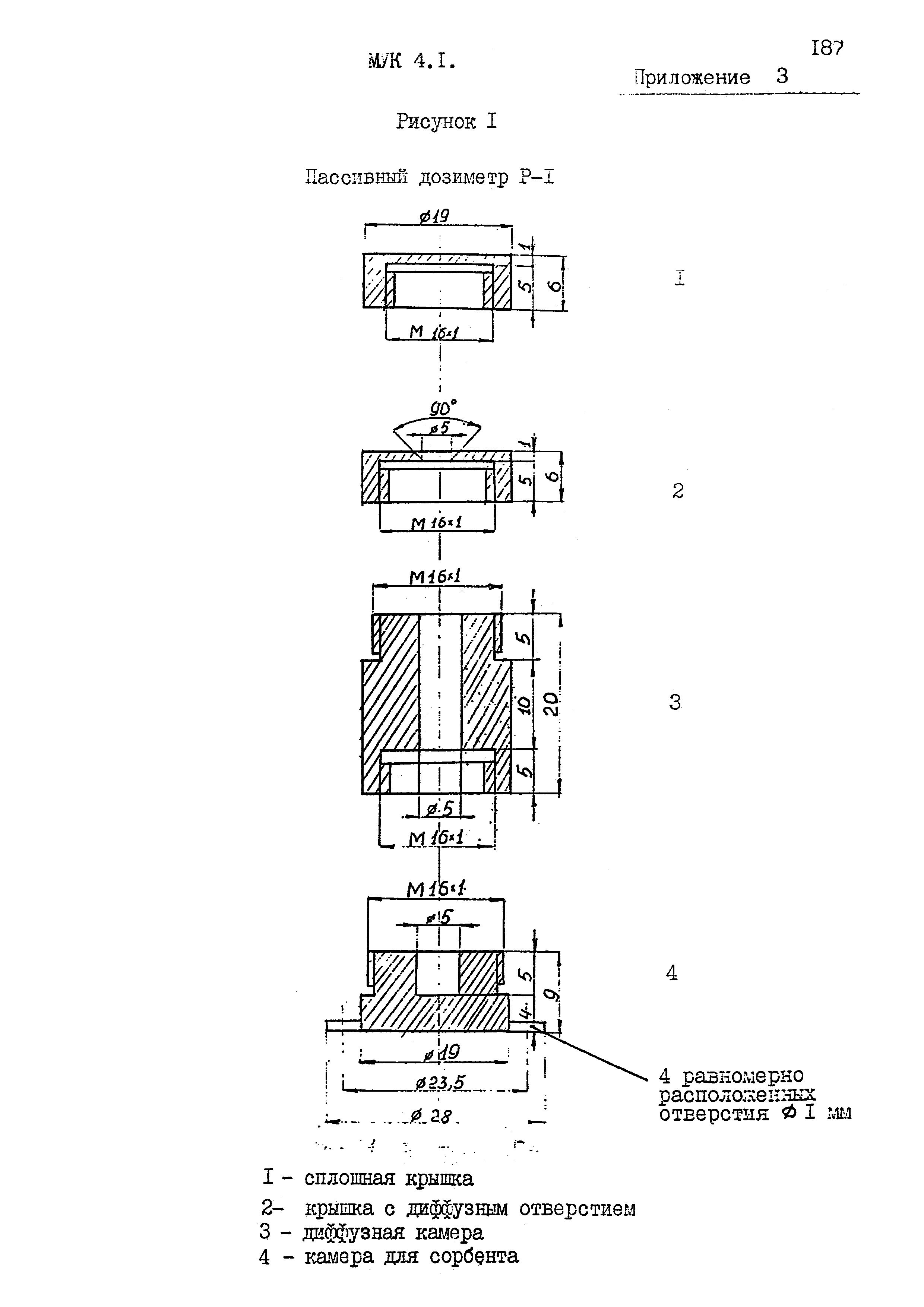
Приложение 3. Пассивный дозиметр Р-1
Приложение 4. Устройство для концентрирования и ввода проб
Приложение 5. Пассивный дозиметр Р-4
Приложение 6. Указатель основных синонимов, технических, торговых и фирменных названий веществ
Приложение 7. Вещества, определяемые по ранее утверждённым Методическим указаниям по измерению концентраций вредных веществ в воздухе рабочей зоны
Приложение 8. Расчет характеристик погрешности на основе данных, приведенных в МВИ КХА
Приложение 9. Расчет норматива оперативного контроля погрешности (точности) МВИ КХА
Приложение 10. Расчет норматива внутрилабораторного оперативного контроля (ВОК) воспроизводимости МВИ ТХА
Утверждён:29.06.2003 Главный государственный санитарный врач Российской Федерации
Издан: Минздрав России (2003 г. )
Нормативные ссылки:
МУК 4.1.1611-03МУК 4.1.1611-03МУК 4.1.1611-03МУК 4.1.1611-03МУК 4.1.1611-03МУК 4.1.1611-03МУК 4.1.1611-03МУК 4.1.1611-03МУК 4.1.1611-03МУК 4.1.1611-03МУК 4.1.1611-03МУК 4.1.1611-03МУК 4.1.1611-03МУК 4.1.1611-03МУК 4.1.1611-03МУК 4.1.1611-03МУК 4.1.1611-03МУК 4.1.1611-03МУК 4.1.1611-03МУК 4.1.1611-03МУК 4.1.1611-03МУК 4.1.1611-03МУК 4.1.1611-03МУК 4.1.1611-03