Скачать Временные требования к изготовлению и эксплуатации рудничного взрывобезопасного электрооборудования с силовыми полупроводниковыми приборами напряжением до 1140 В

Дата актуализации: 01.01.2021

Временные требования к изготовлению и эксплуатации рудничного взрывобезопасного электрооборудования с силовыми полупроводниковыми приборами напряжением до 1140 В

Статус:действует
Название рус.:Временные требования к изготовлению и эксплуатации рудничного взрывобезопасного электрооборудования с силовыми полупроводниковыми приборами напряжением до 1140 В
Дата добавления в базу:01.01.2018
Дата актуализации:01.01.2021
Дата введения:01.03.1979
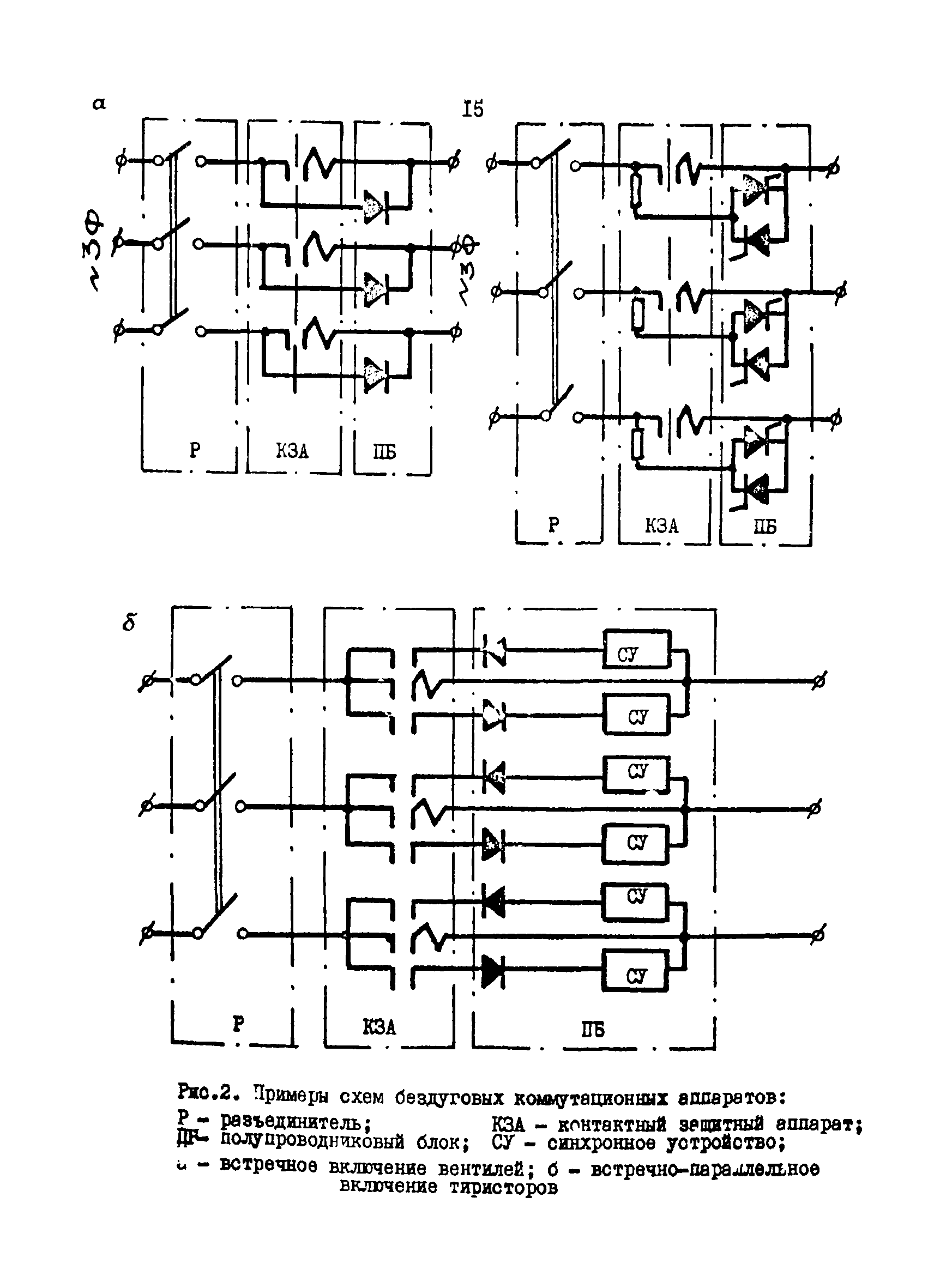
Область применения:В требованиях изложены основные положения по безопасному исполнению рудничного взрывобезопасного электрооборудования, созданного на основе силовых полупроводниковых приборов, а также требования безопасности к системе электроснабжения участка шахты с тиристорным приводом с учетом особенностей исполнения цепей управления, защит и сигнализации.
Оглавление:1 Назначение и область применения
2 Требования к исполнению тиристорных устройств
3 Требования безопасности к системе электроснабжения участка шахты с тиристорным приводом
   3.1. Требования к системе электроснабжения
   3.2. Защита от токов коротких замыканий
   3.3. Защита от утечек тока
   3.4. Схема сигнализации, контроля и управления
   3.5. Заземление передвижных забойных машин
4 Требования по безопасной эксплуатации системы электроснабжения с тиристорным приводом
Приложение. Пояснение определений и терминов, встречающихся в настоящих "Временных требования…"
Разработан: ВНИИВЭ
ВостНИИ (Восточный научно-исследовательский институт по безопасности работ в горной промышленности)
МакНИИ
Утверждён:15.12.1978 Госгортехнадзор (Gosgortekhnadzor )
22.06.1978 Министерство угольной промышленности СССР (USSR Ministry of the Coal Industry )
Нормативные ссылки: