Скачать Временные указания по управлению горным давлением в очистных забоях на пластах мощностью до 3,5 м с углом падения до 35 градусовДата актуализации: 01.01.2021
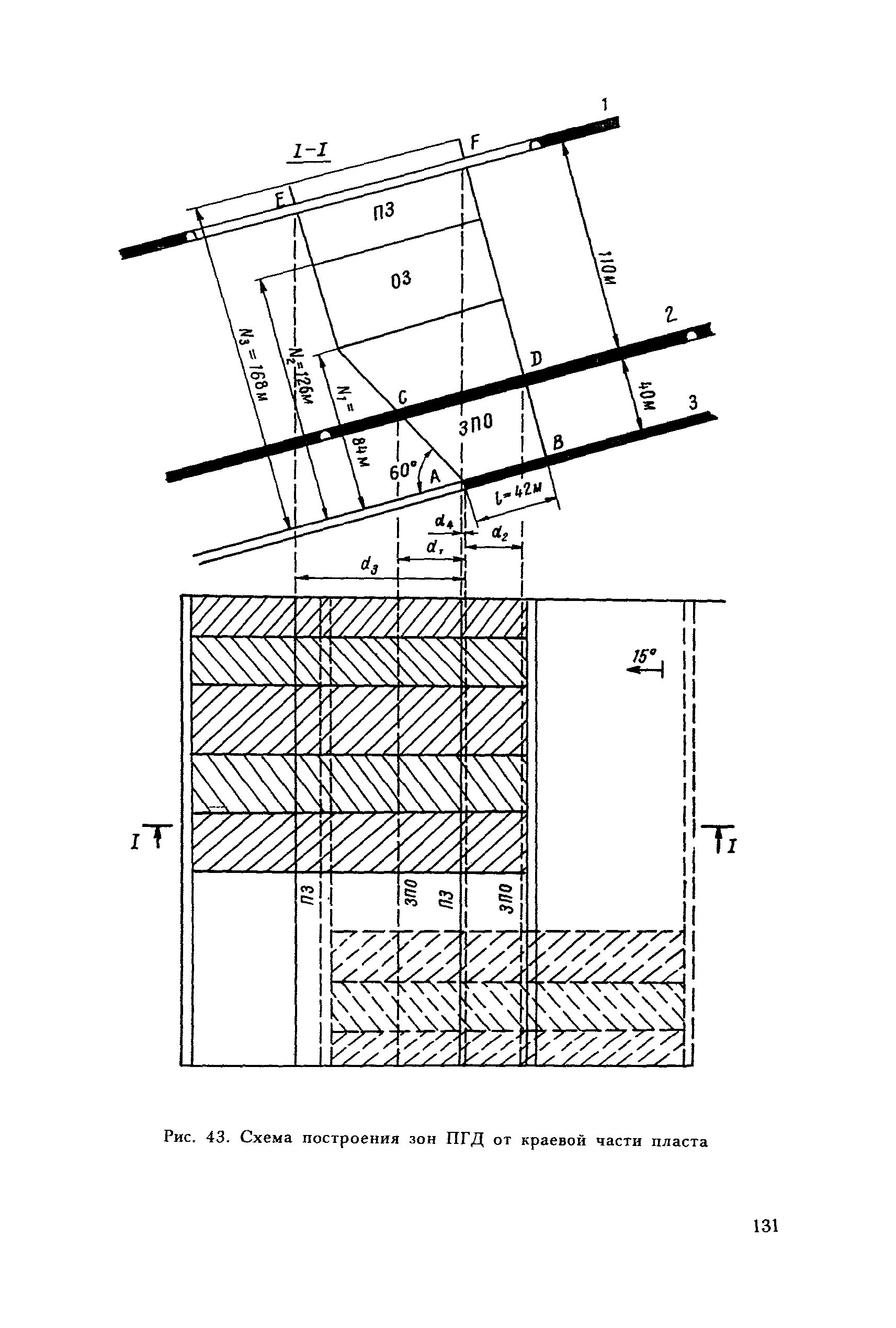
Временные указания по управлению горным давлением в очистных забоях на пластах мощностью до 3,5 м с углом падения до 35 градусов| Статус: | справочные материалы, мп, тпр | | Название рус.: | Временные указания по управлению горным давлением в очистных забоях на пластах мощностью до 3,5 м с углом падения до 35 градусов | | Дата добавления в базу: | 01.01.2018 | | Дата актуализации: | 01.01.2021 | | Область применения: | В документе приведены основные принципы управления горным давлением в зависимости от управляемости кровли, требования к величинам сопротивления крепи. Даны рекомендации по построению зон ПГД при отработке смежных пластов, принципы выбора способов предотвращения обрушений кровли, требования к управлению кровлей при переходе геологических нарушений и на пластах со слабыми почвами. Приведена методика оценки состояния кровли. | | Оглавление: | Введение 1 Область и условия применения 2 Основные требования к содержанию технической документации 3 Единая отраслевая классификация кровель угольных пластов. Типизация размеров элементов разрушения пород кровли 4 Основные принципы выбора крепей, распределения сопротивления по ширине поддерживаемого пространства очистных забоев, управления кровлей в начальный период работы лав 5 Принципы выбора способов предотвращения обрушений кровли и угля в поддерживаемое пространство очистного забоя 6 Дополнительные требования к паспортам крепления очистных забоев со слабыми почвами 7 Управление горным давлением в очистных забоях при разработке свит угольных пластов 8 Принципы и основные технологические схемы перехода геологических нарушений механизированными комплексами. Дополнительные требования по эксплуатации крепей и к паспортам крепления в зонах перехода геологических нарушений 9 Оценка состояния кровли очистного забоя Приложение 1. Геолого-петрографические признаки устойчивости непосредственной кровли угольных пластов Донбасса (Донуги) Приложение 2. Группы литотипов пород, соответствующие различным типам устойчивости непосредственной кровли угольных пластов Кузбасса Приложение 3. Литотипы пород угленосных толщ Кузбасса (Кузниуи) Приложение 4. Методика предварительного прогноза устойчивости непосредственной кровли в очистных забоях (ЛГИ, КНИУИ, ВНИМИ) Приложение 5. Выявление зон неустойчивой кровли, представленной глинистыми сланцами, электрометрическим методом (ЛГИ) Приложение 6. Классификация пород по обрушаемости в очистных выработках при залегании их непосредственно над угольным пластом Приложение 7. Затяжка кровли металлической сеткой (Донуги) Приложение 8. Временная крепь конструкции Востнии Приложение 9. Мероприятия по предотвращению сползания кровли по слабым гладким контактам Приложение 10. Методика поверочного расчета на прочность консолей верхняков индивидуальной крепи Приложение 11. Методика определения сопротивления почвы угольных пластов вдавливанию крепей Приложение 12. Примеры построения зон ПГД | | Разработан: | ВостНИИ (Восточный научно-исследовательский институт по безопасности работ в горной промышленности) ВНИМИ ИГД им. А.А. Скочинского
| | Утверждён: | 18.11.1981 Министерство угольной промышленности СССР (USSR Ministry of the Coal Industry 2-14/25)
|
                                                                                                                                     
|