Скачать ГОСТ Р 57734-2017 Композиты полимерные. Определение энергии удара, затраченной на разрушение образцаДата актуализации: 01.01.2021
|
| Обозначение: | ГОСТ Р 57734-2017 |
| Обозначение англ: | GOST R 57734-2017 |
| Статус: | введен впервые |
| Название рус.: | Композиты полимерные. Определение энергии удара, затраченной на разрушение образца |
| Название англ.: | Polymer composites. Determination of impact energy to break sample |
| Дата добавления в базу: | 01.01.2019 |
| Дата актуализации: | 01.01.2021 |
| Дата введения: | 01.02.2018 |
| Область применения: | Стандарт распространяется на полимерные композиты, армированные рубленым волокном, а также на жесткие пластмассы и устанавливает метод определения энергии удара, затраченной на разрушение образца. |
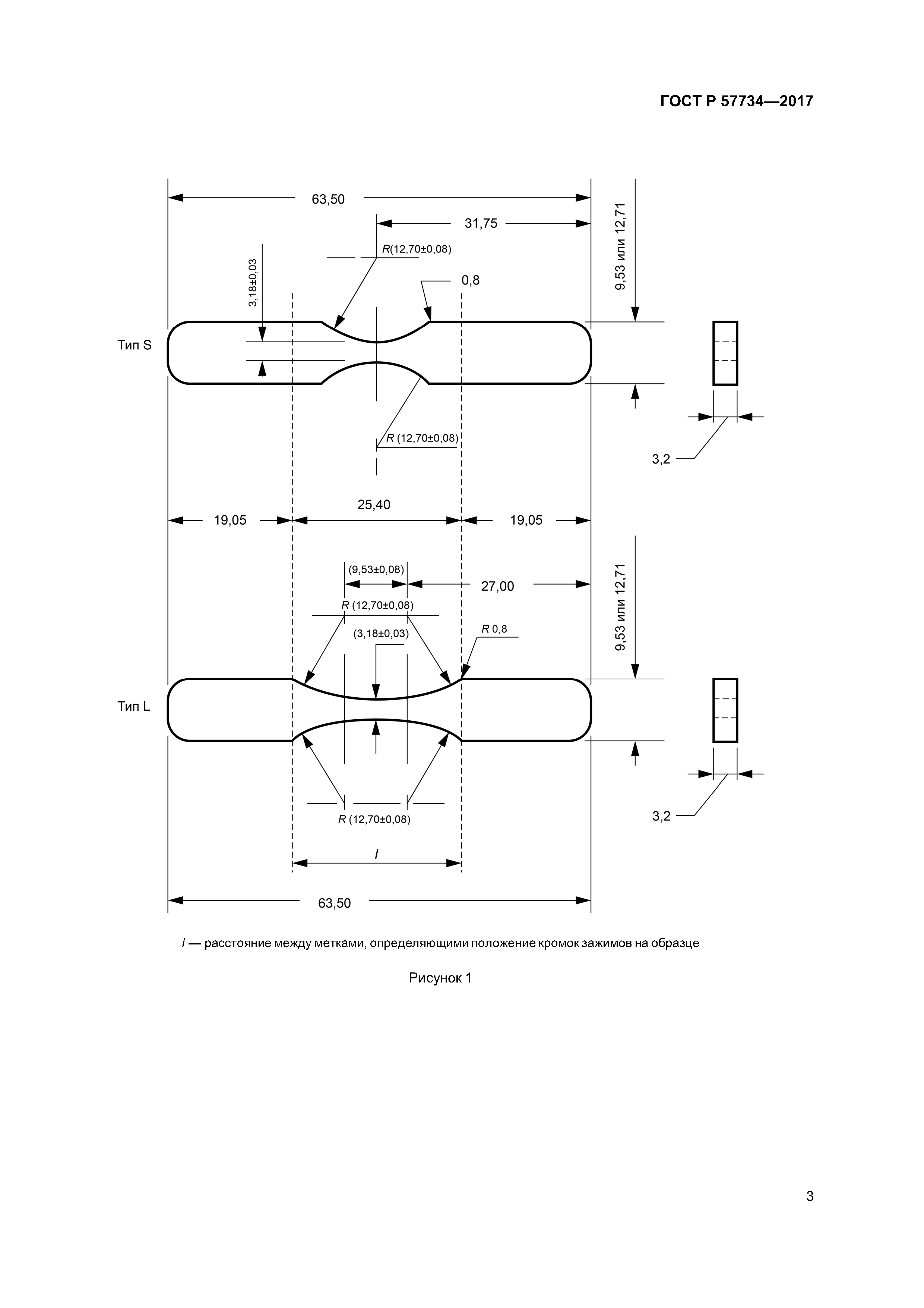
| Оглавление: | 1 Область применения 2 Нормативные ссылки 3 Сущность метода 4 Оборудование 5 Подготовка к проведению испытаний 6 Проведение испытаний 7 Обработка результатов 8 Протокол испытаний Приложение ДА (справочное) Оригинальный текст модифицированных структурных элементов примененного стандарта АСТМ Приложение ДБ (справочное) Оригинальный текст невключенных структурных элементов примененного стандарта АСТМ Приложение ДВ (справочное) Сведения о соответствии ссылочных национальных и межгосударственных стандартов стандартам, использованным в качестве ссылочных в примененном стандарте АСТМ Приложение ДГ (справочное) Сопоставление структуры настоящего стандарта со структурой примененного в нем стандарта АСТМ |
| Разработан: | Объединение юридических лиц Союз производителей композитов ООО Инновации будущего АНО Центр нормирования, стандартизации и классификации композитов |
| Утверждён: | 28.09.2017 Федеральное агентство по техническому регулированию и метрологии (1271-ст) |
| Издан: | Стандартинформ (2017 г. ) |
| Нормативные ссылки: |
|






















