Скачать ГОСТ Р 57776-2017 Трубы из реактопластов, армированных волокном. Метод неразрушающего контроля при изготовленииДата актуализации: 01.01.2021
|
| Обозначение: | ГОСТ Р 57776-2017 |
| Обозначение англ: | GOST R 57776-2017 |
| Статус: | введен впервые |
| Название рус.: | Трубы из реактопластов, армированных волокном. Метод неразрушающего контроля при изготовлении |
| Название англ.: | Fibre reinforced thermosetting plastic pipes. Nondestructive testing method in the manufacturing |
| Дата добавления в базу: | 01.01.2019 |
| Дата актуализации: | 01.01.2021 |
| Дата введения: | 01.02.2018 |
| Область применения: | Стандарт распространяется на прямые цилиндрические трубы, изготовленные из реактопластов, армированных волокном, и устанавливает методы ультразвуковой дефектоскопии сплошности материала труб для выявления различных дефектов (в виде нарушения сплошности и однородности материала), расположенных на наружной и внутренней поверхностях, а также в толще стенок труб, и обнаруживаемых ультразвуковой дефектоскопической аппаратурой. Действительные размеры дефектов, их форма и характер стандартом не устанавливаются. Необходимость проведения ультразвукового контроля, его объем и нормы недопустимых дефектов устанавливаются в соответствии с ГОСТ 20415. |
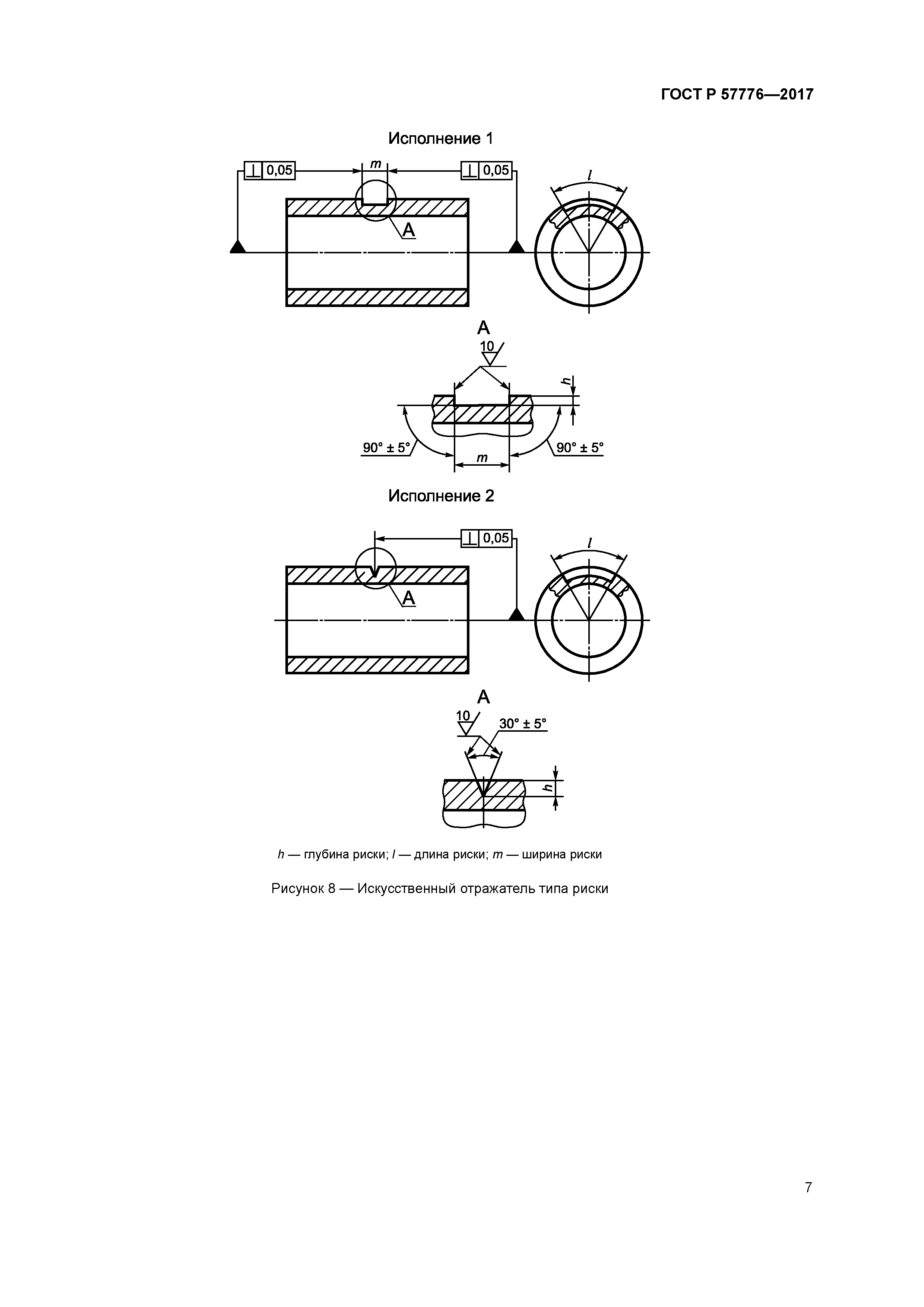
| Оглавление: | 1 Область применения 2 Нормативные ссылки 3 Сущность метода 4 Требования безопасности 5 Требования к аппаратуре и стандартным образцам 6 Подготовка к контролю 7 Проведение контроля 8 Обработка и оформление результатов контроля Приложение А (справочное) Схемы включения преобразователей |
| Разработан: | Объединение юридических лиц Союз производителей композитов АНО Центр нормирования, стандартизации и классификации композитов |
| Утверждён: | 10.10.2017 Федеральное агентство по техническому регулированию и метрологии (1370-ст) |
| Издан: | Стандартинформ (2017 г. ) |
| Нормативные ссылки: |
|






















