Скачать Единые нормы выработки (времени) на геодезические и топографические работы. Часть I. Полевые работы (редакция 1989 года)Дата актуализации: 01.01.2021 |
| Статус: | заменен |
| Название рус.: | Единые нормы выработки (времени) на геодезические и топографические работы. Часть I. Полевые работы (редакция 1989 года) |
| Дата добавления в базу: | 01.01.2018 |
| Дата актуализации: | 01.01.2021 |
| Область применения: | Единые нормы выработки (времени) на геодезические и типографические работы предназначены для всех предприятий, организаций и учреждений, выполняющих топографо-геодезические и картографические работы независимо от их ведомственной принадлежности |
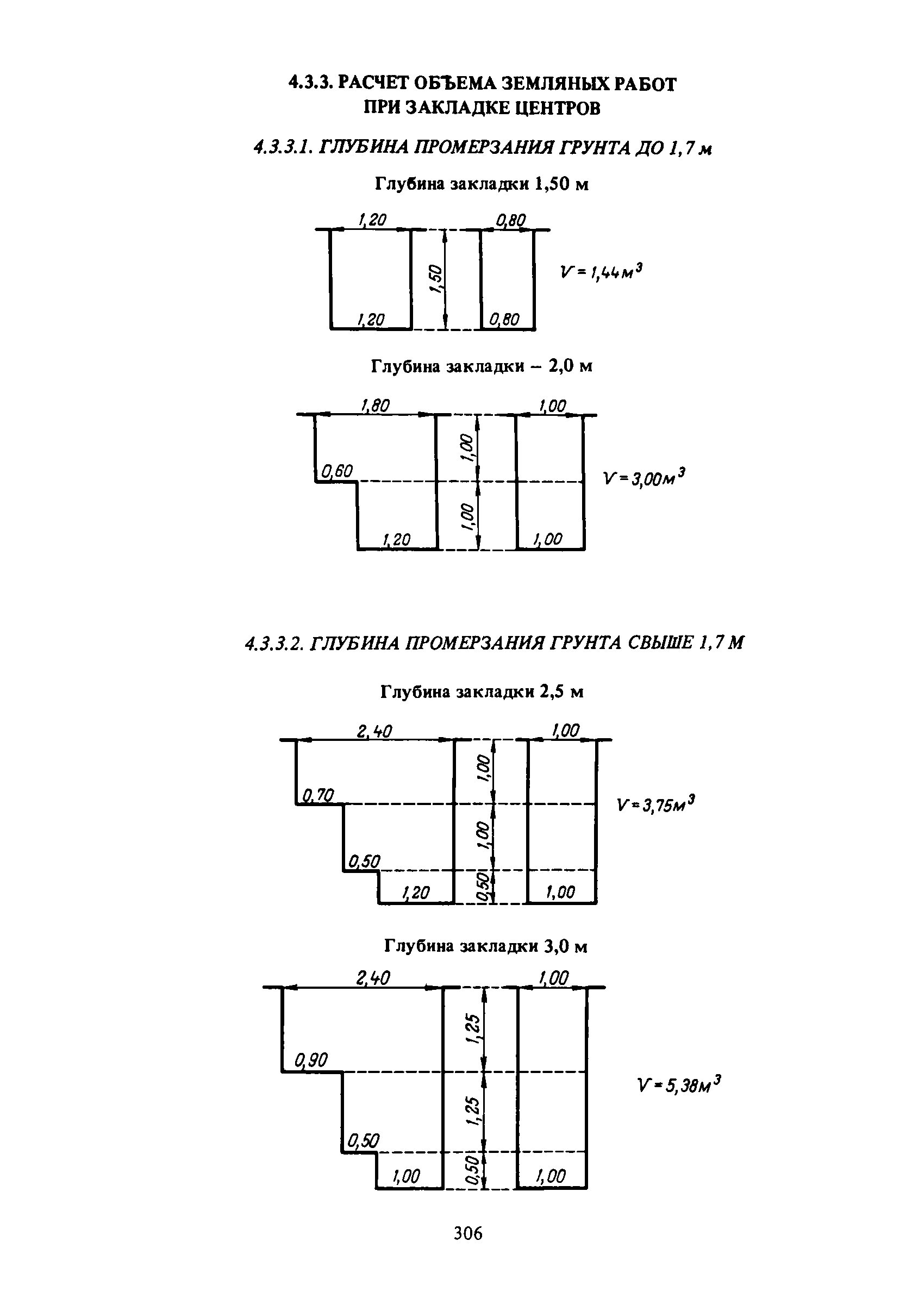
| Оглавление: | 1. Общая часть 2. Характеристика применяемых приборов, оборудования и технология работ 3. Организация труда 3.1. Триангуляция и полигонометрия 3.2. Нивелирование 3.3. Топографические съемки 3.4. Съемка подземных коммуникаций 3.5. Разбивочно-привязочные работы 3.6. Разные работы Приложение 1. Транспорт на полевых топографо-геодезических работах (на одну бригаду) Приложение 2. Продолжительность полевого периода в различных районах СССР Приложение 3. Расчет объемов земляных работ при постройке пунктов триангуляции (полигонометрии), закладке центров и реперов |
| Разработан: | ЦНИИГАиК |
| Утверждён: | 25.03.1989 Главное управление геодезии и картографии при Совете Министров СССР (National Administration for Geodesy and Cartography at the USSR Cabinet of Ministers 133) 25.01.1988 Государственный комитет СССР по труду и социальным вопросам (29/3-1) |
| Издан: | Издательство Экономика (1989 г. ) |
| Нормативные ссылки: |
|






























































































































































































































































































































