Скачать Руководство по ликвидации аварий на объектах производства, хранения, транспортирования и применения хлораДата актуализации: 01.01.2021 |
| Статус: | справочные материалы, мп, тпр |
| Название рус.: | Руководство по ликвидации аварий на объектах производства, хранения, транспортирования и применения хлора |
| Дата добавления в базу: | 01.01.2019 |
| Дата актуализации: | 01.01.2021 |
| Область применения: | В Руководстве рассмотрен порядок действия спецподразделений и производственного персонала по локализации и ликвидации аварийных ситуаций на производстве, при хранении (применении) и транспортировке хлора. |
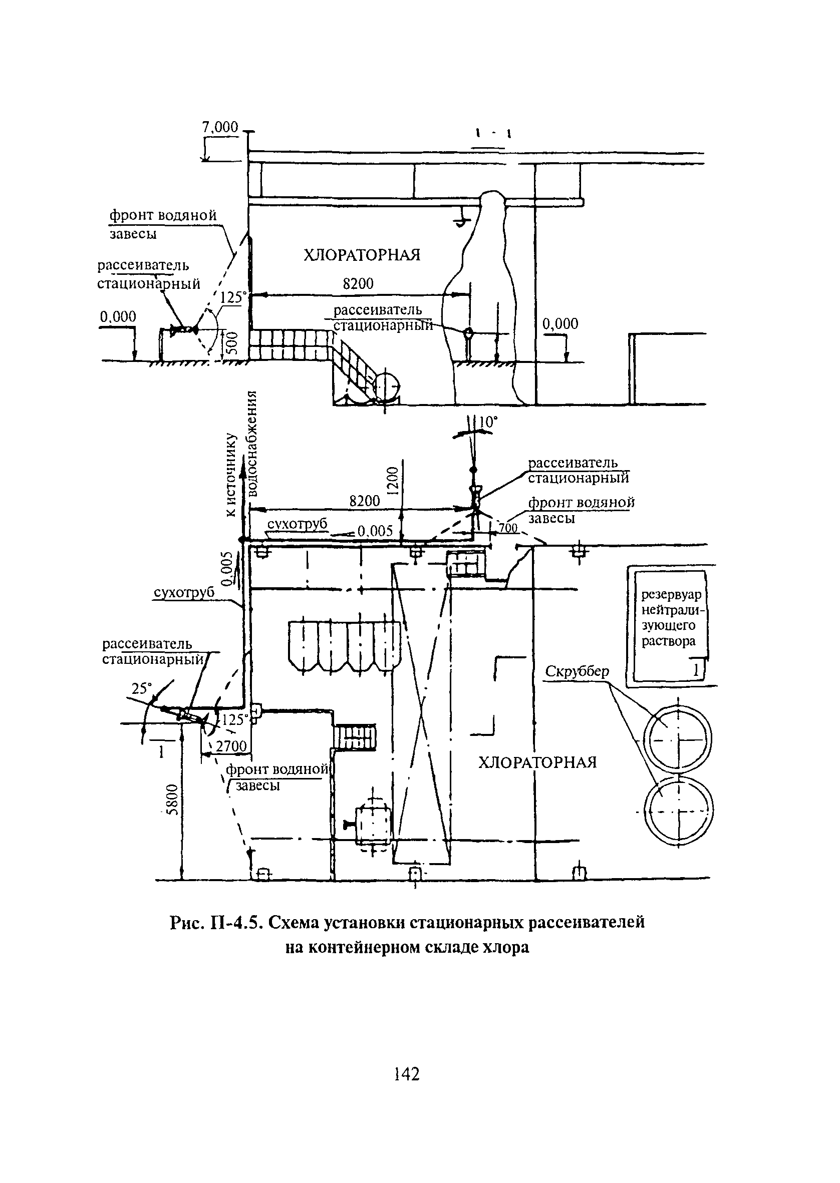
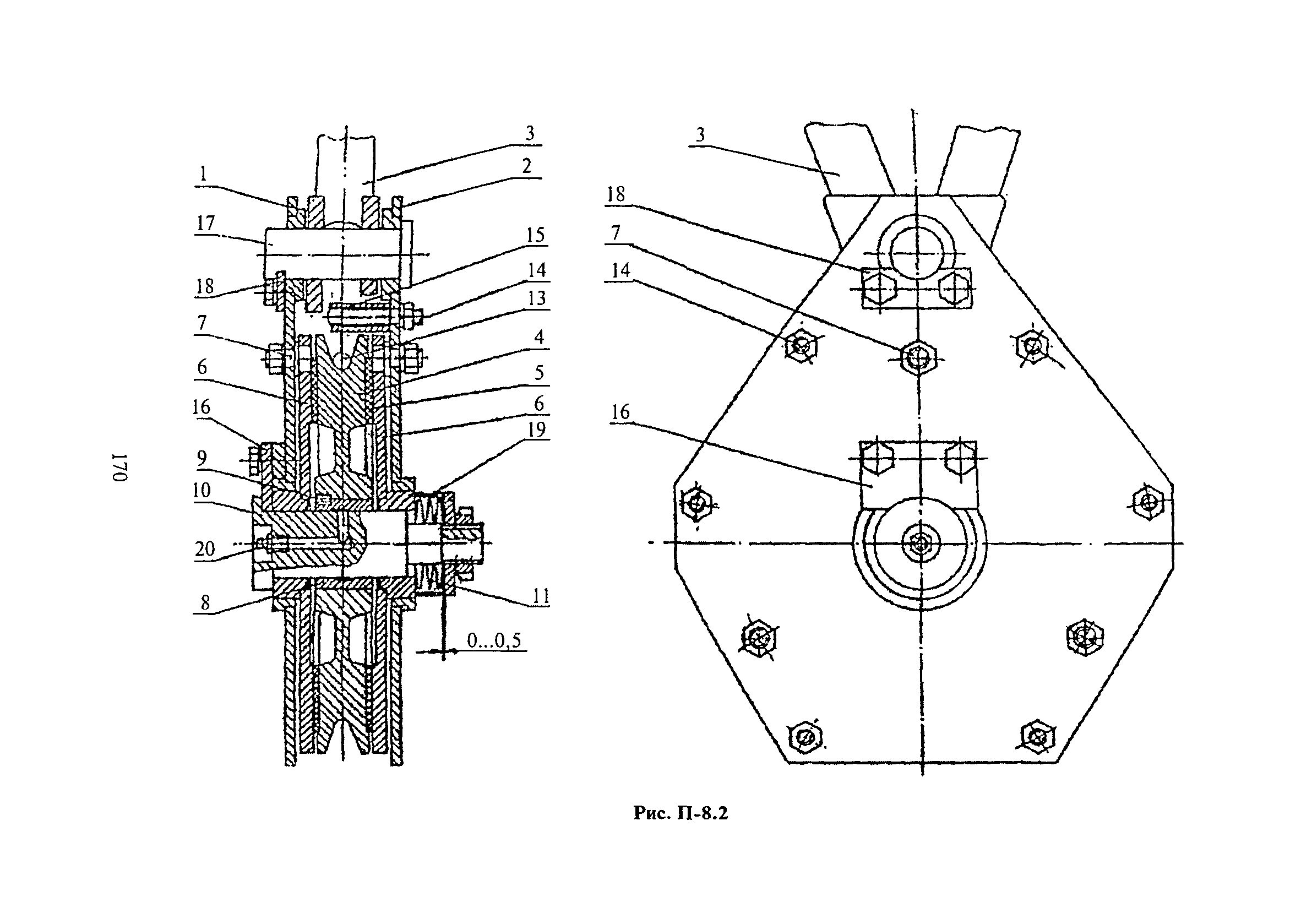
| Оглавление: | 1. Нормативно-правовое регулирование в области промышленной безопасности 2. Обязанности ответственного руководителя работ, исполнителей и других должностных лиц организации по локализации и ликвидации аварийных ситуаций 2.1. Общие положения 2.2. Обязанности ответственного руководителя 2.3. Обязанности технического руководителя организации 2.4. Обязанности диспетчера организации 2.5. Обязанности руководителя аварийно-спасательной службы 2.6. Обязанности начальника цеха, участка, установки, где произошла аварийная ситуация 2.7. Обязанности начальника смены (сменного мастера) цеха, в котором произошла аварийная ситуация 2.8. Обязанности заместителя начальника цеха (технолога цеха), в котором произошла аварийная ситуация 2.9. Обязанности мастеров, бригадиров, рабочих, аппаратчиков, операторов и другого персонала цеха, в котором произошла аварийная ситуация 2.10. Обязанности руководителей служб главного механика, главного энергетика, главного технолога, главного прибориста организации 2.11. Обязанности инженерно-технических работников, мастеров, бригадиров и рабочих других цехов 2.12. Обязанности начальника пожарной части организации 2.13. Обязанности работников медицинского пункта (здравпункта) организации 3. Основные причины возникновения аварийных ситуаций 4. Локализация и ликвидация аварий, сопровождающихся утечками хлора в окружающую среду 4.1. Общий порядок первоочередных действий при возникновении аварийных утечек при производстве, применении и хранении хлора в сосудах (танки, железнодорожные цистерны, контейнеры, баллоны) 4.2. Аварийные ситуации при производстве жидкого хлора и порядок действий по их устранению 4.3. Аварийные ситуации при применении и хранении хлора в сосудах большой единичной емкости (более 25 тонн) и порядок действий по их устранению 4.4. Аварийные ситуации у потребителей хлора в сосудах малой единичной емкости (контейнеры, баллоны) и порядок действий по их устранению 4.5. Локализация и ликвидация аварийных ситуаций при транспортировке хлора 4.5.1. Аварийные ситуации, связанные с утечкой хлора из контейнера или баллона при их транспортировке автомобильным транспортом, и способы их устранения 4.5.2. Аварийные ситуации, связанные с утечкой хлора из железнодорожной цистерны, контейнера, баллона при их перевозке железнодорожным транспортом, и порядок действий по их устранению 5. Порядок проведения работ по опорожнению и подготовке к утилизации аварийных контейнеров и баллонов с хлором 5.1. Организационно-технические мероприятия по подготовке объекта к проведению работ 5.2. Описание временной технологической схемы и принципы подбора технологического оборудования 5.3. Технология эвакуации и нейтрализации хлора из аварийных контейнеров и баллонов 5.4. Подготовка освобожденных от хлора контейнеров и баллонов к утилизации Приложение 1. Средства индивидуальной защиты Приложение 2. Устройства для устранения и локализации утечек хлора из аварийного оборудования и трубопроводов Приложение 3. Магнитные герметизирующие устройства Приложение 4. Рекомендации по локализации аварийных выбросов хлора Приложение 5. Устройство для устранения утечки хлора из предохранительного клапана Приложение 6. Коллекторно-шланговые системы (КШС) для локального отсоса хлора Приложение 7. Футляр для аварийной эвакуации хлора из дефектных баллонов Приложение 8. Кантователь бочки-контейнера для сжиженного хлора емкостью 800 л Приложение 9. Устройство для аварийной эвакуации хлора из дефектных контейнеров хлора из дефектных контейнеров Приложение 10. Устройство для эвакуации хлора из аварийных баллонов Приложение 11. Свойства хлора Приложение 12. Химизм процесса поглощения хлора и разложения гипохлорит-иона в водных растворах кальцинированной соды и тиосульфата натрия Приложение 13. Рекомендации по погрузочно-разгрузочным операциям с хлорными контейнерами и баллонами Приложение 14. Табель оснащения аварийными средствами объектов, связанных с производством, хранением и применением хлора Приложение 15. Приборы и системы индикации выбросов хлора |
| Издан: | Российский центр Хлорбезопасность (2010 г. ) |
| Нормативные ссылки: |
|



















































































































































































































