Скачать Руководство по проектированию вентиляции угольных шахт (редакция 1989 года)Дата актуализации: 01.01.2021 |
| Статус: | взамен |
| Название рус.: | Руководство по проектированию вентиляции угольных шахт (редакция 1989 года) |
| Дата добавления в базу: | 01.01.2019 |
| Дата актуализации: | 01.01.2021 |
| Область применения: | В Руководстве изложены порядок проектирования вентиляции шахт, методы определения ожидаемого газовыделения в горные выработки, выбора эффективных схем проветривания выемочных участков, тупиковых выработок и шахт, методики расчета расхода воздуха для проветривания горных выработок, выбора вентиляторов местного и главного проветривания, воздухонагревательных установок, определения устойчивости проветривания шахт и основные способы повышения ее при конструировании схем, анализа состояния проветривания шахт и др. Руководство предназначено для всех организаций, занимающихся составлением проектов новых и реконструируемых шахт, проектов подготовки новых горизонтов и на период строительства шахт, паспортов выемочных участков действующих шахт и расчетами расхода воздуха, необходимого для проветривания угольных шахт |
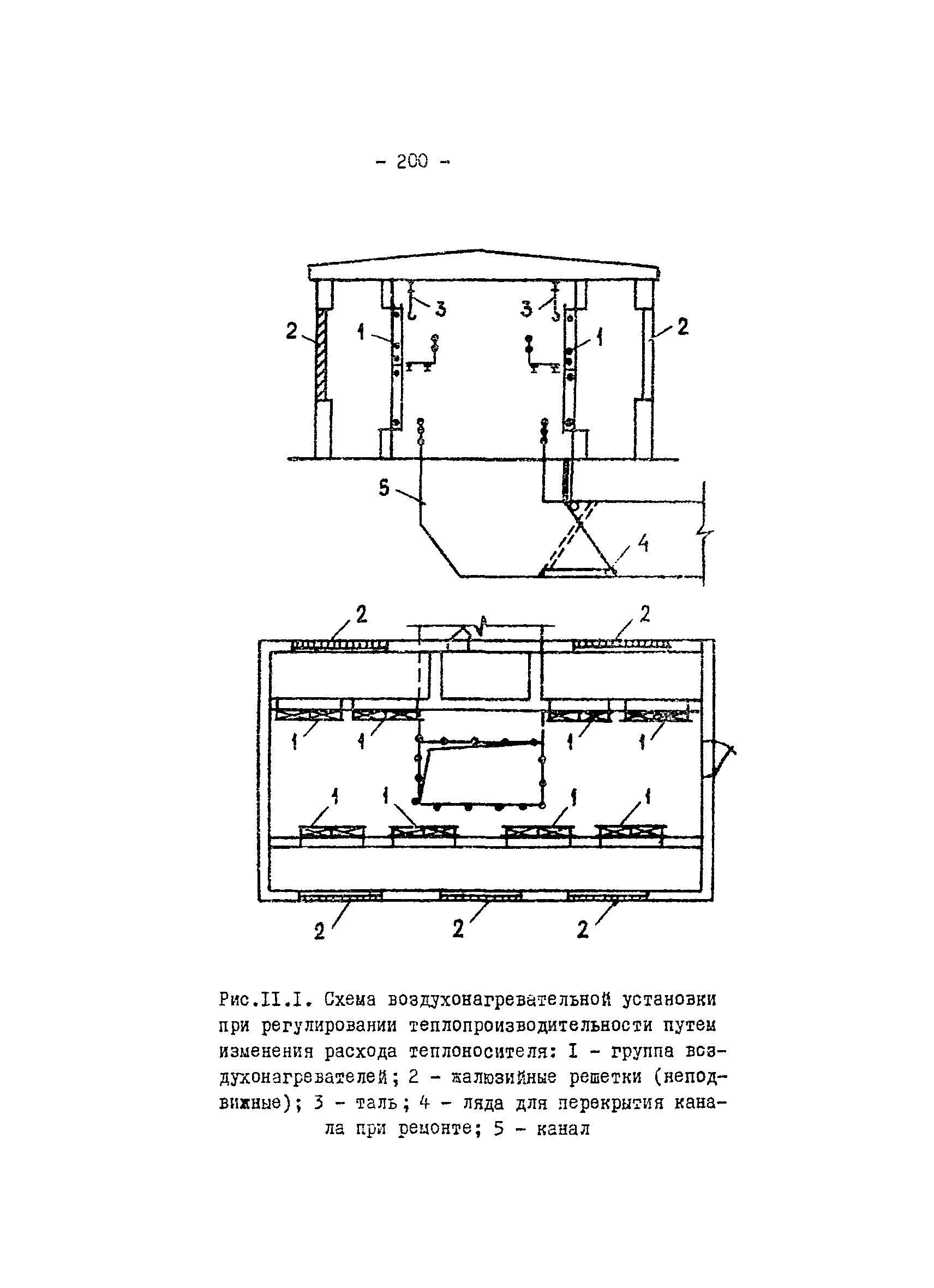
| Оглавление: | Основные условные обозначения 1. Общие положения 1.1. Геологоразведочные организация 1.2. Угольные шахты 1.3. Проектные организации 1.4. Научно-исследовательские институты и служба ВГСЧ 2. Порядок проектирования вентиляции угольных вахт 2.1. Проектирование вентиляции новых шахт и на период строительства 2.2. Проектирование вентиляции реконструируемых шахт и новых горизонтов на действующих шахтах 3. Прогноз метанообильности выработок угольных шахт 3.1. Прогноз метанообильности выработок по метаноносности угольных пластов 3.1.1. Метановыделение из разрабатываемого пласта 3.1.2. Метановыделение из сближенных угольных пластов (спутников) 3.1.3. Метановыделение из вмещающих пород 3.1.4. Метан обильность тупиковых выработок 3.1.5. Метановыделение при проведении вертикальных стволов 3.1.6. Определение относительной метанообильности шахты 3.2. Определение ожидаемой абсолютной газообильности выработок действующей шахты 3.2.1. Общие положения определения фактической газообильности горных выработок 3.2.2. Определение метанообильности тупиковых выработок 3.2.3. Определение газообильности очистных выработок и выемочных участков 3.2.4. Определение ожидаемого метановыделения очистной выработки и выемочного участка 3.2.5. Определение метанообильности шахты 4. Прогноз углекислотообильности горных выработок 4.1. Прогноз углекислотообильности горных выработок по степени метаморфизма углей 4.1.1. Углекислотообильность выемочного участка 4.1.2. Углекислотообильность тупиковых выработок 4.1.3. Углекислотообильность шахтопласта и шахты 4.2. Определение ожидаемой углекислотообильности выработок действующей шахты 4.2.1. Определение углекислотообильности очистных выработок и выемочных участков 4.2.2. Определение углекислотообильности тупиковых выработок 4.2.3. Определение углекислотообильности шахты 5. Способы и схемы проветривания шахт 5.1. Выбор схемы и способа проветривания шахты 5.2. Схемы проветривания выемочных участков 5.2.1. Требования к схемам проветривания выемочных участков 5.2.2. Классификация схем и область их применения 5.2.3. Проверка схем проветривания выемочных участков по опасности местных скоплений метана 5.2.4. Способы предупреждения образования местных скоплений метана 5.2.5. Оценка схем проветривания выемочных участков по фактору эндогенной пожароопасности 5.3. Схемы проветривания стволов и тупиковых выработок 6. Максимально допустимая нагрузка на очистную выработку по газовому фактору 6.1. Расчет максимально допустимой нагрузки на очистную выработку при проектировании новых шахт 6.1.1. Для очистных выработок типа лав по природной метаноносности угольных пластов 6.1.2. Для систем разработки с камерообразными выработками 6.2. Расчет максимально допустимой нагрузки на очистную выработку для действующих шахт 7. Расчет расхода воздуха для проветривания угольных шахт 7.1. Расчет расхода воздуха для шахты в целом 7.2. Расчет расхода воздуха для проветривания одиночных тупиковых выработок и вертикальных стволов 7.3. Расчет расхода воздуха для проветривания очистных выработок 7.4. Расход воздуха для проветривания выемочных участков 7.5. Расход воздуха для проветривания погашаемых и поддерживаемых выработок 7.6. Расход воздуха для проветривания камер 7.7. Утечки воздуха через вентиляционные сооружения 7.8. Выбор средств проветривания тупиковых выработок 7.9. Подача вентиляционной установки 7.10. Допустимые отклонения результатов измерений расхода воздуха от расчетных значений 8. Расчет депрессии шахты 8.1. Общешахтная депрессия 8.2. Размещение регуляторов расхода воздуха в горных выработках 9. Проектирование главных вентиляционных установок 9.1. Вентиляторы для одиночной работы 9.2. Вентиляторы для совместной работы 10. Устойчивость проветривания шахт 10.1. Основные понятия и определения 10.2. Определение устойчивости проветривания 10.2.1. Детальный расчет устойчивости 10.2.2. Определение устойчивости опытным путем 10.3. Основные пути повышения устойчивости проветривания 11. Воздухонагревательные (калориферные) установки 11.1. Общие технические требования к воздухонагревательным установкам 11.1.1. На период эксплуатации шахты 11.1.2. На период строительства шахты 11.2. Методика проектирования шахтных безвентиляторных и вентиляторных воздухонагревательных установок 12. Совершенствование вентиляции действующих шахт 13. Использование ЭВМ для расчета вентиляции угольных шахт Приложение 1. Классификация схем проветривания вентиляционных и выемочных участков Приложение 2. Определение параметров изолированного отвода метана из выработанного пространства и характеристика УСМ Приложение 3. Методика расчета технической возможности шахты по вентиляции Приложение 4. Аэродинамические характеристики вентиляторов Приложение 5. Примеры расчета расхода воздуха для проветривания шахты и нагрузки на очистной забой Приложение 6. Расчет депрессии канала вентиляционной и воздухонагревательной установки Приложение 7. Каталог значений коэффициентов аэродинамического сопротивления горных выработок Приложение 8. Определение устойчивости проветривания выемочного участка и оформление результатов проверки устойчивости |
| Разработан: | ВостНИИ (Восточный научно-исследовательский институт по безопасности работ в горной промышленности) ВНИИГМ им. М.М. Федорова Минуглепрома СССР Днепрогипрошахт Карагандагипрошахт Донгипрошахт ДонУГИ ИГД им. А.А. Скочинского ВНИИОМШС Сибгипрошахт МакНИИ |
| Утверждён: | 15.08.1989 Министерство угольной промышленности СССР (USSR Ministry of the Coal Industry ) |
| Принят: | 18.06.1989 Госгортехнадзор СССР (USSR Gosgortekhnadzor ) 04.06.1989 Госстрой СССР |
| Заменяет собой: |
|
| Нормативные ссылки: |
































































































































































































































































































































