Скачать Руководство по техническому обслуживанию и ремонту шахтных подъемных установокДата актуализации: 01.01.2021 |
| Статус: | справочные материалы, мп, тпр |
| Название рус.: | Руководство по техническому обслуживанию и ремонту шахтных подъемных установок |
| Дата добавления в базу: | 01.01.2019 |
| Дата актуализации: | 01.01.2021 |
| Область применения: | В Руководстве установлены виды технического обслуживания и ремонта (ТОР) оборудования шахтных подъемных установок, их объем и периодичность; изложена последовательность работ по ТОР и меры, обеспечивающие безопасность их выполнения; приведены технические требования к исправному оборудованию, перечень инструментов, запасных частей и материалов, средняя трудоемкость выполнения работ по ТОР и сведения о смазке оборудования; указаны возможные неисправности и методы их устранения. Руководство предназначено для обслуживающего и ремонтного персонала подъемных установок угольных шахт. |
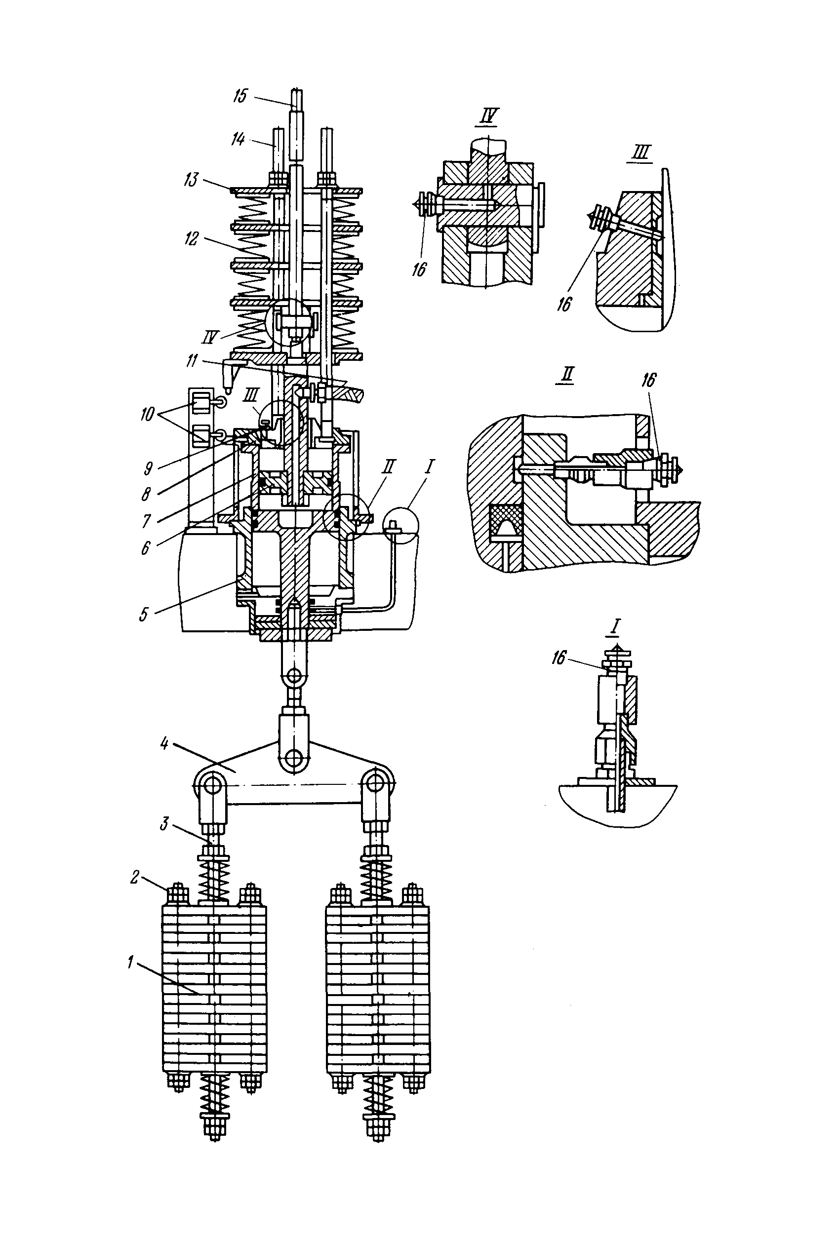
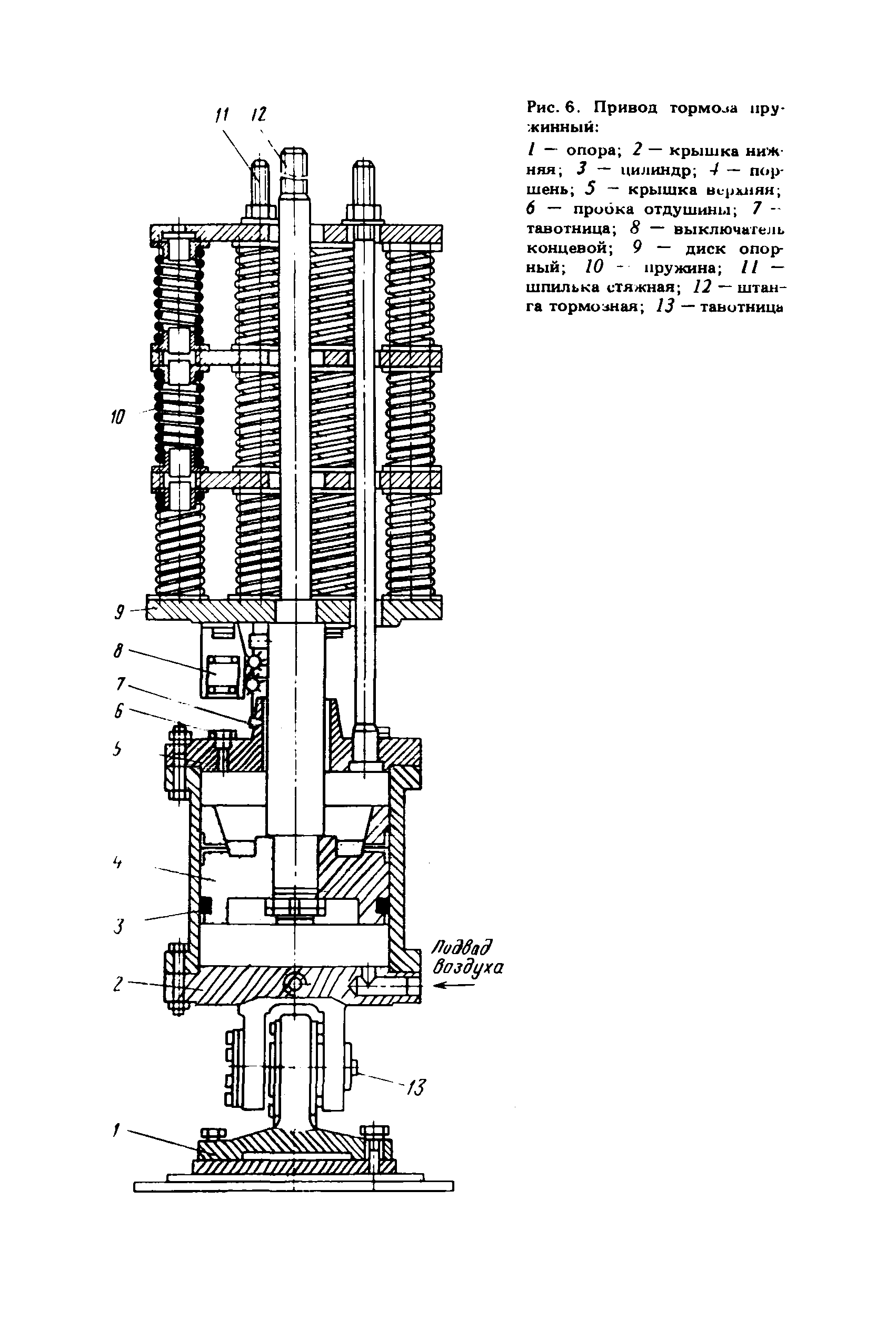
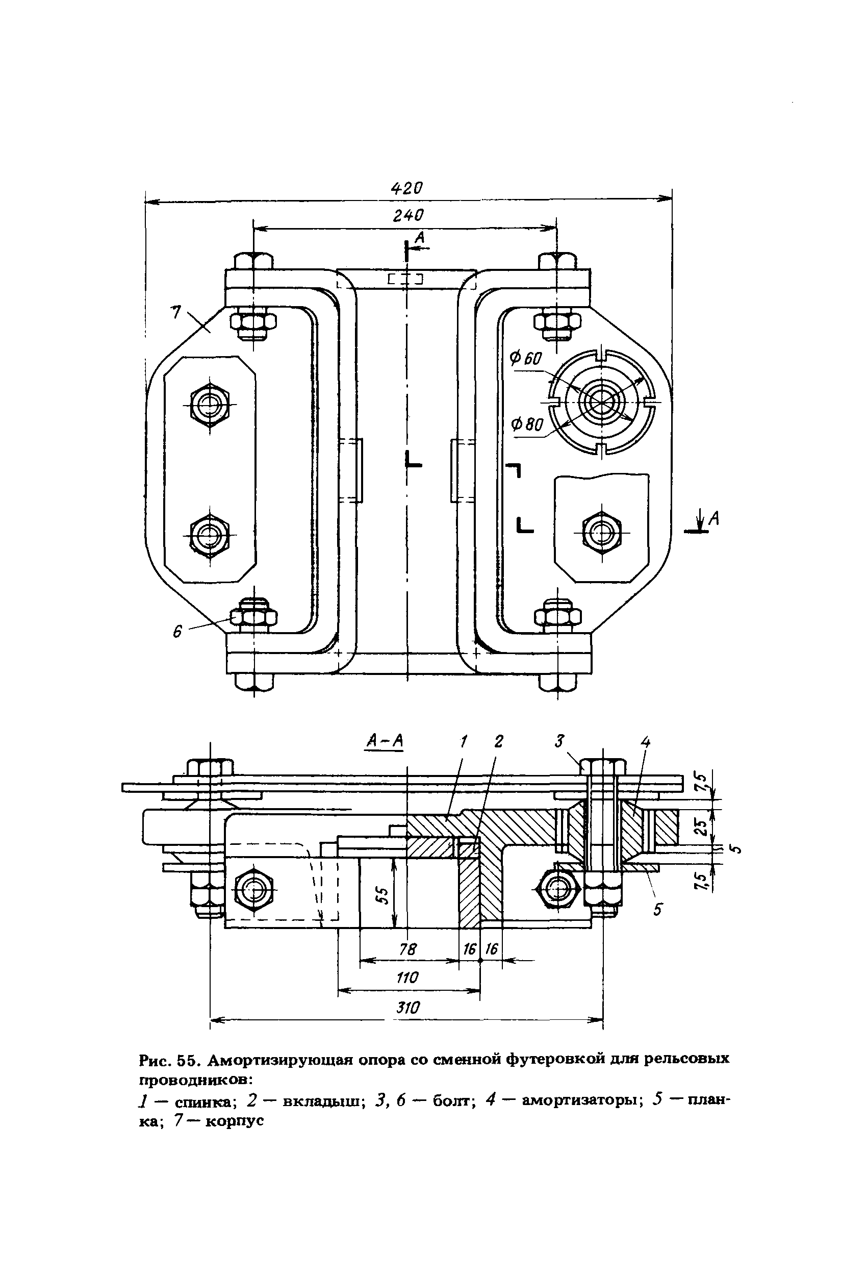
| Оглавление: | Введение Указания мер безопасности Общие положения Меры безопасности при техническом обслуживании и ремонте механического оборудования подъемной машины Меры безопасности при техническом обслуживании и ремонте электрического оборудования подъемной установки Меры безопасности при техническом обслуживании и ремонте оборудования вертикальных стволов Противопожарные мероприятия Состав подъемной установки Правила хранения оборудования шахтных подъемных установок Обеспечение оборудования подъемной установки смазочными материалами Техническое обслуживание н текущий ремонт Технологические карты технического обслуживания и ремонта оборудования шахтных подъемных установок с вертикальными стволами 11.1. Технологические карты технического обслуживания и ремонта механического оборудования шахтных подъемных машин 11.1.1. Ежесменное техническое обслуживание ТО-1 11.1.2. Ежесуточное техническое обслуживание ТО-2 11.1.3. Еженедельное техническое обслуживание ТО-3 11.1.4. Двухнедельное техническое обслуживание ТО-4 11.1.5. Ежемесячное ремонтное обслуживание РО1 11.1.7. Ежеквартальный текущий ремонт Т1 11.1.8. Полугодовой текущий ремонт Т2 11.1.9. Годовой текущий ремонт Т3 11.2. Технологические карты технического обслуживания и ремонта электрического оборудования шахтных подъемных машин 11.2.1. Ежесменное техническое обслуживание ТО-1 11.2.2. Ежесуточное техническое обслуживание ТО-2 11.2.3. Еженедельное техническое обслуживание ТО-З 11.2.4. Двухнедельное техническое обслуживание ТО-4 11.2.5. Ежемесячное ремонтное обслуживание РО1 11.2.8. Полугодовой текущий ремонт Т2 11.2.9. Годовой текущий ремонт Т3 11.3. Технологические карты технического обслуживания и ремонта оборудования вертикальных стволов 11.3.1. Ежесменное техническое обслуживание ТО-1 11.3.2. Ежесуточное техническое обслуживание ТО-2 11.3.3. Еженедельное техническое обслуживание ТО-З 11.3.4. Двухнедельное техническое обслуживание ТО-4 11.3.5. Ежемесячное ремонтное обслуживание РО1 11.3.6. Двухмесячное ремонтное обслуживание РО2 11.3.7. Ежеквартальный текущий ремонт Т1 11.3.8. Полугодовой текущий ремонт Т2 11.3.9. Годовой текущий ремонт Т3 Возможные неисправности и методы их устранения Возможные неисправности механического оборудования подъемной машины и методы их устранения Возможные неисправности электрического оборудования подъемных установок и методы их устранения Возможные неисправности оборудования вертикального шахтного ствола и методы их устранения Ревизия, наладка и испытание шахтной подъемной установки Список литературы |
| Разработан: | Всесоюзный научно-исследовательский институт горной механики им. М.М. Федорова |
| Утверждён: | 15.10.1980 Министерство угольной промышленности СССР (USSR Ministry of the Coal Industry ) |
| Издан: | Издательство Недра (1983 г. ) |
| Нормативные ссылки: |
|






























































































































































