Скачать Руководство по применению механизированных комплексов типа ОКП на пластах с углами падения до 35 градусов

Дата актуализации: 01.01.2021

Руководство по применению механизированных комплексов типа ОКП на пластах с углами падения до 35 градусов

Статус:справочные материалы, мп, тпр
Название рус.:Руководство по применению механизированных комплексов типа ОКП на пластах с углами падения до 35 градусов
Дата добавления в базу:01.01.2019
Дата актуализации:01.01.2021
Область применения:Руководство распространяется на комплексы 1ОКП и 2ОКП для пластов с углами падения, превышающими 12 градусов, и на комплексы 3ОКП, выпущенные по нескорректированным чертежам для пластов с углами падения, превышающими 20 градусов. Руководство предназначено для использования инженерно-техническими работниками угольной промышленности СССР, отражает специфику работы, основные мероприятия по улучшению эффективности и безопасности условий труда при работе механизированных комплексов ОКП на пластах с углами падения до 35 градусов с неустойчивыми и средней устойчивости породами кровли
Оглавление:Введение
1. Особенности применения механизированных комплексов ОКП на пластах с углами падения до 35 градусов
2. Технические решения для повышения работоспособности комплекса ОКП на пластах с углами падения до 35 градусов
3. Технология монтажных, демонтажных и очистных работ
4. Мероприятия по безопасному ведению очистных работ в лавах с механизированными комплексами ОКП на пластах с углами падения до 35 градусов
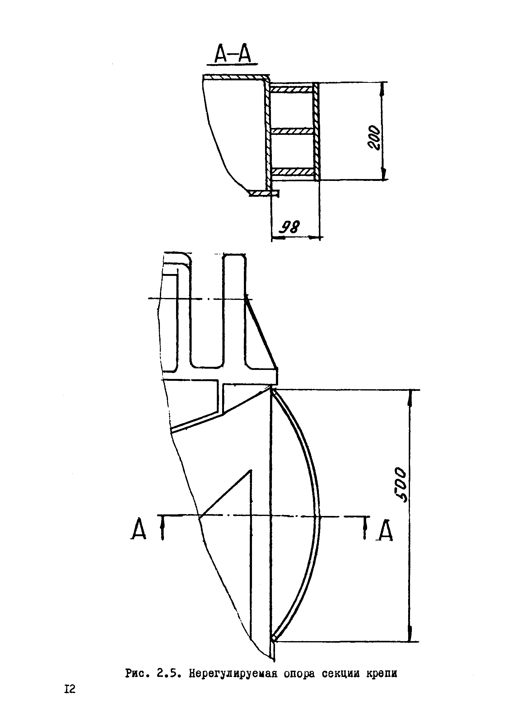
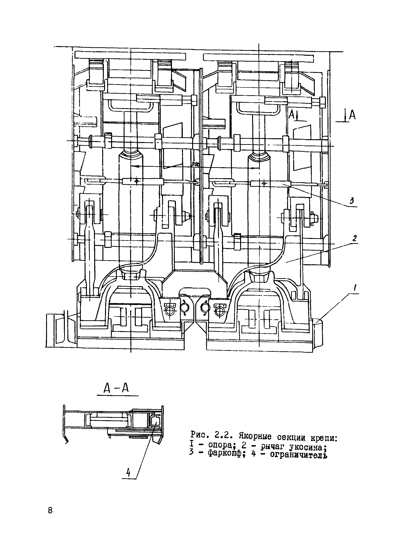
Приложение. Схемы выемки угля
Разработан: Институт горного дела им. А.А. Скочинского
КНИУИ
ПечорНИИпроект
КузНИУИ
ПО Карагандауголь
ПО Кузбассуголь
Утверждён:09.08.1976 Министерство угольной промышленности СССР (USSR Ministry of the Coal Industry )
Принят: Госгортехнадзор СССР (USSR Gosgortekhnadzor )
ЦК профсоюза рабочих угольной промышленности
Издан: ИГД им. А.А. Скочинского (1976 г. )